LEMON Manuals: Even more car manuals for everyone: 1960-2025
Home >> Acura >> 1998 >> 2.3CL Automatic >> Repair and Diagnosis >> External Pages >> Different car >> Section 19 (Traction Control) >> Component Tests >> Fail-Safe Relay & Meter Relay >> 1998 Models
April 5, 2026: LEMON Manuals is launched! Read the announcement.

1998 Models

WARNING: This page is about a different car, the 1998 Acura 3.5RL and 1997 Acura 3.5RL. However, it is still accessible from the selected car via links, so may be relevant.

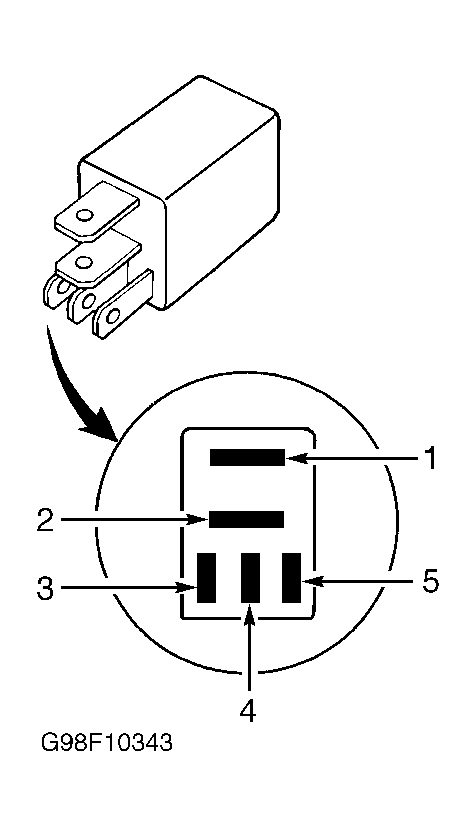
Remove relay from underhood relay block "C". See Figure and Fig 1 . With relay disconnected, use DVOM to check continuity between relay terminals No. 2 and 4. See Fig 3 . Continuity should exist. Apply battery voltage across terminals No. 3 and 5. Continuity should exist between terminals No. 1 and 2. If continuity is not as indicated, replace relay.

Fig 1: Identifying Underhood Relay Block "C"
G98E10912Courtesy of AMERICAN HONDA MOTOR CO., INC.
Fig 2: Identifying Fail-Safe Relay Terminals (1997 Models)
G98F10913Courtesy of AMERICAN HONDA MOTOR CO., INC.
Fig 3: Identifying Fail-Safe Relay Terminals (1998 Models)
G98F10343Courtesy of AMERICAN HONDA MOTOR CO., INC.