LEMON Manuals: Even more car manuals for everyone: 1960-2025
Home >> Acura >> 2000 >> NSX-T 3.2 NA2 >> Repair and Diagnosis >> Engine Performance >> System >> Engine Controls - System & Component Testing >> Variable Valve Timing >> VTEC Spool Valve
April 5, 2026: LEMON Manuals is launched! Read the announcement.

VTEC Spool Valve

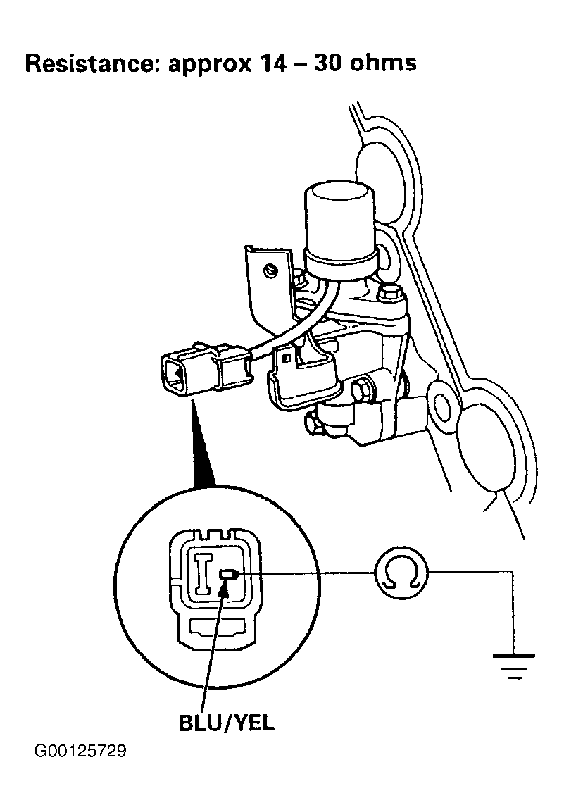
  1. Disconnect the 2 pin connector from the spool valve.Spool valves are located at the ends of the cylinder heads.
  2. Measure resistance between the Blue/Yellow terminal and body ground. Resistance should be approximately 14-30 ohms. See Fig 1 .
    Fig 1: Testing VTEC Spool Valve Resistance
    G00125729Courtesy of AMERICAN HONDA MOTOR CO., INC.
  3. If the resistance is within specifications, remove the spool valve assembly from the cylinder head and check the spool valve filter for clogging. If there is clogging, replace the engine oil filter and engine oil. See Fig 2 .
    Fig 2: Inspecting VTEC Spool Valve
    G00125721Courtesy of AMERICAN HONDA MOTOR CO., INC.
  4. If filters are normal, push the spool valve with your finger and check its movement. If spool valve is normal, check the engine oil pressure. See Fig 3 .
    Fig 3: Testing VTEC Spool Valve Operation
    G00125722Courtesy of AMERICAN HONDA MOTOR CO., INC.