LEMON Manuals: Even more car manuals for everyone: 1960-2025
Home >> Acura >> 2004 >> TL Standard >> Repair and Diagnosis >> Steering >> Power Steering >> Power Steering System >> Steering Gearbox Overhaul >> Exploded View >> Disassembly
April 5, 2026: LEMON Manuals is launched! Read the announcement.

Exploded View: Disassembly

  1. Remove the boot bands (A) and tie-rod clips (B). Pull the boot away from the ends of the steering gearbox.
    Fig 1: Removing Boot Bands And Tie-Rod Clip
    G03661038Courtesy of AMERICAN HONDA MOTOR CO., INC.
  2. Unbend the lock washer (A).
    Fig 2: Unbending Lock Washer
    G03661039Courtesy of AMERICAN HONDA MOTOR CO., INC.
  3. Hold the flat surface sections (A) of the steering rack with a wrench (B), and unscrew both rack ends (C) with another wrench (D). Be careful not to damage the rack surface with the wrench.
    Fig 3: Holding Flat Surface Sections Of Steering Rack With Wrench
    G03661040Courtesy of AMERICAN HONDA MOTOR CO., INC.
  4. Remove the lock washer (E) and stop rubber (F).
  5. Loosen the locknut (A), then remove the rack guide screw (B).
    Fig 4: Removing Rack Guide Screw
    G03661041Courtesy of AMERICAN HONDA MOTOR CO., INC.
  6. Remove the spring (C) and the rack guide (D) from the gearbox housing.
  7. Remove the cylinder lines from the gearbox.
    Fig 5: Removing Cylinder Lines
    G03661042Courtesy of AMERICAN HONDA MOTOR CO., INC.
  8. Drain the fluid from the cylinder fittings by slowly moving the steering rack back and forth.
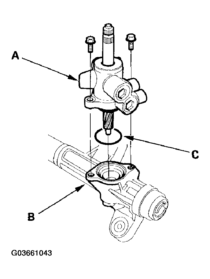
  9. Remove the two flange bolts, then remove the valve body unit (A) from the gearbox (B). Remove the O-ring (C), and discard it.
    Fig 6: Removing Valve Body Unit From Gearbox
    G03661043Courtesy of AMERICAN HONDA MOTOR CO., INC.
  10. Drill a 3 mm (0.12 in.) diameter hole about 2.5-3.0 mm (0.10-0.12 in.) in depth in the staked point (A) on the cylinder. Do not allow metal shavings to enter the cylinder housing. After removing the cylinder end (B), remove any burrs at the staked point.
    Fig 7: Drilling Hole In Depth In Staked Point On Cylinder
    G03661044Courtesy of AMERICAN HONDA MOTOR CO., INC.
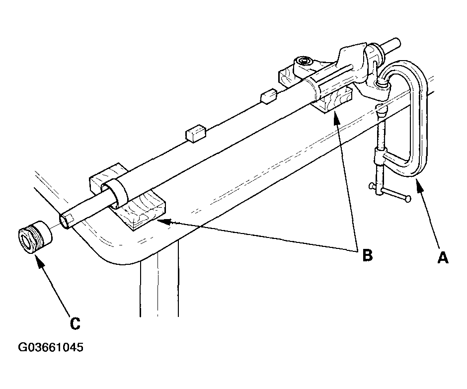
  11. Hold the gearbox housing using a C-clamp (commercially available) (A) and the wooden blocks (B) as shown. Do not clamp the cylinder part of the gearbox housing in the vise. Then remove the cylinder end (C).
    Fig 8: Holding Gearbox Housing Using A C-Clamp And Wooden Blocks
    G03661045Courtesy of AMERICAN HONDA MOTOR CO., INC.
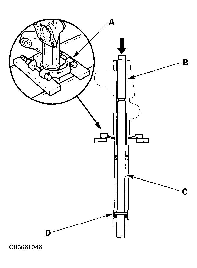
  12. Install a commercially available bearing separator (A) in the gearbox housing as shown in Fig 9.
    Fig 9: Installing Bearing Separator In Gearbox Housing
    G03661046Courtesy of AMERICAN HONDA MOTOR CO., INC.
  13. Place an appropriate size deep socket wrench (B) on the steering rack (C).
  14. Set the steering gearbox in a press so the gearbox housing side points upward, then press the cylinder end seal (D) and steering rack out of the gearbox. Hold the steering rack to keep it from falling when pressed clear. Be careful not to damage the inner surface of the cylinder housing with the tool.
  15. Install the special tool so it will fit through the rack guide hole of the gearbox housing. Insert a 24" long, 3/8" drive extension (A), and install it on the special tool. Make sure the special tool is securely positioned on the backup ring edges. Be careful not to damage the inner surface of the cylinder with the special tool.
    Fig 10: Fitting Special Tool Through Rack Guide Hole Of Gearbox Housing
    G03661047Courtesy of AMERICAN HONDA MOTOR CO., INC.
  16. Place the steering gearbox in a press, then remove the cylinder end seal (A) and backup ring (B) from the gearbox by pressing on the 24" long, 3/8" drive extension.

    Note these items when pressing the cylinder end seal:

    • Keep the tool straight to avoid damaging the cylinder wall. Check the tool angle, and correct it if necessary, when removing the cylinder end seal.
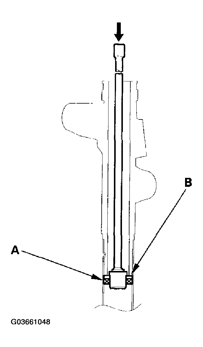
    • Use a press to remove the cylinder end seal. Do not try to remove the seal by striking the tool; striking the tool could break the backup ring, and the cylinder end seal would remain in the gearbox.
      Fig 11: Identifying Cylinder End Seal
      G03661048Courtesy of AMERICAN HONDA MOTOR CO., INC.
  17. Carefully pry the piston seal ring (A) and O-ring (B) off the rack piston. Be careful not to damage the inside of the seal ring groove and piston edges when removing the seal ring.
    Fig 12: Prying Piston Seal Ring And O-Ring Off Rack Piston
    G03661049Courtesy of AMERICAN HONDA MOTOR CO., INC.
  18. Before removing the valve housing (A), apply vinyl tape (B) to the splines on the pinion shaft.
    Fig 13: Applying Vinyl Tape To Splines
    G03661050Courtesy of AMERICAN HONDA MOTOR CO., INC.
  19. Separate the valve housing from the pinion shaft/ valve using a press.
  20. With your finger, check the inner wall of the valve housing where the seal ring slides. If there is a step in the wall, the housing is worn. Replace it.
    NOTE: There may be sliding marks from the seal ring on the wall of the valve housing. Replace the valve housing only if the wall is stepped.
    Fig 14: Checking Inner Wall Of Valve Housing
    G03661051Courtesy of AMERICAN HONDA MOTOR CO., INC.
  21. Check for wear, burrs, and other damage to the edges of the grooves in the sleeve.
    NOTE: The pinion shaft and sleeve are a precision matched set. If either the pinion shaft or sleeve must be replaced, replace both parts as a set.
    Fig 15: Checking For Wear, Burrs And Other Damage To Edges Of Grooves In Sleeve
    G03661052Courtesy of AMERICAN HONDA MOTOR CO., INC.
  22. Remove the snap ring (A) and sleeve (B) from the pinion shaft.
    Fig 16: Removing Snap Ring And Sleeve From Pinion Shaft
    G03661053Courtesy of AMERICAN HONDA MOTOR CO., INC.
  23. Using a cutter or an equivalent tool, cut and remove the four seal rings from the sleeve. Be careful not to damage the edges of the sleeve grooves and outer surface when removing the seal rings.
    Fig 17: Removing Seal Rings From Sleeve
    G03661054Courtesy of AMERICAN HONDA MOTOR CO., INC.
  24. Using a cutter or an equivalent tool, cut the valve seal ring (A) and O-ring (B) at the cutting groove position (C) in the pinion shaft. Remove the valve seal ring and O-ring. Be careful not to damage the edges of the pinion shaft groove and outer surface when removing the valve seal ring and O-ring.
    Fig 18: Cutting Valve Seal Ring And O-Ring
    G03661055Courtesy of AMERICAN HONDA MOTOR CO., INC.
  25. Remove the valve oil seal (A) and wave washer (B) from the pinion shaft.

    Note these items during disassembly:

    • Inspect the ball bearing (C) by rotating the outer race slowly. If there is any excessive play or wear, replace the pinion shaft and sleeve as an assembly.
    • The pinion shaft and sleeve are a precise fit; do not intermix old and new pinion shafts and sleeves.
      Fig 19: Removing Valve Oil Seal And Wave Washer From Pinion Shaft
      G03661056Courtesy of AMERICAN HONDA MOTOR CO., INC.
  26. Press the valve oil seal (A) and roller bearing (B) out of the valve housing using a hydraulic press and special tool.
    Fig 20: Pressing Valve Oil Seal And Roller Bearing Out Of Valve Housing
    G03661057Courtesy of AMERICAN HONDA MOTOR CO., INC.
  27. Clean the disassembled parts with solvent, and dry them with compressed air. Do not dip rubber parts in the solvent.