LEMON Manuals: Even more car manuals for everyone: 1960-2025
Home >> Acura >> 2007 >> TL Base >> Repair and Diagnosis (Single Page) >> Steering >> Power Steering >> Power Steering System >> Pump Overhaul >> Exploded View >> Disassembly
April 5, 2026: LEMON Manuals is launched! Read the announcement.

Exploded View: Disassembly

NOTE: Refer to the Exploded View as needed during the following procedure.
  1. Drain the fluid from the power steering pump (see FLUID CHECK/REPLACEMENT  ).
  2. Remove the power steering pump (see PUMP REPLACEMENT  ).
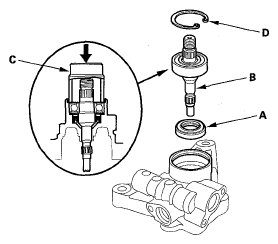
  3. Hold the power steering pump (A) in a vise with soft jaws (B), then hold the pulley (C) with the pulley holder (D), and remove the pulley nut (E) and pulley. Be careful not to damage the pump housing with the jaws of the vise.
    Fig 1: Holding Power Steering Pump In Vise With Soft Jaws
    G05461493Courtesy of AMERICAN HONDA MOTOR CO., INC.
  4. Remove the inlet joint and O-ring.
  5. Loosen the flow control valve cap with a hex wrench, and remove it and the O-ring, the spring, and the flow control valve.
  6. Remove the pump cover and pump cover seal.
  7. Remove the outer side plate, cam ring, rotor, vanes, side plate, and O-rings.
  8. Remove the snap ring, then remove the sub valve from the pump housing.
  9. Remove the snap ring, then remove the driveshaft by tapping the shaft end with a soft face hammer.
  10. Remove the pump seal from the pump housing.

    Inspection 

  11. Check the flow control valve for wear, burrs, and other damage to the edges of the grooves in the valve.
    Fig 2: Identifying Flow Control Valve
    G05461494Courtesy of AMERICAN HONDA MOTOR CO., INC.
  12. Inspect the bore of the flow control valve on the pump housing for scratches and wear.
  13. Slip the flow control valve back in the pump housing, and check that it moves in and out smoothly. If OK, go to step 14; if not, replace the pump as an assembly. The flow control valve (A) is not available separately.
    Fig 3: Inspecting Bore Of Flow Control Valve On Pump Housing
    G05461495Courtesy of AMERICAN HONDA MOTOR CO., INC.
  14. Attach a hose (A) to the end of the flow control valve (B) as shown. Then submerge the flow control valve in a container of power steering fluid or solvent (C), and apply compressed air in the hose.
    • If air bubbles leak through the valve at less than 98 kPa (1.0 kgf/cm2 , 14.2 psi), replace the pump as an assembly. The flow control valve is not available separately.
    • If the flow control valve is OK, set it aside for reassembly later.
      Fig 4: Applying Compressed Air In Hose
      G05461496Courtesy of AMERICAN HONDA MOTOR CO., INC.
  15. Inspect the ball bearing by rotating the outer race slowly. If you feel any play (axial or radial) or roughness remove the faulty ball bearing (A), and install a new one (B).
    Fig 5: Inspecting Ball Bearing By Rotating Outer Race Slowly
    G05461497Courtesy of AMERICAN HONDA MOTOR CO., INC.
  16. Inspect each part shown with an asterisk in the Exploded View. If any of them are worn or damaged, replace the pump as an assembly.

    Reassembly 

  17. Align the pin (A) of the sub valve (B) with the oil passage (C) in the pump housing, and push the sub valve into place, then install the snap ring (D).
    Fig 6: Aligning Pin Of Sub Valve With Oil Passage In Pump Housing
    G05461498Courtesy of AMERICAN HONDA MOTOR CO., INC.
  18. Install the new pump seal (A) (with its grooved side facing in) into the pump housing by hand first, then position the driveshaft (B) in the pump housing. Press the driveshaft and pump seal with the appropriate size socket wrench (C) as shown.
    Fig 7: Pressing Driveshaft And Pump Seal
    G05461499Courtesy of AMERICAN HONDA MOTOR CO., INC.
  19. Install the 40 mm snap ring (D) with its reduced edge facing out.
  20. Coat the new pump cover seal (A) with power steering fluid, and install it into the groove in the pump cover (B).
    Fig 8: Identifying Pump Cover Seal
    G05461500Courtesy of AMERICAN HONDA MOTOR CO., INC.
  21. Install the outer side plate (C) over the two roll pins (D) with its arrow marks stamped (E) facing down.
  22. Set the pump cam ring (A) over the two roll pins with its "■" mark (B) facing down.
    Fig 9: Identifying Pump Cam Ring
    G05461501Courtesy of AMERICAN HONDA MOTOR CO., INC.
  23. Install the rotor (A) to the pump cover (B) with its "■" mark (C) facing up.
    Fig 10: Setting Vanes In Grooves In Rotor
    G05461502Courtesy of AMERICAN HONDA MOTOR CO., INC.
  24. Set the 10 vanes (D) in the grooves in the rotor. Make sure that the round ends (E) of the vanes are in contact with the sliding surface of the cam ring.
  25. Coat the new 15.2 mm O-ring (A) with power steering fluid, and install it into the groove in the side plate (B).
    Fig 11: Identifying O-Ring Into Groove In Side Plate
    G05461503Courtesy of AMERICAN HONDA MOTOR CO., INC.
  26. Install the side plate on the cam ring (C) by aligning the roll pin set holes (D) in the side plate with the roll pins (E).
  27. Coat the new 51.0 mm O-ring (A) with power steering fluid, and position it in the bottom of the pump housing.
    Fig 12: O-Ring With Torque Specifications
    G05461504Courtesy of AMERICAN HONDA MOTOR CO., INC.
  28. Install the pump cover assembly (B) in the pump housing. Tighten the bolts to the specified torque alternating in two or more steps.
  29. Coat the flow control valve (A) with power steering fluid, then install it and the spring (B) in the pump housing.
    Fig 13: Flow Control Valve With Torque Specifications
    G05461505Courtesy of AMERICAN HONDA MOTOR CO., INC.
  30. Coat the new 16.7 mm O-ring (C) with power steering fluid, and install it on the flow control valve cap (D), then install the cap on the pump housing. Tighten it to the specified torque.
  31. Coat the new 13.0 mm O-ring (A) with power steering fluid, and install it on the inlet joint (B). Install the inlet joint on the pump housing.
    Fig 14: Inlet Joint On Pump Housing With Torque Specifications
    G05461506Courtesy of AMERICAN HONDA MOTOR CO., INC.
  32. Install the pulley (A), then loosely install the pulley nut (B). Hold the steering pump in a vise with soft jaws. Be careful not to damage the pump housing with the jaws of the vise.
    Fig 15: Holding Steering Pump In Vise With Soft Jaws With Torque Specifications
    G05461507Courtesy of AMERICAN HONDA MOTOR CO., INC.
  33. Hold the pulley with the pulley holder, and tighten the pulley nut to the specified torque.
  34. Check that the pump turns smoothly by turning the pulley by hand. If it is hard to turn, loosen the four flange bolts on the cover, then retighten them in the same manner as in step  28. Retest. If the pump is still hard to turn, replace the pump.
  35. Reinstall the power steering pump (see PUMP REPLACEMENT  ).