LEMON Manuals: Even more car manuals for everyone: 1960-2025
Home >> Acura >> 2013 >> TL Base >> Repair and Diagnosis >> Transmission >> Automatic Trans >> Automatic Transmission >> Transmission Installation
April 5, 2026: LEMON Manuals is launched! Read the announcement.

Transmission Installation

Special Tools Required 

*: Available through the Acura Tool and Equipment Program 888-424-6857.

NOTE: Use fender covers to avoid damaging painted surfaces.
  1. If you did not clean the ATF cooler after removing the transmission, and you are installing an overhauled or remanufactured transmission, clean the ATF cooler (see ATF COOLER CLEANING  ), failure to do this can cause a repeat transmission failure.
  2. Install a new O-ring (A) on the torque converter (B), then install the torque converter on the mainshaft (C).
    NOTE: Make sure the torque converter is fully engaged on the mainshaft, the stator shaft, and the ATF pump drive gear. Failure to do so will result in severe transmission or engine damage.
    Fig 1: Identifying O-Ring, Torque Converter, Dowel Pins And Mainshaft
    G08066528Courtesy of AMERICAN HONDA MOTOR CO., INC.
  3. Install the 14x20 mm dowel pin (D) and the 10x20 mm dowel pin (E) in the torque converter housing.
  4. Place the transmission on the jack, and raise it to the engine level.
  5. Attach the transmission to the engine, and install the lower transmission housing mounting bolts.

    Front side 

    Fig 2: Installing Lower Transmission Housing Mounting Bolts With Torque Specifications (Front Side)
    G08066529Courtesy of AMERICAN HONDA MOTOR CO., INC.

    Rear side 

    Fig 3: Installing Lower Transmission Housing Mounting Bolts With Torque Specifications (Rear Side)
    G08066530Courtesy of AMERICAN HONDA MOTOR CO., INC.
  6. Connect the crankshaft position (CKP) sensor connector (A), and install the CKP sensor cover (B).
    Fig 4: Crankshaft Position (CKP) Sensor Connector And CKP Sensor Cover With Torque Specifications
    G08066531Courtesy of AMERICAN HONDA MOTOR CO., INC.
  7. Install the front engine mount bracket with new bolts.
    Fig 5: Installing Front Engine Mount Bracket With New Bolts With Torque Specifications
    G08066532Courtesy of AMERICAN HONDA MOTOR CO., INC.
  8. Install a new set ring (A) on the intermediate shaft (B).
    Fig 6: Set Ring And Intermediate Shaft With Torque Specifications
    G08066533Courtesy of AMERICAN HONDA MOTOR CO., INC.
  9. Clean the areas where the intermediate shaft contacts the transmission (differential) with solvent, and dry with compressed air. Apply ATF to the intermediate shaft splines (C), then install the intermediate shaft, be sure not to allow dust or other foreign particles to enter the transmission.
    NOTE: Insert the intermediate shaft carefully to prevent damaging the oil seal (D).
  10. Install a new set ring (A) on the left driveshaft (B).
    Fig 7: Identifying Set Ring And Left Driveshaft
    G08066534Courtesy of AMERICAN HONDA MOTOR CO., INC.
  11. Clean the areas where the left driveshaft contacts the transmission (differential) with solvent, and dry with compressed air. Then install the left driveshaft, be sure not to allow dust or other foreign particles to enter the transmission. Turn the steering knuckle fully outward, and slide the driveshaft into the differential until you feel its set ring fully engages the side gear.
    NOTE: Insert the left driveshaft horizontally to prevent damaging the oil seal (C).
  12. Apply the recommended grease to the right driveshaft inboard joint splines (see FRONT DRIVESHAFT INSTALLATION ).
  13. Slide the right driveshaft over the intermediate shaft splines until you feel the driveshaft fully engages the intermediate shaft set ring.
  14. Set the subframe adapter (VSB02C000016) to the front subframe by looping the strap (A) over the front of the front subframe, then secure the strap with the stop (B), then tighten the wing nut (C).
    Fig 8: Identifying Strap, Stop And Wing Nut
    G08066535Courtesy of AMERICAN HONDA MOTOR CO., INC.
  15. Raise the front subframe up to the body, then loosely install new front subframe mounting bolts (A), the front stiffener mounting bolts (B), and new rear stiffener mounting bolts (C).
    Fig 9: Front Subframe Mounting Bolts, Front Stiffener Mounting Bolts And Rear Stiffener Mounting Bolts With Torque Specifications
    G08066536Courtesy of AMERICAN HONDA MOTOR CO., INC.
  16. Align the front subframe with the subframe alignment pin (see SUBFRAME REPLACEMENT ).
  17. Remove the jack and the subframe adapter.
  18. Replace the front subframe middle mount bolts, then tighten the bolts to the specified torque.
    Fig 10: Tightening Bolts To Specified Torque With Torque Specifications
    G08066537Courtesy of AMERICAN HONDA MOTOR CO., INC.
  19. Install the lower transmission mount bolts (A) and the transmission ground terminal bracket (B).
    Fig 11: Lower Transmission Mount Bolts And Transmission Ground Terminal Bracket With Torque Specifications
    G08066538Courtesy of AMERICAN HONDA MOTOR CO., INC.
  20. Attach the torque converter to the drive plate (A) with eight bolts (B). Rotate the crankshaft pulley as necessary to tighten the bolt to half of the specified torque, then to the final torque, in a crisscross pattern. After tightening the last bolt, check that the crankshaft rotates freely.
    Fig 12: Drive Plate, Torque Converter Cover And Bolts Of Transmission With Torque Specifications
    G08066539Courtesy of AMERICAN HONDA MOTOR CO., INC.
  21. Install the torque converter cover (C).
  22. Install the ball joints (A) to each lower arm (B).
    Fig 13: Ball Joints, Damper Fork Bolts, Nuts, Cotter Pins And Lower Arm With Torque Specifications
    G08066540Courtesy of AMERICAN HONDA MOTOR CO., INC.
  23. Install new damper fork mounting bolts (C) and nuts (D), and secure the ball joints with new castle nuts (E).
    NOTE: Do not install the cotter pin (F) onto the castle nut until the castle nut tightened to the specified torque.
  24. Install the tie-rod end ball joints (G) to the knuckles with nuts (H), and install new cotter pins (I).
  25. With SH-AWD: Install the dowel pin (A) in the transmission, and install the transfer assembly (B) on the transmission.
    Fig 14: Dowel Pin And Transfer Assembly With Torque Specifications
    G08066541Courtesy of AMERICAN HONDA MOTOR CO., INC.
  26. With SH-AWD: Connect the breather hose (A) over the breather pipe (B) with facing the dot mark (C) to the rear side of the vehicle, and install the breather hose to the clamp (D) at the dot mark (E).
    Fig 15: Identifying Breather Hose, Breather Pipe Dot Mark, Clamp And Dot Mark
    G08066542Courtesy of AMERICAN HONDA MOTOR CO., INC.
  27. With SH-AWD: Install the propeller shaft (see PROPELLER SHAFT INSTALLATION ).
  28. Install exhaust pipe A and the under-floor three way catalytic converter (TWC):
  29. Install the front subframe stiffener with new mounting bolts.
    Fig 16: Installing Front Subframe Stiffener With Mounting Bolts With Torque Specifications
    G08066543Courtesy of AMERICAN HONDA MOTOR CO., INC.
  30. Connect the ATF cooler hoses (A) to the ATF cooler lines (B), then secure the hoses with the clips (C) (see ATF COOLER HOSE REPLACEMENT  ).
    Fig 17: Identifying ATF Cooler Lines And Hoses And Clips
    G08066544Courtesy of AMERICAN HONDA MOTOR CO., INC.
  31. Connect the ATF cooler hoses (A) to the ATF cooler lines (B), then secure the hoses with the clips (C) (see ATF COOLER HOSE REPLACEMENT  ).
    Fig 18: ATF Cooler Hoses And Lines And Clips
    G08066545Courtesy of AMERICAN HONDA MOTOR CO., INC.
  32. Connect the input shaft (mainshaft) speed sensor connector (A) and the output shaft (countershaft) speed sensor connector (B), then install the harness clamps (C).
    Fig 19: Identifying Input And Output Shaft Speed Sensor Connector And Harness Clamps
    G08066546Courtesy of AMERICAN HONDA MOTOR CO., INC.
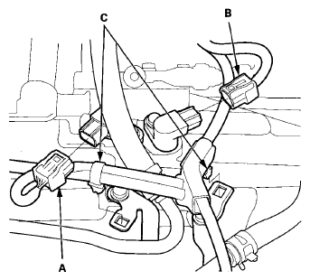
  33. Connect the transmission fluid pressure switch C (4th clutch) connector (A), then install the harness clamp (B).
    Fig 20: Identifying Transmission Fluid Pressure Switch C Connector And Harness Clamp
    G08066547Courtesy of AMERICAN HONDA MOTOR CO., INC.
  34. Connect the ATF temperature sensor connector (A), then install the harness clamp (B).
    Fig 21: Identifying ATF Temperature Sensor Connector And Harness Clamp
    G08066548Courtesy of AMERICAN HONDA MOTOR CO., INC.
  35. Connect the EPS connectors (A) and install the harness clamps (B).
    Fig 22: Identifying EPS Connectors And Harness Clamps
    G08066549Courtesy of AMERICAN HONDA MOTOR CO., INC.
  36. Install new upper transmission housing mounting bolts.
    Fig 23: Installing Upper Transmission Housing Mounting Bolts With Torque Specifications
    G08066550Courtesy of AMERICAN HONDA MOTOR CO., INC.
  37. Install new upper transmission mount bracket bolts (A) (B), and install the bolt (C) securing the clamp bracket.
    NOTE: If bolt (D) was removed by mistake during removal, the upper transmission mount bracket must be replaced as an assembly.
    Fig 24: Mount Bracket And Bolts With Torque Specifications
    G08066551Courtesy of AMERICAN HONDA MOTOR CO., INC.
  38. Install a new rear engine mount bolt (A), then install the rear engine mount stop (B) and the heat shield (C) with new nuts (D).
    Fig 25: Rear Engine Mount Bolt, Rear Engine Mount Stop And Heat Shield Nuts With Torque Specifications
    G08066552Courtesy of AMERICAN HONDA MOTOR CO., INC.
  39. Install a new front engine mount bolt (A), then install the front engine mount stop (B) and the clamp bracket (C) with new nuts (D).
    Fig 26: Front Engine Mount Stop And Bolt, Vacuum Pipe And Hose And Clamp Bracket Nuts With Torque Specifications
    G08066553Courtesy of AMERICAN HONDA MOTOR CO., INC.
  40. Install the vacuum hose (E) to the vacuum pipe (F), and install the vacuum pipe on its clamp (G).
  41. Remove the engine support hanger, the engine hanger balance bar, and the 2008 V6 attachment arm.
  42. Install the connector bracket to the front cylinder head.
    Fig 27: Installing Connector Bracket To Front Cylinder Head With Torque Specifications
    G08066554Courtesy of AMERICAN HONDA MOTOR CO., INC.
  43. Install the engine mount control solenoid valve bracket to the rear cylinder head, then install the harness clamp (A).
    Fig 28: Harness Clamp And Vacuum Hose With Torque Specifications
    G08066555Courtesy of AMERICAN HONDA MOTOR CO., INC.
  44. Connect the vacuum hose (B).
  45. Connect the transmission fluid pressure switch A (2nd clutch) connector (A) and the transmission fluid pressure switch D (5th clutch) connector (B).
    Fig 29: Identifying Transmission Fluid Pressure Switch A Connector And Transmission Fluid Pressure Switch D Connector
    G08066556Courtesy of AMERICAN HONDA MOTOR CO., INC.
  46. Install the harness cover bracket (A).
    Fig 30: Installing Harness Cover Bracket With Torque Specifications
    G08066557Courtesy of AMERICAN HONDA MOTOR CO., INC.
  47. Install the bolt (A) securing the harness cover (B), and install the harness clamp (C).
    Fig 31: Bolt, Harness Cover And Harness Clamp With Torque Specifications
    G08066558Courtesy of AMERICAN HONDA MOTOR CO., INC.
  48. Connect these connectors:
    • A/T clutch pressure control solenoid valve A connector (D)
    • A/T clutch pressure control solenoid valve B connector (E)
    • A/T clutch pressure control solenoid valve C connector (F)
    • A/T clutch pressure control solenoid valve D connector (G)
    • Transmission fluid pressure switch B (3rd clutch) connector (H)
    • Transmission fluid pressure switch E (6th clutch) connector (I)
    • Line pressure switch connector (J)
    • Transmission range switch connector (K)
  49. Install the harness clamps (A).
    Fig 32: Identifying Solenoid Valve A, B And C Connectors And Line Pressure Solenoid Valve A Connector
    G08066559Courtesy of AMERICAN HONDA MOTOR CO., INC.
  50. Connect these connectors:
    • Shift solenoid valve A connector (B)
    • Shift solenoid valve B connector (C)
    • Shift solenoid valve C connector (D)
    • Line pressure solenoid valve A connector (E)
  51. Install the shift cable bracket (A).
    Fig 33: Installing Shift Cable Bracket With Torque Specifications
    G08066560Courtesy of AMERICAN HONDA MOTOR CO., INC.
  52. Apply molybdenum grease to the hole in the bushing (A) in the shift cable end (B).
    Fig 34: Identifying Bushing, Shift Cable End, Control End, Control Pin And Spring Clip
    G08066561Courtesy of AMERICAN HONDA MOTOR CO., INC.
  53. Attach the shift cable end to the control lever (C), then insert the control pin (D) into the control lever hole through the shift cable end, and secure the control pin with the spring clip (E).
  54. Install the clamp bracket (A), and install the harness clamp (B).
    Fig 35: Clamp Bracket And Harness Clamp With Torque Specifications
    G08066562Courtesy of AMERICAN HONDA MOTOR CO., INC.
  55. Install the bolt (A) securing the harness cover (B) and install the harness clamp (C).
    Fig 36: Harness Cover And Clamp And Bolts With Torque Specifications
    G08066563Courtesy of AMERICAN HONDA MOTOR CO., INC.
  56. Install the clamp bracket (D).
  57. Install the starter (see STARTER REMOVAL AND INSTALLATION ) and install the ATF dipstick.
  58. Loosen the upper steering joint bolt (A), and slip the lower end of the steering joint (B) onto the pinion shaft (C).
    Fig 37: Identifying Upper Steering Bolts, Lower End Housing Steering Joint And Pinion Shaft
    G08066564Courtesy of AMERICAN HONDA MOTOR CO., INC.
  59. Align the bolt hole (D) on the steering joint with the groove (E) around the pinion shaft, then loosely install the lower steering joint bolt (F). Be sure that the joint bolt is securely in the groove in the pinion shaft.
  60. Remove the steering wheel holder tool (A).
    Fig 38: Removing Steering Wheel Holder Tool
    G08066565Courtesy of AMERICAN HONDA MOTOR CO., INC.
  61. Tighten the upper and lower steering joint bolts (A) to the specified torque.
    Fig 39: Upper And Lower Steering Joint Bolts And Steering Joint Cover With Torque Specifications
    G08066566Courtesy of AMERICAN HONDA MOTOR CO., INC.
  62. Install the steering joint cover (B).
  63. Install the strut brace (see FRAME BRACE REPLACEMENT ). Loosely install the strut brace mounting nuts.
  64. Refill the transmission with ATF (see ATF REPLACEMENT  ).
  65. Install the air cleaner (see THROTTLE BODY CLEANING ).
  66. Do the battery installation procedure (see BATTERY REMOVAL AND INSTALLATION ).
  67. Place a floor jack under the lower arm, and raise the front suspension to load it with the vehicle's weight. Do not place the jack against the ball joint pin of the knuckle. Tighten the damper fork mounting nuts while holding the mounting bolt to 64 N.m (6.5 kgf.m, 47 lbf.ft)
  68. Tighten the ball joint mounting castle nuts to 93 - 103 N.m (9.5 - 10.5 kgf.m, 69-75.9 lbf.ft), then install new cotter pins onto the castle nuts, then bend the cotter pin ends (see LOWER ARM REMOVAL/INSTALLATION ).
  69. Tighten the strut brace mounting nuts to 22 N.m (2.2 kgf.m, 16 lbf.ft).
  70. Install the engine compartment covers (see ENGINE COMPARTMENT COVER REPLACEMENT ).
  71. Reinstall the hood support struts to the upper location on both sides of the hood.
  72. Install the front splash shield (see FRONT SPLASH SHIELD REPLACEMENT ).
  73. Install the front wheels.
  74. Set the parking brake. Start the engine, and shift the transmission through all positions three times. Check the shift lever operation, the A/T gear position indicator operation, and the shift cable adjustment (see SHIFT CABLE ADJUSTMENT  ).
  75. Check the front wheel alignment (see WHEEL ALIGNMENT ).
  76. Start the engine in P or N, and warm it up to normal operating temperature (the radiator fan comes on).
  77. Turn off the engine, and Check the ATF level (see ATF LEVEL CHECK  ).
  78. Do the road test (see ROAD TEST  ).