LEMON Manuals: Even more car manuals for everyone: 1960-2025
Home >> Cadillac >> 2004 >> CTS Base, 3.2 N >> Repair and Diagnosis >> Engine Performance >> System >> Engine Controls - 2.6L & 3.2L - Introduction >> Component Locator >> Engine Controls Component Views
April 5, 2026: LEMON Manuals is launched! Read the announcement.

Engine Controls Component Views

Fig 1: ECM, Ignition Coils and Throttle Body Assembly Component View
GM1378796Courtesy of GENERAL MOTORS CORP.
Callout Component Name
1 Ignition Coil Bank 1
2 Ignition Coil Bank 1 Connector
3 Ignition Coil Bank 2 Connector
4 Ignition Coil Bank 2
5 Throttle Body Assembly
6 Throttle Body Assembly Connector
7 Engine Control Module (ECM) Connector C2
8 Engine Control Module (ECM) Connector C1
9 Engine Control Module (ECM) Case Ground
10 Engine Control Module (ECM)
Fig 2: IMRC, IMTV Solenoids and MAF Sensor Component View
GM1378799Courtesy of GENERAL MOTORS CORP.
Callout Component Name
1 Intake Manifold Runner Control (IMRC) Solenoid
2 Intake Manifold Runner Control (IMRC) Solenoid Connector
3 Mass Air Flow (MAF) and Intake Air Temperature (IAT) Sensor Connector
4 Mass Air Flow (MAF) and Intake Air Temperature (IAT) Sensor
5 Intake Manifold Tuning Valve (IMTV) Solenoid Connector
6 Intake Manifold Tuning Valve (IMTV) Solenoid
Fig 3: Crankshaft Position (CKP) and Camshaft Position (CMP) Sensors Component View
GM1378802Courtesy of GENERAL MOTORS CORP.
Callout Component Name
1 Crankshaft Position (CKP) Sensor Connector
2 Crankshaft Position (CKP) Sensor
3 Camshaft Position (CMP) Sensor
4 Camshaft Position (CMP) Sensor Connector
Fig 4: Knock Sensors Component View
GM1378804Courtesy of GENERAL MOTORS CORP.
Callout Component Name
1 Knock Sensor (KS) Bank 1 Connector
2 Knock Sensor (KS) Bank 2 Connector
3 Knock Sensor (KS) Bank 2
4 Knock Sensor (KS) Bank 1
Fig 5: Heated Oxygen Sensors Component View (HO2S) (1 of 2)
GM1378806Courtesy of GENERAL MOTORS CORP.
Callout Component Name
1 Heated Oxygen Sensor (HO2S) Bank 1 Sensor 1 Connector
2 Heated Oxygen Sensor (HO2S) Bank 2 Sensor 1 Connector
3 Heated Oxygen Sensor (HO2S) Bank 2 Sensor 1
4 Heated Oxygen Sensor (HO2S) Bank 1 Sensor 1
Fig 6: Heated Oxygen Sensors Component View (HO2S) (2 of 2)
GM1378811Courtesy of GENERAL MOTORS CORP.
Callout Component Name
1 Heated Oxygen Sensor (HO2S) Bank 1 Sensor 2
2 Heated Oxygen Sensor (HO2S) Bank 1 Sensor 2 Connector
3 Heated Oxygen Sensor (HO2S) Bank 2 Sensor 2 Connector
4 Heated Oxygen Sensor (HO2S) Bank 2 Sensor 2
Fig 7: EVAP Canister Purge Solenoid Valve, ECT and EOP Sensors Component View
GM1378813Courtesy of GENERAL MOTORS CORP.
Callout Component Name
1 EVAP Canister Purge Solenoid Valve Connector
2 EVAP Canister Purge Solenoid Valve
3 Engine Coolant Temperature (ECT) Sensor Connector
4 Engine Coolant Temperature (ECT) Sensor
5 Engine Oil Pressure (EOP) Sensor
6 Engine Oil Pressure (EOP) Sensor Connector
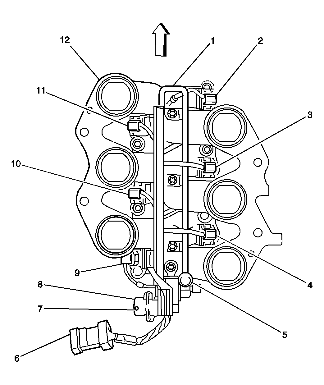
Fig 8: Top of the Engine Component View - Fuel Rail and Injectors
GM803104Courtesy of GENERAL MOTORS CORP.
Callout Component Name
1 Fuel Rail
2 Fuel Injector 1
3 Fuel Injector 3
4 Fuel Injector 5
5 Fuel Pressure Service Port
6 C112
7 Fuel Pressure Regulator Atmosphere Vent Port
8 Fuel Pressure Regulator
9 Fuel Injector 6
10 Fuel Injector 4
11 Fuel Injector 2
12 Intake Manifold (Bottom View)
Fig 9: After Boil Coolant Pump and Coolant Bypass Valve Solenoid Component View
GM1378819Courtesy of GENERAL MOTORS CORP.
Callout Component Name
1 Engine Control Module (ECM)
2 After Boil Coolant Pump Connector
3 After Boil Coolant Pump
4 Coolant Bypass Valve Solenoid Connector
5 Coolant Bypass Valve Solenoid
6 Radiator (Upper Right Corner)
Fig 10: Brake Pedal, Accelerator Pedal, BPP and APP Sensors
GM1334064Courtesy of GENERAL MOTORS CORP.
Callout Component Name
1 Accelerator Pedal Position (APP) Sensor
2 Accelerator Pedal
3 Brake Pedal
4 Brake Pedal Position (BPP) Sensor
Fig 11: Transmission Control Module Component View (TCM) (w/M82)
GM1334163Courtesy of GENERAL MOTORS CORP.
Callout Component Name
1 Fuse Block - Underhood
2 Transmission Control Module (TCM)
Fig 12: EVAP Canister Vent Solenoid Valve Component View
GM1378817Courtesy of GENERAL MOTORS CORP.
Callout Component Name
1 EVAP Canister
2 EVAP Canister Vent Solenoid Valve Connector
3 EVAP Canister Vent Solenoid Valve
Fig 13: Fuel Tank Subsystem Components View
GM1378267Courtesy of GENERAL MOTORS CORP.
Callout Component Name
1 Secondary Fuel Sender Assembly
2 Secondary Fuel Sender Assembly Connector
3 Secondary Fuel Sender Assembly (Removed from Fuel Tank)
4 Fuel Pump and Sender Assembly (Removed from Fuel Tank)
5 Fuel Pump and Sender Assembly
6 Fuel Pump and Sender Assembly Connector
7 Fuel Tank Pressure Sensor
8 Fuel Tank Pressure Sensor Connector
Fig 14: Battery & C101 Component Views
GM1552989Courtesy of GENERAL MOTORS CORP.
Callout Component Name
1 C101
2 Battery