LEMON Manuals: Even more car manuals for everyone: 1960-2025
Home >> Cadillac >> 2004 >> CTS Base, 3.2 N >> Repair and Diagnosis >> Engine Performance >> System >> Engine Controls - 2.6L & 3.2L - Introduction >> Description and Operation >> Fuel System Description >> System Overview
April 5, 2026: LEMON Manuals is launched! Read the announcement.

System Overview

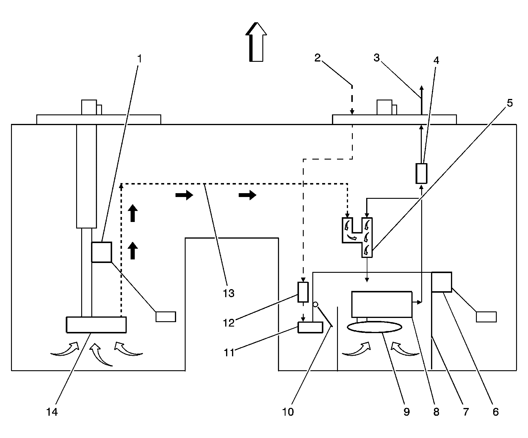
Fig 1: Fuel System Flow Diagram
GM1253859Courtesy of GENERAL MOTORS CORP.
Callout Component Name
1 Fuel Level - Left
2 Fuel Return Pipe from Engine
3 Fuel Feed Pipe to Engine
4 2-Way Check Valve - Fuel Supply
5 Siphon Jet Pump
6 Fuel Level - Right
7 Fuel Reservoir/Bucket
8 Fuel Pump
9 Fuel Strainer/Pick up
10 Check Valve for Reservoir
11 Return Fuel Jet Pump
12 2-Way Check Valve - Return Fuel
13 Fuel Transfer Line
14 Fuel Strainer/Pickup

The fuel tank stores the fuel supply. The electric fuel pump supplies fuel through an in-line fuel filter to the fuel injection system. The fuel pump provides fuel at a higher rate of flow than is needed by the fuel injection system. The fuel pressure regulator maintains the correct fuel pressure to the fuel injection system. A separate pipe (2) returns unused fuel to the fuel tank. The electric fuel pump (10) also supplies fuel to the siphon jet pump. The siphon jet pump (13) is attached to the right fuel tank module (11). The siphon jet pump draws fuel from the left side (4) of the fuel tank though the fuel transfer tube (5) to the right side of the fuel tank. Fuel is then equalized between the right and left sides of the tank.