LEMON Manuals: Even more car manuals for everyone: 1960-2025
Home >> Cadillac >> 2012 >> Escalade EXT >> Repair and Diagnosis >> External Pages >> Different car >> Section 49 (Engine Control System - Removal & Installation) >> Fuel Systems >> Fuel Pressure Regulator >> Installation
April 5, 2026: LEMON Manuals is launched! Read the announcement.

Fuel Pressure Regulator: Installation

WARNING: This page is about a different car, the 2003 Pontiac Vibe. However, it is still accessible from the selected car via links, so may be relevant.
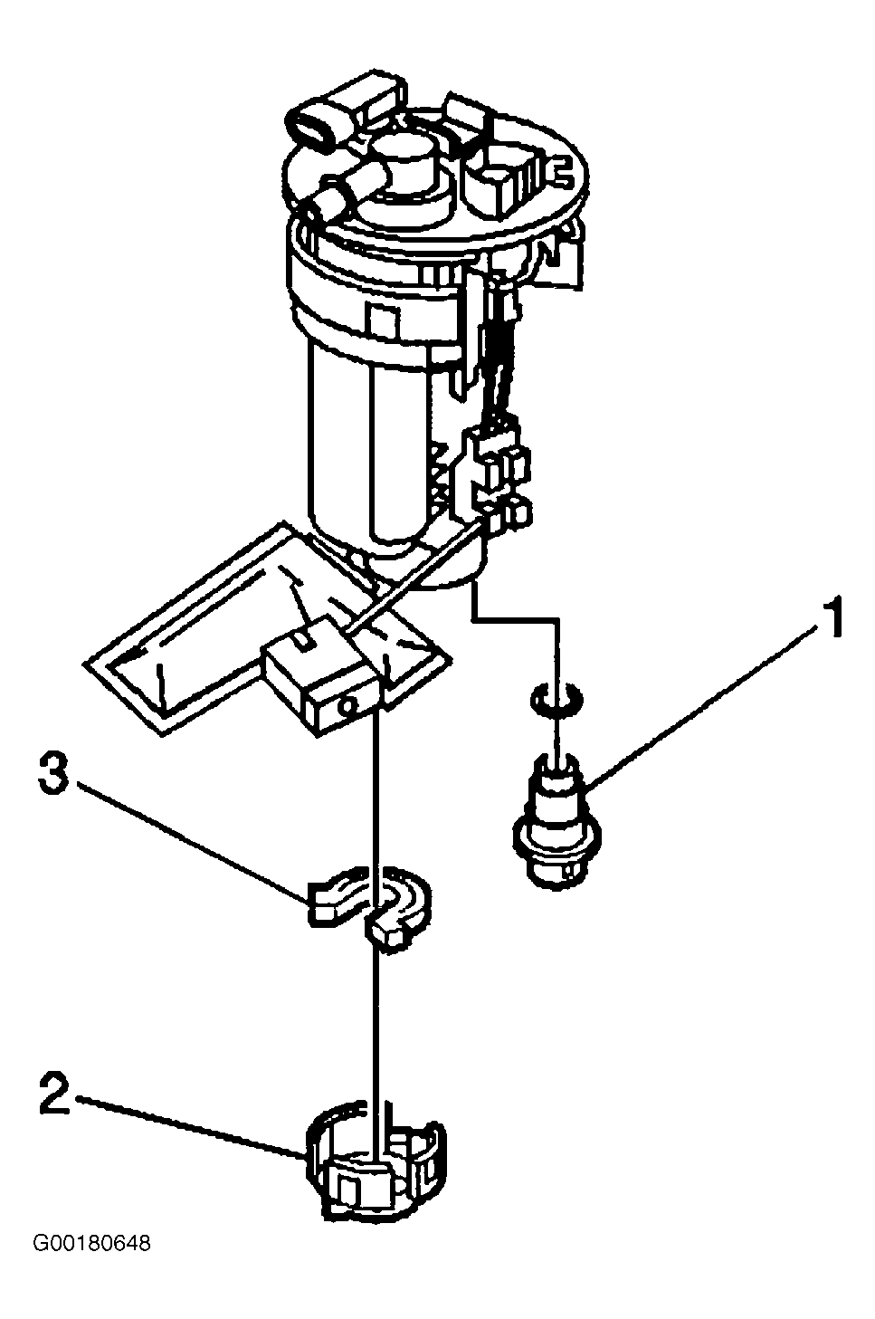
  1. To install, apply gasoline to NEW fuel pressure regulator "O" ring (1), and install onto fuel pressure regulator (2). See Figure .
  2. Install the fuel pressure regulator (1) into the fuel sender assembly. See Figure .
  3. Position the lower cushion (3) on bottom of fuel pump, and install the lower cap (2) to the sender assembly until the cap locks into place. See Figure .
  4. Install the fuel sender assembly to the fuel tank. See FUEL SENDER ASSEMBLY  .