LEMON Manuals: Even more car manuals for everyone: 1960-2025
Home >> Cadillac >> 2012 >> Escalade EXT >> Repair and Diagnosis >> External Pages >> Different car >> Section 49 (Engine Control System - Removal & Installation) >> Fuel Systems >> Fuel Sender Assembly >> Installation
April 5, 2026: LEMON Manuals is launched! Read the announcement.

Fuel Sender Assembly: Installation

WARNING: This page is about a different car, the 2003 Pontiac Vibe. However, it is still accessible from the selected car via links, so may be relevant.
NOTE: Always re-attach the fuel lines and fuel filter with all original type fasteners and hardware. Do not repair sections of fuel pipes.
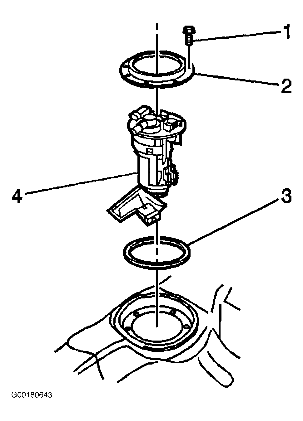
  1. Position NEW fuel sender assembly "O" ring (3) on the fuel sender assembly. See Figure .
  2. Install fuel sender assembly (4) into the fuel tank.
  3. Install the fuel sender assembly hold-down plate (2). See Figure .
  4. Install 8 hold-down plate bolts (1). Tighten bolts to specification. See TORQUE SPECIFICATIONS  .
  5. Install the fuel tank vapor line (2) to the fuel sender fitting. See Figure .
  6. Install the fuel pipe (3) to the fuel sender fitting.
  7. Secure the fuel pipe (3) using the retaining clip (1). See Figure .
  8. Connect the fuel sender harness connector (1) to the fuel sender assembly. See Figure .
  9. Connect the FTP sensor harness connector (2) to the fuel sender assembly. See Figure .
  10. Connect the negative battery cable.
  11. Pressurize the fuel system and check for leaks.
  12. Inspect butyl caulk seal for the fuel sender access panel. Replace any missing butyl caulk as necessary.
  13. Install access panel to rear seat floor.
  14. Relocate carpet under the seat and left sill plate area.
  15. Install sill plate to left side door opening.
  16. Install rear seat bottom cushion.
  17. Secure seat cushion using the 2 fasteners.