LEMON Manuals: Even more car manuals for everyone: 1960-2025
Home >> Cadillac >> 2024 >> LYRIQ Tech, AWD >> Repair and Diagnosis (Single Page) >> Electrical >> Charging Systems >> Plug-In Charging System - Diagnostic Information And Procedures >> Diagnostic Information and Procedures >> Plug-In Charging Malfunction (DC Charging) >> Circuit/System Testing
April 5, 2026: LEMON Manuals is launched! Read the announcement.

Circuit/System Testing

WARNING:

Always perform the High Voltage Disabling procedure prior to servicing any High Voltage component or connection. Personal Protection Equipment (PPE) and proper procedures must be followed.

The High Voltage Disabling procedure includes the following steps:

  • Identify how to disable high voltage.
  • Identify how to test for the presence of high voltage.
  • Identify condition under which high voltage is always present and personal protection equipment (PPE) and proper procedures must be followed.

Before working on any high voltage system, be sure to wear the following Personal Protection Equipment:

  • Safety glasses with appropriate side shields when within 15 meters (50 feet) of the vehicle, either indoors or outdoors.
  • Certified and up-to-date Class "0" Insulation gloves rated at 1000V with leather protectors.
    • Visually and functionally inspect the gloves before use.
    • Wear the Insulation gloves with leather protectors at all times when working with the high voltage battery assembly, whether the system is energized or not.

Failure to follow the procedures may result in serious injury or death.

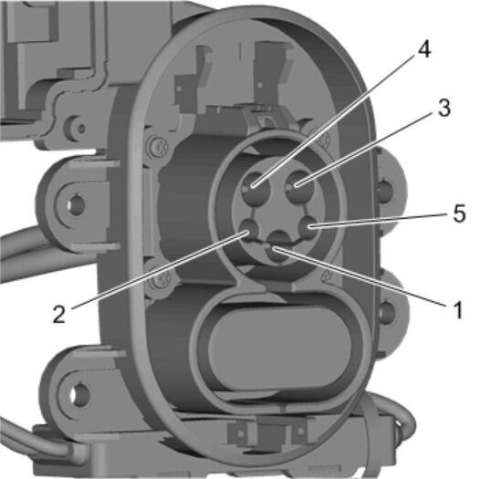
  1. Fig 1: Identifying X98 Hybrid/EV Battery Charger Receptacle Terminals
    GM4568249Courtesy of GENERAL MOTORS COMPANY
    NOTE:

    The following tests are performed at the X98 Hybrid/EV Battery Charger Coupler face and not at the harness connector to the X98 Hybrid/EV Battery Charger Coupler.

    NOTE:

    When measuring resistance observe proper meter polarity by connecting the common/ground meter probe to ground/vehicle chassis.

    NOTE:

    You must measure with a high-impedance Digital Multimeter (DMM) such as the EL-39200 or equivalent.

    Vehicle OFF and all vehicle systems OFF. It may take up to 2 minutes for all vehicle systems to power down. Test for 100k - 4M Ω between the control pilot signal terminal 2 at the X98 Hybrid/EV Battery Charger Coupler and ground.

    • If 4M ohms or greater 
    1. Disconnect the X2 harness connector at the K16 Battery Energy Control Module.
    2. Test for 2 Ω in the control pilot signal circuit end to end between the K16 Battery Energy Control Module X2 harness connector terminal 74 and X98 Hybrid/EV Battery Charger Coupler terminal 2.
      • If 2 Ω or greater, repair the open/high resistance in the circuit.
      • If less than 2 Ω, replace the K16 Battery Energy Control Module.
    • If less than 100k ohms 
    1. Disconnect the X2 harness connector at the K16 Battery Energy Control Module.
    2. Test for infinite resistance between the control pilot signal circuit and ground.
      • If less than infinite resistance, repair the short to ground in the circuit.
      • Go to next step: If infinite resistance

        Go to next step: K16 Battery Energy Control Module - Replace

    • Go to next step: If within the specified range 
  2. Test for less than 10 Ω between the Voltage AC Ground terminal 1 at the X98 Hybrid/EV Battery Charger Coupler and ground.
    • If 10 ohms or greater 
    1. Disconnect the X98 Hybrid/EV Battery Charger Coupler ground ring terminal.
    2. Test for less than 2 Ω in the low reference circuit end to end.
      • If 2 ohms or greater - Replace the component: X98 Battery Charger Coupler
      • If less than 2 Ω, clean and reinstall the ground ring terminal and ground nut.
    • Go to next step: If less than 10 ohms 
  3. Vehicle in Service Mode.
  4. Test for less than 1 V between the control pilot signal terminal 2 at the X98 Hybrid/EV Battery Charger Coupler and ground.
    • If 1 V or greater 
    1. Vehicle OFF, disconnect the X2 harness connector at the K16 Battery Energy Control Module. Vehicle in Service Mode.
    2. Test for less than 1 V between the control pilot signal circuit and ground.
      • If greater than 1 V - Repair the short to voltage on the circuit.
      • Go to next step: If less than 1 V
    3. K16 Battery Energy Control Module - Replace
    • Go to next step: If less than 1 V 
  5. GM4568248Courtesy of GENERAL MOTORS COMPANY

    Test for 4.2 - 4.8 V between the signal circuit terminal 5 and ground.

    • If less than 4.2 V 
    1. Vehicle OFF, disconnect the X2 harness connector at the X98 Hybrid/EV Battery Charger Coupler. Vehicle in Service Mode.
    2. NOTE:

      The following tests are performed at the vehicle harness connector to the X98 Hybrid/EV Battery Charger Coupler.

    3. Test for 4.8 V or greater between the signal circuit terminal 1 and ground.
      • If less than 4.8 V
      1. Vehicle OFF. Disconnect the X1 harness connector at the K16 Battery Energy Control Module.
      2. Test for infinite resistance between the signal circuit terminal 1 and ground.
        • If less than infinite resistance - Repair the short to ground on the circuit.
        • Go to next step: If infinite resistance
      3. Test for less than 2 Ω in the signal circuit end to end.
        • If 2 ohms or greater - Repair the open/high resistance in the circuit.
        • If less than 2 ohms = K16 Battery Energy Control Module - Replace
      • Go to next step: If 4.8 V or greater
    4. X98 Battery Charger Coupler - Replace
    • Go to next step: If greater than 4.8 V 
    1. Vehicle OFF, disconnect the X2 harness connector at the X98 Hybrid/EV Battery Charger Coupler. Vehicle in Service Mode.
    2. NOTE:

      The following tests are performed at the vehicle harness connector to the X98 Hybrid/EV Battery Charger Coupler.

    3. Test for 4.8 - 5.2 V between the signal circuit terminal 1 and ground.
      • If greater than 5.2 V
      1. Vehicle OFF. Disconnect the X1 harness connector at the K16 Battery Energy Control Module.
      2. Vehicle in Service Mode. Test for less than 1 V between the signal circuit terminal 1 and ground.
        • If 1 V or greater - Repair the short to voltage on the circuit.
        • If less than 1 V = K16 Battery Energy Control Module - Replace
      • Go to next step: If between 4.8 and 5.2 V
    4. Test for 2.565 - 2.835K Ω between the signal circuit terminal 1 and the low reference circuit terminal 1 at the face of the X98 Hybrid/EV Battery Charger Coupler.
      • If not within the specified range, replace the X98 Hybrid/EV Battery Charger Coupler.
      • If within the specified range, replace the K16 Battery Energy Control Module.
    • Go to next step: If between 4.2 and 4.8 V 
  6. Disable the high voltage for servicing at the X98 Hybrid/EV Battery Charger Coupler and also at the A4 Hybrid/Electric Vehicle Battery Pack. Refer to High Voltage Disabling . Disconnect the X2 harness connector at the A4 Hybrid/Electric Vehicle Battery Pack.
  7. NOTE:

    The following tests are performed at the X98 Hybrid/EV Battery Charger Coupler face and not at the harness connector to the X98 Hybrid/EV Battery Charger Receptacle.

  8. Test for infinite resistance between the test points: @ X98 Battery Charger Coupler
    • High Voltage DC Positive terminal DC+ and High Voltage DC Negative terminal DC-
    • Control pilot signal circuit terminal 2 and Proximity status signal circuit terminal 5
    • If less than infinite resistance 

      X98 Battery Charger Coupler - Replace

    • Go to next step: If infinite resistance 
  9. Test for less than 10 ohms between the test points:
    • High Voltage DC Positive terminal DC+ at the X98 Hybrid/EV Battery Charger Coupler and A4 Hybrid/Electric Vehicle Battery X1 harness connector terminal 1
    • High Voltage DC Negative terminal DC- at the X98 Hybrid/EV Battery Charger Coupler and A4 Hybrid/Electric Vehicle Battery X1 harness connector terminal 2
    • If greater than 10 ohms 

      X98 Battery Charger Coupler - Replace

    • Go to next step: If less than 10 Ω 
  10. Disconnect the X2 harness connector at the X98 Hybrid/EV Battery Charger Coupler.
  11. Test for 2.56 - 2.84k Ω between the Voltage AC Ground terminal 1 and Proximity status signal circuit terminal 5 at the X98 Hybrid/EV Battery Charger Coupler.
    • If not within the specified range 

      Replace the component: X98 Battery Charger Coupler

    • Go to next step: If within the specified range 
  12. Test for infinite resistance between the Proximity status signal circuit terminal 5 of the harness connector and ground.
    • If less than infinite resistance 

      Replace the component: X98 Battery Charger Coupler

    • Go to next step: If infinite resistance 
  13. Replace the component: K16 Battery Energy Control Module
  14. Repeat Circuit/System Verification and confirm vehicle is All OK.
    • If Circuit/System Verification was not All OK 

      Replace the component: T18 Battery Charger

    1. Repeat Circuit/System Verification and confirm vehicle is All OK.
      • If Circuit/System Verification was not ALL OK

        Replace the component: A4 Hybrid/Electric Vehicle Battery Pack

      • Go to next step: If Circuit/System Verification was ALL OK

        Go to next step: All OK.

    • Go to next step: If Circuit/System Verification was All OK 
  15. All OK.