LEMON Manuals: Even more car manuals for everyone: 1960-2025
Home >> Dodge and Ram >> 1995 >> Spirit 2.5 K >> Repair and Diagnosis >> Engine Performance >> System >> Engine Controls - Tests W/Codes - Traveler Module >> Connector Identification
April 5, 2026: LEMON Manuals is launched! Read the announcement.

Connector Identification

Fig 1: Identifying Data Link Connector Terminals
G95D12784Courtesy of CHRYSLER CORP.
Fig 2: Identifying Electronic Instrument Cluster Blue/Red 13-Pin Connector Terminals
G95E12785Courtesy of CHRYSLER CORP.
Fig 3: Identifying Headlight Switch 9-Pin Connector Terminals
G93J40781Courtesy of CHRYSLER CORP.
Fig 4: Identifying Ignition Switch 7-Pin Connector Terminals
G94B31816Courtesy of CHRYSLER CORP.
Fig 5: Identifying Instrument Cluster Black 11-Pin Connector Terminals
G93F40779Courtesy of CHRYSLER CORP.
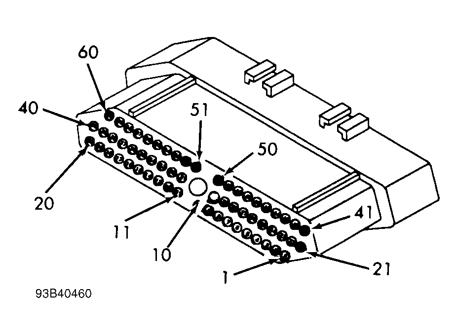
Fig 6: Identifying Powertrain Control Module Terminals
G93B40460Courtesy of CHRYSLER CORP.
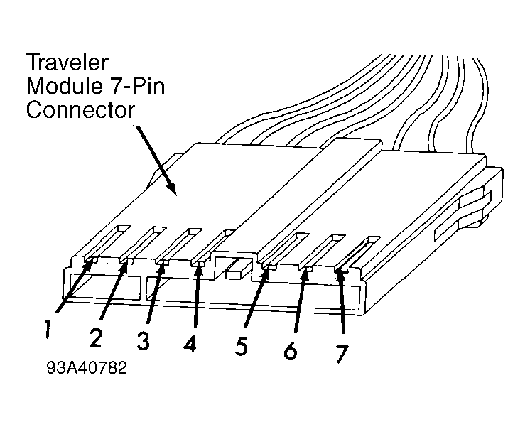
Fig 7: Identifying Traveler Module 7-Pin Connector Terminals
G93A40782Courtesy of CHRYSLER CORP.