LEMON Manuals: Even more car manuals for everyone: 1960-2025
Home >> Dodge and Ram >> 1996 >> Intrepid ES >> Repair and Diagnosis (Single Page) >> Steering >> Power Steering >> Steering System - Electronic >> Testing >> System Test
April 5, 2026: LEMON Manuals is launched! Read the announcement.

System Test

NOTE: Perform SPD PROP STEER TEST  before proceeding with this test. For wiring diagram, see WIRING DIAGRAMS  .
  1. Turn ignition off. Connect scan tool to Data Link Connector (DLC). DLC is located under instrument panel near steering column. Turn ignition on. Go to next step.
  2. Using scan tool, check for any VEHICLE SPEED SENSOR (VSS) Diagnostic Trouble Codes (DTCs). If any VSS DTCs exist, the TESTS W/CODES article in the ENGINE PERFORMANCE section. If no VSS DTCs exist, go to next step.
  3. Perform SPD PROP STEER TEST  . If steering performs properly, perform a road test to ensure proper steering system operation. If steering does not perform properly, go to next step.
  4. Turn ignition off. Disconnect Speed Proportional Steering (SPS) control module 2-pin and 3-pin connectors. See Fig 1 . Check connectors and terminals for damage. Repair connectors and terminals as necessary. Perform TEST VER-1  . If connectors and terminals are okay, go to next step.
    Fig 1: Locating Speed Proportional Connectors, Module & Solenoid
    G94G31738Courtesy of CHRYSLER CORP.
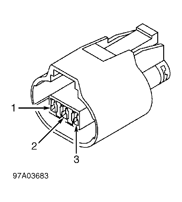
  5. Turn ignition on. Using scan tool in voltmeter mode, check voltage on SPS control module 3-pin connector terminal No. 3 (White/Orange wire). See Fig 2 . If voltage is more than 4 volts, go to next step. If voltage is 4 volts or less, repair open White/Orange wire. Perform TEST VER-1  .
  6. Turn ignition off. Using an external ohmmeter, check resistance between ground and SPS control module 3-pin connector terminal No. 2 (Black wire). If resistance is less than 5 ohms, go to next step. If resistance is 5 ohms or more, repair open Black wire. Perform TEST VER-1  .
  7. Turn ignition on. Using scan tool in voltmeter mode, check voltage on SPS control module connector terminal No. 1 (White wire). If voltage is more than 9 volts, go to next step. If voltage is 9 volts or less, repair open White wire. Perform TEST VER-1  .
  8. Turn ignition off. Using an external ohmmeter, check resistance across SPS control module 2-pin connector terminals. If resistance is 5-10 ohms, go to next step. If resistance is not as specified, replace speed proportional solenoid and pigtail. Perform TEST VER-1  .
  9. Check resistance between ground and either SPS control module 2-pin connector terminal. If resistance is more than 1000 ohms, replace SPS control module. Perform TEST VER-1  . If resistance is 1000 ohms or less, replace speed proportional solenoid and pigtail. Perform TEST VER-1  .
Fig 2: Identifying 3-Pin Connector Terminals
G97A03683Courtesy of CHRYSLER CORP.