LEMON Manuals: Even more car manuals for everyone: 1960-2025
Home >> Dodge and Ram >> 1997 >> Intrepid ES >> Repair and Diagnosis >> Body & Frame >> Body, Cab Control Systems >> Body Control Computer >> Self-Diagnostic System >> Connector Identification
April 5, 2026: LEMON Manuals is launched! Read the announcement.

Connector Identification

NOTE: For terminal identification of body control system connectors use illustrations. See Fig 1 -Fig 16 . Connector terminal numbers are molded into connectors. If connector terminal identification differs from that shown in figure, use wire colors to ensure correct circuit is being tested.
CONNECTOR IDENTIFICATION DIRECTORY

Connector See
Anti-Lock Brake Controller Fig 1
ATC Sun Sensor Fig 2
Body Control Module Fig 3
Data Link (DLC) Fig 4
Flex Fuel Module Fig 5
Fuel Pump Fig 6
Headlight Switch Fig 7
Headlight 8-Pin Fig 8
Instrument Cluster Fig 9
Junction Block (Typical, NS Body Shown) Fig 10
Message Center Fig 11
Multifunction Switch 7-Pin Connector Terminals Fig 12
Powertrain Control Module Connectors Fig 13
Relay Connector Fig 14
Remote Keyless Entry (RKE) Module Fig 15
Transmission Control Module Connector Fig 16
VTSS Indicator Light Fig 2
Fig 1: Anti-Lock Brake Controller Terminals
G95D35900Courtesy of CHRYSLER CORP.
Fig 2: ATC Sun Sensor/VTSS Indicator Light Connector Terminals
G94E31728Courtesy of CHRYSLER CORP.
Fig 3: Body Control Module Connector Terminals
G95I35475Courtesy of CHRYSLER CORP.
Fig 4: Data Link Connector (DLC) Terminals
G95H14289Courtesy of CHRYSLER CORP.
Fig 5: Flex Fuel Module Connector Terminals
G97E28013Courtesy of CHRYSLER CORP.
Fig 6: Fuel Pump Motor Connector Terminals
G96B01613Courtesy of CHRYSLER CORP.
Fig 7: Headlight Switch Connector Terminals
G93G40606Courtesy of CHRYSLER CORP.
Fig 8: Headlight 8-Pin Connector Terminals
G95F35902Courtesy of CHRYSLER CORP.
Fig 9: Instrument Cluster Connector Terminals
G95E35901Courtesy of CHRYSLER CORP.
Fig 10: Junction Block Connector Terminals (Typical - NS Body shown)
G95D35884Courtesy of CHRYSLER CORP.
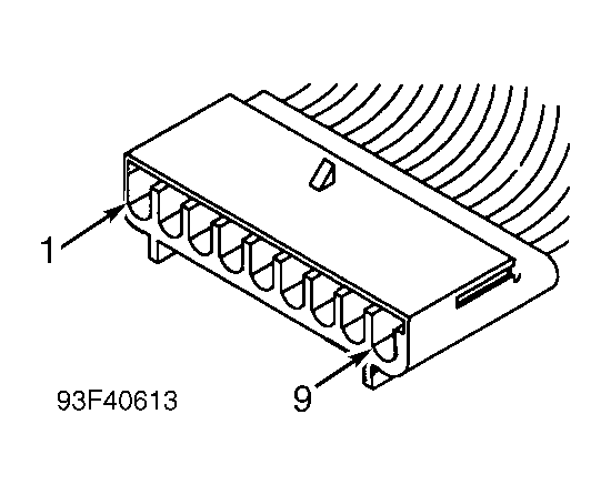
Fig 11: Message Center Connector Terminals
G93F40613Courtesy of CHRYSLER CORP.
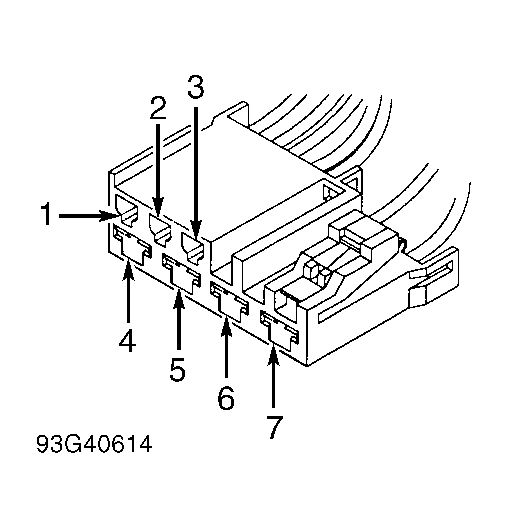
Fig 12: Multifunction Switch 7-Pin Connector Terminals
G93G40614Courtesy of CHRYSLER CORP.
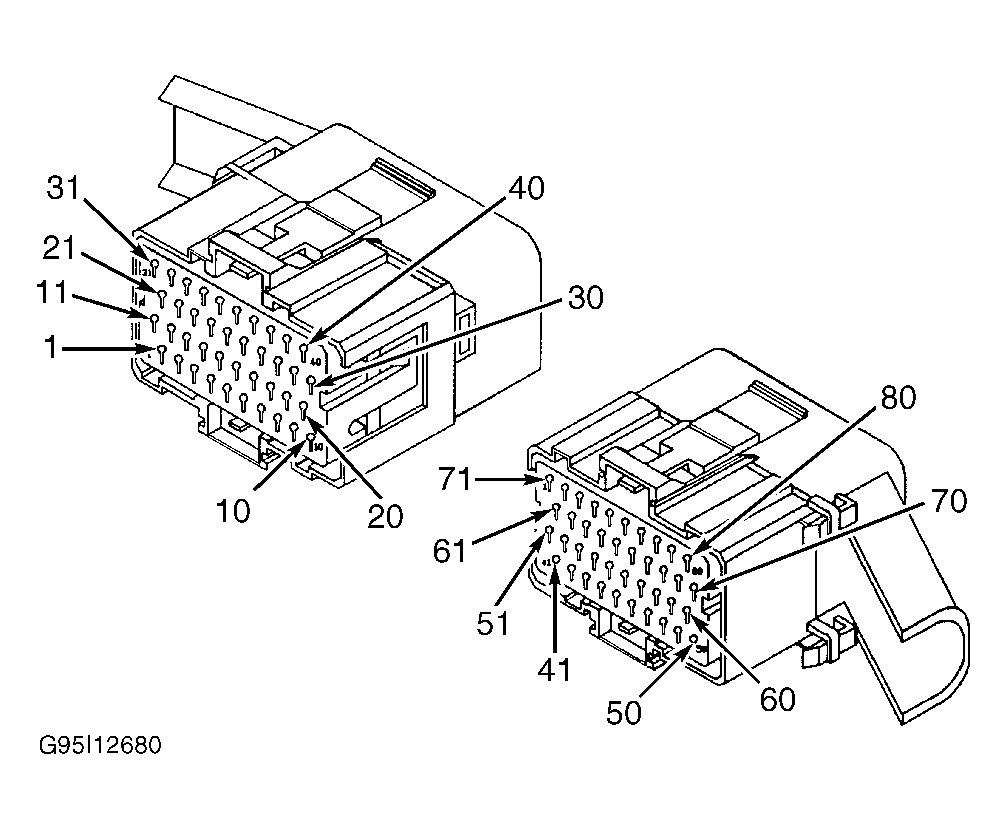
Fig 13: Powertrain Control Module Connector Terminals
G95I12680Courtesy of CHRYSLER CORP.
Fig 14: Relay Connector Terminals
G92C05763Courtesy of CHRYSLER CORP.
Fig 15: Remote Keyless Entry (RKE) Module Connector Terminals
G95C14292Courtesy of CHRYSLER CORP.
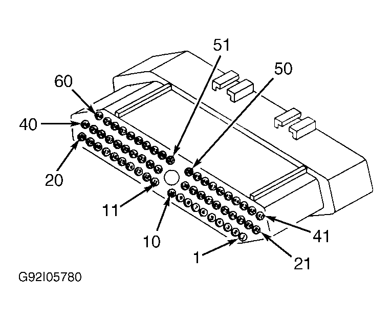
Fig 16: Transmission Control Module Connector Terminals
G92I05780Courtesy of CHRYSLER CORP.