LEMON Manuals: Even more car manuals for everyone: 1960-2025
Home >> Dodge and Ram >> 1999 >> Durango 5.9 Z, 4WD, Part Time >> Repair and Diagnosis >> Engine Performance >> System >> Engine Controls - Tests W/Codes >> Connector Identification
April 5, 2026: LEMON Manuals is launched! Read the announcement.

Connector Identification

NOTE: The following terminals are shown as viewed from harness side of connector. Only connectors with 3 or more terminals (pins) are included. For circuit identification and wiring diagram, see DURANGO wiring diagrams in WIRING DIAGRAMS article.
CONNECTOR IDENTIFICATION

Connector Illustration
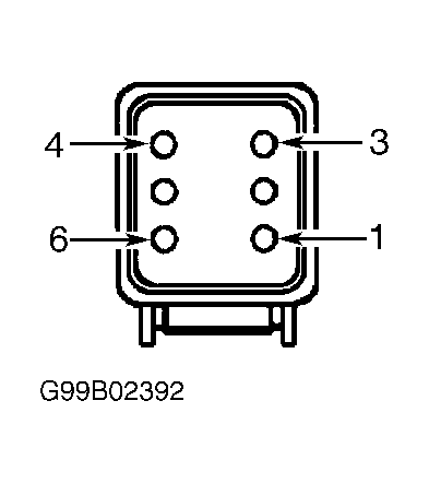
Accelerator Pedal Position Sensor Fig 1
Brakelight Switch Fig 2
Camshaft Position Sensor Fig 3
Controller Anti-Lock Brakes Fig 4
Crankshaft Position Sensor Fig 5
Data Link Connector Fig 6
Fuel Pump Module Fig 7
Governor Pressure Sensor Fig 8
Idle Air Control Motor Fig 9
Leak Detection Pump Fig 10
Manifold Absolute Pressure Sensor Fig 11
Park/Neutral Position Switch Fig 12
Powertrain Control Module Fig 13
Throttle Position Sensor Fig 14
Transmission Solenoid Fig 15
Vehicle Speed Sensor Fig 16
1/1-1/3 Heated Oxygen Sensor (Typical) Fig 17
Fig 1: Accelerator Pedal Position Sensor
G99B02392Courtesy of CHRYSLER CORP.
Fig 2: Brakelight Switch
G99D02393Courtesy of CHRYSLER CORP.
Fig 3: Camshaft Position Sensor
G99I02395Courtesy of CHRYSLER CORP.
Fig 4: Controller Anti-Lock Brakes
G99A02396Courtesy of CHRYSLER CORP.
Fig 5: Crankshaft Position Sensor
G99C08120Courtesy of CHRYSLER CORP.
Fig 6: Data Link
G99E08121Courtesy of CHRYSLER CORP.
Fig 7: Fuel Pump Module
G99F08126Courtesy of CHRYSLER CORP.
Fig 8: Governor Pressure Sensor
G99J08128Courtesy of CHRYSLER CORP.
Fig 9: Idle Air Control Motor
G99D08130Courtesy of CHRYSLER CORP.
Fig 10: Leak Detection Pump
G99J08133Courtesy of CHRYSLER CORP.
Fig 11: Manifold Absolute Pressure Sensor
G99G08136Courtesy of CHRYSLER CORP.
Fig 12: Park Neutral Position Switch
G99I08137Courtesy of CHRYSLER CORP.
Fig 13: Powertrain Control Module
G95B35650Courtesy of CHRYSLER CORP.
Fig 14: Throttle Position Sensor
G99A08138Courtesy of CHRYSLER CORP.
Fig 15: Transmission Solenoid
G99E08140Courtesy of CHRYSLER CORP.
Fig 16: Vehicle Speed Sensor
G99H08146Courtesy of CHRYSLER CORP.
Fig 17: 1/1-1/3 Heated Oxygen Sensor (Typical)
G99J08147Courtesy of CHRYSLER CORP.