LEMON Manuals: Even more car manuals for everyone: 1960-2025
Home >> Dodge and Ram >> 2000 >> Intrepid Base >> Repair and Diagnosis >> External Pages >> Different car >> Section 102 (Frame System & Bumper System) >> Rear CROSSMEMBER >> Assembly
April 5, 2026: LEMON Manuals is launched! Read the announcement.

Rear CROSSMEMBER: Assembly

WARNING: This page is about a different car, the 2004 Dodge Intrepid, 2004 Chrysler Intrepid, 2004 Chrysler Concorde, and 2004 Chrysler 300M. However, it is still accessible from the selected car via links, so may be relevant.
  1. Clean bore in crossmember where bushing mounts.
  2. Thoroughly coat new bushing and crossmember bore with Mopar(R) Rubber Bushing Installation Lube.
  3. Place Installer, Special Tool C-8173-3, on top of crossmember bushing bore with inside taper end facing up. Locater lip on bottom of tool should align the tool with bushing bore.
  4. Coat the tapered bore of Special Tool C-8173-3 with Mopar(R) Rubber Bushing Installation Lube, then place the bushing in its tapered bore (Fig 2 ).
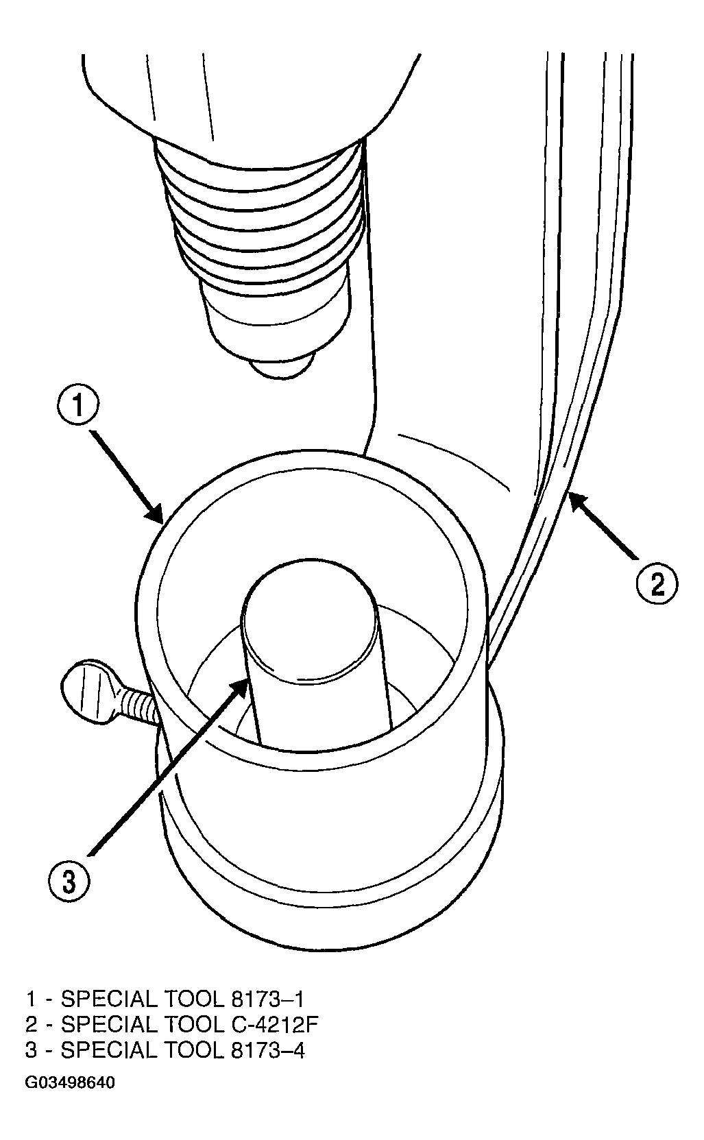
  5. Install Special Tool 8173-4 in the cup, Special Tool 8173-1 (Fig 1 ). Install cup, Special Tool 8173-1 into well of press, Special Tool C-4212F (Fig 1 ).
    Fig 1: Special Tools
    G03498640Courtesy of DAIMLERCHRYSLER CORP.
  6. Install Remover/Installer, Special Tool 8173-2, on end of the threaded push rod on Special Tool C-4212F.
  7. Place special tools on crossmember and bushing (Fig 2 ).
    Fig 2: Bushing Installation
    G03498641Courtesy of DAIMLERCHRYSLER CORP.
  8. Turn the threaded rod, pushing bushing down through Special tool 8173-3 and into place in the crossmember. Continue pushing the bushing until bottoms against Special Tool 8173-4.
  9. Remove special tools.
  10. Verify the bushing is properly centered in the crossmember bore and the outer bushing lips are not pinched.