LEMON Manuals: Even more car manuals for everyone: 1960-2025
Home >> Dodge and Ram >> 2000 >> Neon Base, Automatic >> Repair and Diagnosis >> Body & Frame >> Body, Cab Control Systems >> Body Control Modules >> System Tests >> Communications >> No Response From CAB Controller
April 5, 2026: LEMON Manuals is launched! Read the announcement.

No Response From CAB Controller

NOTE: After making any repairs, perform ANTI-LOCK BRAKE SYSTEM VERIFICATION TEST  under VERIFICATION TESTS. Unless instructed otherwise in test step, reconnect any disconnected connectors.
NOTE: Anti-lock Brake System (ABS) Controller Anti-Lock Brake (CAB) module may also be referred to as CAB controller.
  1. Turn ignition off. Connect scan tool to Data Link Connector (DLC). DLC is located on bottom of instrument panel, to left of brake pedal. See Figure. Turn ignition on. Using scan tool, attempt to communicate with other modules. If scan tool does not communicate with other modules, proceed to COMPLETE PCI BUS FAILURE  test. If scan tool communicates with other modules, go to next step.
  2. Turn ignition off. Remove and inspect fuse No. 10 from fuse block. If fuse is open, go to next step. If fuse is okay, leave fuse removed and go to step  6.
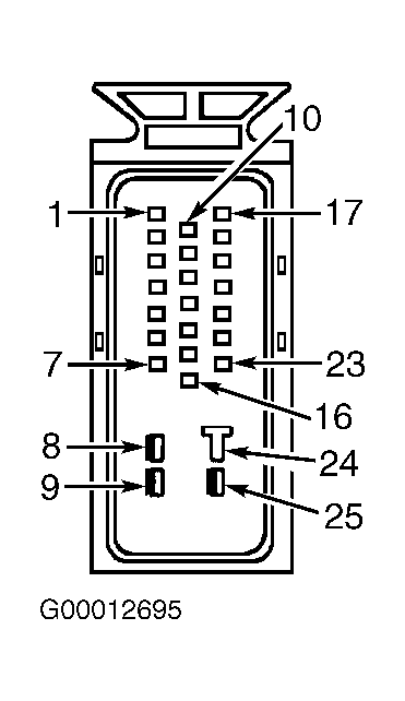
  3. Ensure ignition is off. Visually inspect fused ignition switch output start/run circuit (Dark Blue/White wire) between fuse block and CAB module connector terminal No. 4. See Fig 1. Look for signs of intermittent short to ground. Repair Dark Blue/White wire for short to ground as necessary. If Dark Blue/White wire looks okay, leave fuse removed and go to next step.
    Fig 1: Identifying Controller Anti-Lock Brake (CAB) Module Connector Terminals
    G00012695Courtesy of DAIMLERCHRYSLER CORP.
  4. Ensure ignition is off. Disconnect CAB module connector. Check, clean and repair connectors as necessary. Connect a 12-volt test light between battery voltage and CAB module connector terminal No. 4, fused ignition switch output start/run circuit (Dark Blue/White wire). If test light does not illuminate, leave fuse removed and go to next step. If test light illuminates, repair Dark Blue/White wire for short to ground and replace fuse No. 10.
  5. Ensure ignition is off. Reconnect CAB module connector. Connect 12-volt test light between battery voltage and CAB module connector terminal No. 4, fused ignition switch output start/run circuit (Dark Blue/White wire). If test light illuminates, replace CAB module. See appropriate ANTI-LOCK article in BRAKES. If test light does not illuminate, replace fuse No. 10.
  6. Ensure ignition is off. Disconnect CAB module connector. Check, clean and repair connectors as necessary. Using an ohmmeter, check resistance of PCI bus circuit (Violet/Yellow wire) between CAB module connector terminal No. 10 and DLC terminal No. 2. See Figure and Fig 1 . If resistance is less than 5 ohms, leave CAB module connector disconnected and go to next step. If resistance is 5 ohms or more, repair open Violet/Yellow wire.
  7. Ensure ignition is off. Using ohmmeter, check resistance between ground and CAB module connector terminal No. 4, fused ignition switch output start/run circuit (Dark Blue/White wire). If resistance is less than 5 ohms, leave CAB module connector disconnected and go to next step. If resistance is 5 ohms or more, repair open Dark Blue/White wire.
  8. Ensure ignition is off. Using ohmmeter, check resistance between ground and CAB module connector terminals No. 8 and 24, ground circuits (Black wires). If resistance is less than one ohm in both circuits, replace CAB module. See appropriate ANTI-LOCK article in BRAKES. If resistance is one ohm or more on either circuit, repair open Black wire(s).