LEMON Manuals: Even more car manuals for everyone: 1960-2025
Home >> Dodge and Ram >> 2002 >> Durango Base, 5.9 Z, 4WD, Part Time >> Repair and Diagnosis >> Body & Frame >> Body, Cab Control Systems >> Body Control Modules >> Connector Identification
April 5, 2026: LEMON Manuals is launched! Read the announcement.

Connector Identification

CONNECTOR TERMINAL IDENTIFICATION

Harness Connector See
A/C-Heater Control Module C1 Fig 1
A/C-Heater Control Module C2 Fig 2
A/C-Heater Control Module C3 Fig 3
A/C-Heater Control Module C4 Fig 4
Air Bag Control Module Fig 5
Ambient Temperature Sensor Fig 6
Amplifier C1 (Premium) Fig 7
Amplifier C2 (Premium) Fig 8
Blower Motor Fig 9
Blower Motor Resistor Block Fig 10
Brakelight Switch Fig 11
Brake Transmission Shift Interlock Solenoid Fig 12
Central Timer Module C1 Fig 13
Central Timer Module C2 Fig 14
Central Timer Module C3 Fig 15
Clockspring C1 Fig 16
Clockspring C4 (Premium) Fig 17
Controller Anti-Lock Brake C1 Fig 18
Data Link Connector Fig 19
Diagnostic Junction Port Fig 20
Driver Air Bag Fig 21
Driver Blend Door Actuator Fig 22
Driver Door Ajar Switch (Base) Fig 23
Driver Door Cylinder Lock Switch (Premium) Fig 24
Driver Door Module C1 (Except Base) Fig 25
Driver Door Module C2 (Except Base) Fig 26
Driver Power Lock Motor/Ajar Switch (Except Base) Fig 27
Driver Door Power Window Motor Fig 28
Evaporator Temperature Sensor Fig 29
Front Washer Pump/Motor Fig 30
Front Wiper Motor Fig 31
Glove Box Light & Switch Fig 32
Headlight Switch Fig 33
High Note Horn Fig 34
Ignition Switch Fig 35
Instrument Cluster C1 Fig 36
Instrument Cluster C2 Fig 37
Instrument Panel Junction Block C1 Fig 38
Instrument Panel Junction Block C2 Fig 39
Instrument Panel Junction Block C3 Fig 40
Instrument Panel Junction Block C4 Fig 41
Instrument Panel Junction Block C5 Fig 42
Instrument Panel Junction Block C6 Fig 43
Instrument Panel Junction Block C7 Fig 44
Instrument Panel Junction Block C8 Fig 45
Instrument Panel Junction Block C9 Fig 46
Instrument Panel Junction Block C10 Fig 47
Instrument Panel Junction Block C11 Fig 48
Instrument Panel Junction Block C12 Fig 49
Junction Block (1 Of 3) Fig 50
Junction Block (2 Of 3) Fig 51
Junction Block (3 Of 3) Fig 52
Left Curtain Air Bag Fig 53
Left Front Door Tweeter Fig 54
Left Front Door Woofer Fig 55
Left Front Park/Turn Signal Lights Fig 56
Left Headlight Fig 57
Left Rear Door Power Lock Motor/Ajar Switch Fig 58
Left Rear Door Power Window Motor Fig 59
Left Rear Door Power Window Switch Fig 60
Left Rear Door Tweeter Fig 61
Left Rear Door Woofer Fig 62
Left Remote Radio Switch Fig 63
Left Side Impact Air Bag Control Module Fig 64
Liftgate Ajar Switch Fig 65
Liftgate Cylinder Lock Switch Fig 66
Liftgate Power Lock Motor Fig 67
Low Note Horn Fig 68
Mode Door Actuator Fig 69
Multifunction Switch Fig 70
Overhead Console Fig 71
Passenger Air Bag Fig 72
Passenger Blend Door Actuator Fig 73
Passenger Door Ajar Switch Fig 74
Passenger Door Cylinder Lock Switch Fig 75
Passenger Door Power Lock Motor/Ajar Switch Fig 76
Passenger Door Power Lock Switch Fig 77
Passenger Door Power Window Motor Fig 78
Passenger Door Power Window Switch Fig 79
Power Distribution Center Fig 80
Powertrain Control Module C1 (JTEC - 4.7L) Fig 81
Powertrain Control Module C1 (JTEC - 5.9L) Fig 82
Powertrain Control Module C1 (NGC - 4.7L) Fig 83
Powertrain Control Module C2 (JTEC - 4.7L) Fig 84
Powertrain Control Module C2 (JTEC - 5.9L) Fig 85
Powertrain Control Module C2 (NGC - 4.7L) Fig 86
Powertrain Control Module C3 (JTEC - 4.7L & 5.9L) Fig 87
Powertrain Control Module C3 (NGC - 4.7L) Fig 88
Powertrain Control Module C4 (NGC - 4.7L) Fig 89
Radio C1 (Base) Fig 90
Radio C2 (Base) Fig 91
Radio (Midline/Premium) Fig 92
Rear A/C-Heater Control Module Fig 93
Rear Blend Door Actuator Fig 94
Rear Blower Motor Fig 95
Rear Blower Motor Resistor Block Fig 96
Rear Heater Coolant Pump Fig 97
Rear Mode Door Actuator Fig 98
Rear Washer/Pump Motor Fig 99
Rear Wiper Motor Fig 100
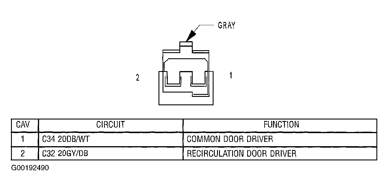
Recirculation Door Actuator Fig 101
Right Curtain Air Bag Fig 102
Right Front Door Tweeter Fig 103
Right Front Door Woofer Fig 104
Right Front Park/Turn Signal Lights Fig 105
Right Headlight Fig 106
Right Rear Door Power Lock Motor/Ajar Switch Fig 107
Right Rear Door Power Window Motor Fig 108
Right Rear Door Power Window Switch Fig 109
Right Rear Door Tweeter Fig 110
Right Rear Door Woofer Fig 111
Right Remote Radio Switch Fig 112
Right Side Impact Air Bag Control Module Fig 113
Seat Belt Switch Fig 114
Sentry Key Immobilizer Module Fig 115
Transfer Case Control Module C1 Fig 116
Transfer Case Control Module C2 Fig 117
Transfer Case Control Module C3 Fig 118
Transmission Control Module (JTEC - 4.7L) Fig 119
Transmission Range Sensor (5.9L) Fig 120
Washer Fluid Level Switch Fig 121
Fig 1: Identifying A/C-Heater Control Module C1 Harness Connector Terminals
G00182028Courtesy of DAIMLERCHRYSLER CORPORATION
Fig 2: Identifying A/C-Heater Control Module C2 Harness Connector Terminals
G00182029Courtesy of DAIMLERCHRYSLER CORPORATION
Fig 3: Identifying A/C-Heater Control Module C3 Harness Connector Terminals
G00182030Courtesy of DAIMLERCHRYSLER CORPORATION
Fig 4: Identifying A/C-Heater Control Module C4 Harness Connector Terminals
G00182031Courtesy of DAIMLERCHRYSLER CORPORATION
Fig 5: Identifying Air Bag Control Module Harness Connector Terminals
G00182032Courtesy of DAIMLERCHRYSLER CORPORATION
Fig 6: Identifying Ambient Temperature Sensor Harness Connector Terminals
G00182033Courtesy of DAIMLERCHRYSLER CORPORATION
Fig 7: Identifying Amplifier C1 Harness Connector Terminals (Premium)
G00176148Courtesy of DAIMLERCHRYSLER CORPORATION
Fig 8: Identifying Amplifier C2 Harness Connector Terminals (Premium)
G00176149Courtesy of DAIMLERCHRYSLER CORPORATION
Fig 9: Identifying Blower Motor Harness Connector Terminals
G00182034Courtesy of DAIMLERCHRYSLER CORPORATION
Fig 10: Identifying Blower Motor Resistor Block Harness Connector Terminals
G00176153Courtesy of DAIMLERCHRYSLER CORPORATION
Fig 11: Identifying Brakelamp Switch Harness Connector Terminals
G00182035Courtesy of DAIMLERCHRYSLER CORPORATION
Fig 12: Identifying Brake Transmission Shift Interlock Harness Connector Terminals
G00182018Courtesy of DAIMLERCHRYSLER CORPORATION
Fig 13: Identifying Central Timer Module C1 Harness Connector Terminals
G00182036Courtesy of DAIMLERCHRYSLER CORPORATION
Fig 14: Identifying Central Timer Module C2 Harness Connector Terminals
G00182037Courtesy of DAIMLERCHRYSLER CORPORATION
Fig 15: Identifying Central Timer Module C3 Harness Connector Terminals
G00182038Courtesy of DAIMLERCHRYSLER CORPORATION
Fig 16: Identifying Clockspring C1 Harness Connector Terminals (Premium)
G00182039Courtesy of DAIMLERCHRYSLER CORPORATION
Fig 17: Identifying Clockspring C4 Harness Connector Terminals (Premium)
G00176155Courtesy of DAIMLERCHRYSLER CORPORATION
Fig 18: Identifying Controller Anti-Lock Brake C1 Harness Connector Terminals
G00182040Courtesy of DAIMLERCHRYSLER CORPORATION
Fig 19: Identifying Data Link Connector Terminals
G00182041Courtesy of DAIMLERCHRYSLER CORPORATION
Fig 20: Identifying Diagnostic Junction Port Harness Connector Terminals
G00182042Courtesy of DAIMLERCHRYSLER CORPORATION
Fig 21: Identifying Driver Air Bag Harness Connector Terminals
G00176160Courtesy of DAIMLERCHRYSLER CORPORATION
Fig 22: Identifying Driver Blend Door Actuator Harness Connector Terminals
G00182043Courtesy of DAIMLERCHRYSLER CORPORATION
Fig 23: Identifying Driver Door Ajar Switch Harness Connector Terminals (Base)
G00176162Courtesy of DAIMLERCHRYSLER CORPORATION
Fig 24: Identifying Driver Door Cylinder Lock Switch Harness Connector Terminals (Premium)
G00182044Courtesy of DAIMLERCHRYSLER CORPORATION
Fig 25: Identifying Driver Door Module C1 Harness Connector Terminals (Except Base)
G00176163Courtesy of DAIMLERCHRYSLER CORPORATION
Fig 26: Identifying Driver Door Module C2 Harness Connector Terminals (Except Base)
G00176164Courtesy of DAIMLERCHRYSLER CORPORATION
Fig 27: Identifying Driver Door Power Lock Motor/Ajar Switch Harness Connector Terminals
G00182045Courtesy of DAIMLERCHRYSLER CORPORATION
Fig 28: Identifying Driver Door Power Window Motor Harness Connector Terminals
G00182046Courtesy of DAIMLERCHRYSLER CORPORATION
Fig 29: Identifying Evaporator Temperature Sensor Harness Connector Terminals
G00182047Courtesy of DAIMLERCHRYSLER CORPORATION
Fig 30: Identifying Front Washer Pump/Motor Harness Connector Terminals
G00176167Courtesy of DAIMLERCHRYSLER CORPORATION
Fig 31: Identifying Front Wiper Motor Harness Connector Terminals
G00182048Courtesy of DAIMLERCHRYSLER CORPORATION
Fig 32: Identifying Glove Box Lamp & Switch Harness Connector Terminals
G00176169Courtesy of DAIMLERCHRYSLER CORPORATION
Fig 33: Identifying Headlamp Switch Harness Connector Terminals
G00176170Courtesy of DAIMLERCHRYSLER CORPORATION
Fig 34: Identifying High Note Horn Harness Connector Terminals
G00176171Courtesy of DAIMLERCHRYSLER CORPORATION
Fig 35: Identifying Ignition Switch Harness Connector Terminals
G00182049Courtesy of DAIMLERCHRYSLER CORPORATION
Fig 36: Identifying Instrument Cluster C1 Harness Connector Terminals
G00182050Courtesy of DAIMLERCHRYSLER CORPORATION
Fig 37: Identifying Instrument Cluster C2 Harness Connector Terminals
G00182051Courtesy of DAIMLERCHRYSLER CORPORATION
Fig 38: Identifying Instrument Panel Junction Block C1 Harness Connector Terminals
G00192501Courtesy of DAIMLERCHRYSLER CORPORATION
Fig 39: Identifying Instrument Panel Junction Block C2 Harness Connector Terminals
G00182052Courtesy of DAIMLERCHRYSLER CORPORATION
Fig 40: Identifying Instrument Panel Junction Block C3 Harness Connector Terminals
G00192503Courtesy of DAIMLERCHRYSLER CORPORATION
Fig 41: Identifying Instrument Panel Junction Block C4 Harness Connector Terminals
G00192504Courtesy of DAIMLERCHRYSLER CORPORATION
Fig 42: Identifying Instrument Panel Junction Block C5 Harness Connector Terminals
G00192505Courtesy of DAIMLERCHRYSLER CORPORATION
Fig 43: Identifying Instrument Panel Junction Block C6 Harness Connector Terminals
G00192506Courtesy of DAIMLERCHRYSLER CORPORATION
Fig 44: Identifying Instrument Panel Junction Block C7 Harness Connector Terminals
G00192507Courtesy of DAIMLERCHRYSLER CORPORATION
Fig 45: Identifying Instrument Panel Junction Block C8 Harness Connector Terminals
G00192508Courtesy of DAIMLERCHRYSLER CORPORATION
Fig 46: Identifying Instrument Panel Junction Block C9 Harness Connector Terminals
G00182053Courtesy of DAIMLERCHRYSLER CORPORATION
Fig 47: Identifying Instrument Panel Junction Block C10 Harness Connector Terminals
G00192502Courtesy of DAIMLERCHRYSLER CORPORATION
Fig 48: Identifying Instrument Panel Junction Block C11 Harness Connector Terminals
G00182054Courtesy of DAIMLERCHRYSLER CORPORATION
Fig 49: Identifying Instrument Panel Junction Block C12 Harness Connector Terminals
G00192509Courtesy of DAIMLERCHRYSLER CORPORATION
Fig 50: Identifying Junction Block Components & Circuits (1 Of 3)
G00176188Courtesy of DAIMLERCHRYSLER CORPORATION
Fig 51: Identifying Junction Block Components & Circuits (2 Of 3)
G00182055Courtesy of DAIMLERCHRYSLER CORPORATION
Fig 52: Identifying Junction Block Components & Circuits (3 Of 3)
G00182056Courtesy of DAIMLERCHRYSLER CORPORATION
Fig 53: Identifying Left Curtain Air Bag Harness Connector Terminals
G00182057Courtesy of DAIMLERCHRYSLER CORPORATION
Fig 54: Identifying Left Front Door Tweeter Harness Connector Terminals
G00176192Courtesy of DAIMLERCHRYSLER CORPORATION
Fig 55: Identifying Left Front Door Woofer Harness Connector Terminals
G00176191Courtesy of DAIMLERCHRYSLER CORPORATION
Fig 56: Identifying Left Front Park/Turn Signal Lamps Harness Connector Terminals
G00176193Courtesy of DAIMLERCHRYSLER CORPORATION
Fig 57: Identifying Left Headlamp Harness Connector Terminals
G00182058Courtesy of DAIMLERCHRYSLER CORPORATION
Fig 58: Identifying Left Rear Door Power Lock Motor/Ajar Switch Harness Connector Terminals
G00182059Courtesy of DAIMLERCHRYSLER CORPORATION
Fig 59: Identifying Left Rear Door Power Window Motor Harness Connector Terminals
G00182060Courtesy of DAIMLERCHRYSLER CORPORATION
Fig 60: Identifying Left Rear Door Power Window Switch Harness Connector Terminals
G00182061Courtesy of DAIMLERCHRYSLER CORPORATION
Fig 61: Identifying Left Rear Door Tweeter Harness Connector Terminals
G00182062Courtesy of DAIMLERCHRYSLER CORPORATION
Fig 62: Identifying Left Rear Door Woofer Harness Connector Terminals
G00182063Courtesy of DAIMLERCHRYSLER CORPORATION
Fig 63: Identifying Left Remote Radio Switch Harness Connector Terminals
G00182064Courtesy of DAIMLERCHRYSLER CORPORATION
Fig 64: Identifying Left Side Impact Air Bag Control Module Harness Connector Terminals
G00182065Courtesy of DAIMLERCHRYSLER CORPORATION
Fig 65: Identifying Liftgate Ajar Switch Harness Connector Terminals
G00182066Courtesy of DAIMLERCHRYSLER CORPORATION
Fig 66: Identifying Liftgate Cylinder Lock Switch Harness Connector Terminals
G00182067Courtesy of DAIMLERCHRYSLER CORPORATION
Fig 67: Identifying Liftgate Power Lock Motor Harness Connector Terminals
G00182068Courtesy of DAIMLERCHRYSLER CORPORATION
Fig 68: Identifying Low Note Horn Harness Connector Terminals
G00176198Courtesy of DAIMLERCHRYSLER CORPORATION
Fig 69: Identifying Mode Door Actuator Harness Connector Terminals
G00182069Courtesy of DAIMLERCHRYSLER CORPORATION
Fig 70: Identifying Multifunction Switch Harness Connector Terminals
G00182070Courtesy of DAIMLERCHRYSLER CORPORATION
Fig 71: Identifying Overhead Console Harness Connector Terminals
G00182071Courtesy of DAIMLERCHRYSLER CORPORATION
Fig 72: Identifying Passenger Air Bag Harness Connector Terminals
G00192473Courtesy of DAIMLERCHRYSLER CORPORATION
Fig 73: Identifying Passenger Blend Door Actuator Harness Connector Terminals
G00192474Courtesy of DAIMLERCHRYSLER CORPORATION
Fig 74: Identifying Passenger Door Ajar Switch Harness Connector Terminals
G00192475Courtesy of DAIMLERCHRYSLER CORPORATION
Fig 75: Identifying Passenger Door Cylinder Lock Switch Harness Connector Terminals
G00176202Courtesy of DAIMLERCHRYSLER CORPORATION
Fig 76: Identifying Passenger Door Power Lock Motor/Ajar Switch Harness Connector Terminals
G00181992Courtesy of DAIMLERCHRYSLER CORPORATION
Fig 77: Identifying Passenger Door Power Lock Switch Harness Connector Terminals
G00181993Courtesy of DAIMLERCHRYSLER CORPORATION
Fig 78: Identifying Passenger Door Power Window Motor Harness Connector Terminals
G00192476Courtesy of DAIMLERCHRYSLER CORPORATION
Fig 79: Identifying Passenger Door Power Window Switch Harness Connector Terminals
G00192477Courtesy of DAIMLERCHRYSLER CORPORATION
Fig 80: Identifying Power Distribution Center Components
G00192478Courtesy of DAIMLERCHRYSLER CORPORATION
Fig 81: Identifying Powertrain Control Module C1 Harness Connector Terminals (JTEC - 4.7L)
G00117241Courtesy of DAIMLERCHRYSLER CORP.
Fig 82: Identifying Powertrain Control Module C1 Harness Connector Terminals (JTEC - 5.9L)
G00117242Courtesy of DAIMLERCHRYSLER CORP.
Fig 83: Identifying Powertrain Control Module C1 Harness Connector Terminals (NGC - 4.7L)
G00117193Courtesy of DAIMLERCHRYSLER CORP.
Fig 84: Identifying Powertrain Control Module C2 Harness Connector Terminals (JTEC - 4.7L)
G00117243Courtesy of DAIMLERCHRYSLER CORP.
Fig 85: Identifying Powertrain Control Module C2 Harness Connector Terminals (JTEC - 5.9L)
G00117244Courtesy of DAIMLERCHRYSLER CORP.
Fig 86: Identifying Powertrain Control Module C2 Harness Connector Terminals (NGC - 4.7L)
G00117194Courtesy of DAIMLERCHRYSLER CORP.
Fig 87: Identifying Powertrain Control Module C3 Harness Connector Terminals (JTEC - 4.7L & 5.9L)
G00117245Courtesy of DAIMLERCHRYSLER CORP.
Fig 88: Identifying Powertrain Control Module C3 Harness Connector Terminals (NGC - 4.7L)
G00117195Courtesy of DAIMLERCHRYSLER CORP.
Fig 89: Identifying Powertrain Control Module C4 Harness Connector Terminals (NGC - 4.7L)
G00117196Courtesy of DAIMLERCHRYSLER CORP.
Fig 90: Identifying Radio C1 Harness Connector Terminals (Base)
G00192480Courtesy of DAIMLERCHRYSLER CORPORATION
Fig 91: Identifying Radio C2 Harness Connector Terminals (Base)
G00192481Courtesy of DAIMLERCHRYSLER CORPORATION
Fig 92: Identifying Radio Harness Connector Terminals (Midline/Premium)
G00192479Courtesy of DAIMLERCHRYSLER CORPORATION
Fig 93: Identifying Rear A/C-Heater Control Module Harness Connector Terminals
G00192482Courtesy of DAIMLERCHRYSLER CORPORATION
Fig 94: Identifying Rear Blend Door Actuator Harness Connector Terminals
G00192483Courtesy of DAIMLERCHRYSLER CORPORATION
Fig 95: Identifying Rear Blower Motor Harness Connector Terminals
G00192485Courtesy of DAIMLERCHRYSLER CORPORATION
Fig 96: Identifying Rear Blower Motor Resistor Block Harness Connector Terminals
G00192484Courtesy of DAIMLERCHRYSLER CORPORATION
Fig 97: Identifying Rear Heater Coolant Pump Harness Connector Terminals
G00192486Courtesy of DAIMLERCHRYSLER CORPORATION
Fig 98: Identifying Rear Mode Door Actuator Harness Connector Terminals
G00192487Courtesy of DAIMLERCHRYSLER CORPORATION
Fig 99: Identifying Rear Washer Pump/Motor Harness Connector Terminals
G00192488Courtesy of DAIMLERCHRYSLER CORPORATION
Fig 100: Identifying Rear Wiper Motor Harness Connector Terminals
G00192489Courtesy of DAIMLERCHRYSLER CORPORATION
Fig 101: Identifying Recirculation Door Actuator Harness Connector Terminals
G00192490Courtesy of DAIMLERCHRYSLER CORPORATION
Fig 102: Identifying Right Curtain Air Bag Harness Connector Terminals
G00192491Courtesy of DAIMLERCHRYSLER CORPORATION
Fig 103: Identifying Right Front Door Tweeter Harness Connector Terminals
G00192492Courtesy of DAIMLERCHRYSLER CORPORATION
Fig 104: Identifying Right Front Door Woofer Harness Connector Terminals
G00182004Courtesy of DAIMLERCHRYSLER CORPORATION
Fig 105: Identifying Right Front Park/Turn Signal Lamps Harness Connector Terminals
G00192493Courtesy of DAIMLERCHRYSLER CORPORATION
Fig 106: Identifying Right Headlamp Harness Connector Terminals
G00192494Courtesy of DAIMLERCHRYSLER CORPORATION
Fig 107: Identifying Right Rear Door Power Lock Motor/Ajar Switch Harness Connector Terminals
G00176195Courtesy of DAIMLERCHRYSLER CORPORATION
Fig 108: Identifying Right Rear Door Power Window Motor Harness Connector Terminals
G00192495Courtesy of DAIMLERCHRYSLER CORPORATION
Fig 109: Identifying Right Rear Door Power Window Switch Harness Connector Terminals
G00192496Courtesy of DAIMLERCHRYSLER CORPORATION
Fig 110: Identifying Right Rear Door Tweeter Harness Connector Terminals
G00192497Courtesy of DAIMLERCHRYSLER CORPORATION
Fig 111: Identifying Right Rear Door Woofer Harness Connector Terminals
G00182007Courtesy of DAIMLERCHRYSLER CORPORATION
Fig 112: Identifying Right Remote Radio Switch Harness Connector Terminals (Premium)
G00176196Courtesy of DAIMLERCHRYSLER CORPORATION
Fig 113: Identifying Right Side Impact Air Bag Control Module Harness Connector Terminals
G00192498Courtesy of DAIMLERCHRYSLER CORPORATION
Fig 114: Identifying Seat Belt Switch Harness Connector Terminals
G00192499Courtesy of DAIMLERCHRYSLER CORPORATION
Fig 115: Identifying Sentry Key Immobilizer Module Harness Connector Terminals
G00182008Courtesy of DAIMLERCHRYSLER CORPORATION
Fig 116: Identifying Transfer Case Control Module C1 Harness Connector Terminals
G00182009Courtesy of DAIMLERCHRYSLER CORPORATION
Fig 117: Identifying Transfer Case Control Module C2 Harness Connector Terminals
G00182010Courtesy of DAIMLERCHRYSLER CORPORATION
Fig 118: Identifying Transfer Case Control Module C3 Harness Connector Terminals
G00182011Courtesy of DAIMLERCHRYSLER CORPORATION
Fig 119: Identifying Transmission Control Module Harness Connector Terminals (4.7L - JTEC)
G00192500Courtesy of DAIMLERCHRYSLER CORPORATION
Fig 120: Identifying Transmission Range Sensor Harness Connector Terminals (5.9L)
G00182012Courtesy of DAIMLERCHRYSLER CORPORATION
Fig 121: Identifying Washer Fluid Level Switch Harness Connector
G00182014Courtesy of DAIMLERCHRYSLER CORPORATION