LEMON Manuals: Even more car manuals for everyone: 1960-2025
Home >> Ford >> 1994 >> Probe Base, Standard >> Repair and Diagnosis >> External Pages >> Different car >> Section 69 (Engine Controls - Tests W/Codes - EEC-IV) >> Circuit Tests >> Circuit Test XB - Variable Control Relay Module (VCRM) >> Diagnostic Aids
April 5, 2026: LEMON Manuals is launched! Read the announcement.

Diagnostic Aids

WARNING: This page is about a different car, the 1995 Lincoln Mark VIII. However, it is still accessible from the selected car via links, so may be relevant.

VCRM interfaces with the EEC-IV system to provide control for cooling fan,A/C clutch and A/C head pressure. VCRM also supplies VPWR to EEC-IV system and PCM.

Perform this test only when instructed by QUICK TEST or directed by other test procedures. VCRM is located in left front of vehicle behind front grille. This test is only intended to diagnose following.

Refer to illustration for VCRM connector terminal identification. See Fig 1 . For VCRM terminals and wiring identification, see the WIRING DIAGRAMS article. To prevent replacing good components, be aware that the following unrelated components or systems may be at fault.

  1. 1) Check Battery Supply Power

    Turn ignition on. Set DVOM on 20-volt scale. Measure voltage across battery terminals. If voltage is less than 10.5 volts, service or replace discharged battery. Check charging system. If voltage is 10.5 volts or more, go to next step.
  2. 2) PCM Ground Fault Isolation

    Ensure ignition is off. Install breakout box, and connect PCM. Set DVOM on 20-volt scale. Measure voltage between positive battery terminal and SIG RTN terminal (Gray/Red wire) at Data Link Connector (DLC). If voltage is more than 10.5 volts and within one volt of reading in step 1), go to step 10). If voltage is not as specified, go to next step.
  3. 3) Check Continuity Of SIG RTN Circuit

    Turn ignition off. With breakout box installed, disconnect PCM. Measure resistance between test pin No. 46 at breakout box and SIG RTN terminal (Gray/Red wire) at DLC. If resistance is less than 5 ohms, go to next step. If resistance is 5 ohms or more, repair open SIG RTN circuit. Remove breakout box, and reconnect all components. Repeat QUICK TEST  .
  4. 4) Check PCM Ground Circuit

    Turn ignition off. With breakout box installed and PCM disconnected, measure resistance between negative battery terminal and test pins No. 40 and 60 at breakout box. If both readings are less than 5 ohms, go to next step. If any reading is 5 ohms or more, repair open in ground circuit. Remove breakout box, and reconnect all components. Repeat QUICK TEST  .
  5. 5) Check Internal PCM Ground Circuits

    Turn ignition off. With breakout box installed, reconnect PCM connector. Measure resistance between test pin No. 46 and test pins No. 40 and 60 at breakout box. If each resistance is less than 5 ohms, system tests okay. Remove breakout box. Reconnect PCM, and repeat QUICK TEST  . If any resistance is 5 ohms or more, replace PCM. Remove breakout box, and reconnect all components. Repeat QUICK TEST  .
    NOTE: A break in step numbering sequence occurs at this point. Procedure skips from step 5) to step 10). No test procedures have been omitted.
  6. 10) Check Continuity Of VPWR Circuit

    Turn ignition off. With break-out box installed, disconnect PCM connector. Disconnect and inspect VCRM connector. Clean or repair connector as necessary. Measure resistance between terminal No. 7 (Red wire) at VCRM wiring harness connector and test pins No. 37 and 57 at breakout box. If each resistance is less than 5 ohms, go to next step. If any resistance is 5 ohms or more, repair open in VPWR circuit between PCM and VCRM. Remove breakout box, and reconnect all components. Repeat QUICK TEST  .
  7. 11) Check For B (+) & IGN START/RUN Power To VCRM

    Turn ignition off. With breakout box installed and PCM and VCRM disconnected, measure voltage between terminal No. 6 (Yellow wire) at VCRM wiring harness connector and negative battery terminal. Record voltage reading. Turn ignition on. Measure voltage between terminal No. 17 (Red/Light Green wire) at VCRM wiring connector and negative battery terminal. If both readings are 10.5 volts or more, go to next step. If any reading is less than 10.5 volts, turn ignition off. Repair open in B (+) or IGN START/RUN circuit. Remove breakout box, and reconnect all components. Repeat QUICK TEST  .
  8. 12) Check VCRM Ground (Terminal No. 16)

    Turn ignition off. With breakout box installed and PCM and VCRM disconnected, measure resistance between terminal No. 16 (Black/Yellow wire) at VCRM connector and negative battery terminal. If resistance is less than 5 ohms, replace VCRM. Remove breakout box, and reconnect all components. Repeat QUICK TEST  . If resistance is 5 ohms or more, repair open ground circuit. Remove breakout box, and reconnect all components. Repeat QUICK TEST  .
    NOTE: A break in step numbering sequence occurs at this point. Procedure skips from step 12) to step 15). No test procedures have been omitted.
  9. 15) Continuous Memory Code 584

    Continuous Memory Code 584 indicates VCRM PWR GND circuit is open. This could be due to a hard fault or an intermittent condition. Following are possible causes for this fault.
    • Open VCRM PWR GND circuit.
    • Damaged VCRM.

    Clear continuous memory. See CLEARING CODES  under SELF-DIAGNOSTIC SYSTEM. Start engine. Turn A/C on and wait 15 seconds. Turn A/C and ignition off. Perform Key On Engine Off (KOEO) SELF-TEST. If Code 584 is present (hard code), go to next step. If Code 584 is not present (intermittent), go to step 18).

  10. 16) Check Continuity Of VCRM PWR GND Circuit

    Turn ignition off. Disconnect and inspect VCRM connector. Clean or repair connector as necessary. Measure resistance between terminal No. 1 (Black wire) at VCRM connector and negative battery terminal. If resistance is less than 5 ohms, replace VCRM. Reconnect all components. Clear continuous memory. Start engine. Turn A/C on and wait 15 seconds. Turn A/C and ignition off. Repeat QUICK TEST  . If resistance is 5 ohms or more, repair open in ground circuit (Black wire). Reconnect all components. Clear continuous memory. Start engine. Turn A/C on and wait 15 seconds. Turn A/C and ignition off. Repeat QUICK TEST  .
    NOTE: A break in step numbering sequence occurs at this point. Procedure skips from step 16) to step 18). No test procedures have been omitted.
  11. 18) Check VCRM PWR GND Circuit

    Turn ignition off. Visually inspect VCRM PWR GND circuit (Black wire) between terminal No. 1 at VCRM connector and ground. VCRM circuit is grounded at a weld nut on right side of radiator support. Repair wiring as necessary. Start engine. Turn A/C on. Shake, wiggle and bend VCRM PWR GND circuit between VCRM and circuit's ground point. Also, lightly tap on VCRM to simulate road shock. An open circuit will be indicated by fan speed increasing to 100 percent (open circuit must be present for 5 seconds). If an open circuit is detected, isolate fault and repair as necessary. Clear continuous memory (Code 584 should have been set). Start engine. Turn A/C on and wait 15 seconds. Turn A/C and ignition off. Repeat QUICK TEST  . If an open circuit is not detected, turn A/C and ignition off. Go to next step.
  12. 19) Check VCRM PWR GND Circuit (Cont.)

    Turn ignition off. Disconnect and inspect VCRM connector. Clean or repair connector as necessary. Connect a test light between terminals No. 1 (Black wire) and No. 5 (Yellow wire) of VCRM wiring harness connector. Observe test light, and shake, wiggle and bend VCRM PWR GND circuit between VCRM and circuit's ground point at right side of radiator support. Test light will go out if a fault is detected, indicating open circuit. If an open circuit is detected, isolate fault and repair as necessary. Start engine. Turn A/C on and wait 15 seconds. Turn A/C and ignition off. Repeat QUICK TEST  . If open circuit is not detected, fault is intermittent and cannot be duplicated at this time. Testing is complete. Reconnect all components.
  13. 20) Continuous Memory Code 581

    Continuous Memory Code 581 indicates that when cooling fan was activated, power to cooling fan circuit exceeded normal current draw. This could be due to a hard fault or an intermittent condition. Following are possible causes for this fault.
    • Short to ground in power-to-cooling fan circuit.
    • Faulty cooling fan motor.
    • Faulty VCRM

    Clear continuous memory. See CLEARING CODES  under SELF-DIAGNOSTIC SYSTEM. Start engine. Turn A/C on and wait 15 seconds. Turn A/C and ignition off. Perform Key On Engine Off (KOEO) SELF-TEST. If Code 581 is present (hard code), go to next step. If Code 581 is not present (intermittent), go to step 24).

  14. 21) Check Cooling Fan Motor

    Clear continuous memory. Disconnect cooling fan motor connector. Start engine. Turn A/C on and wait 15 seconds. Turn A/C and ignition off. Perform Key On Engine Off (KOEO) self-test. If Code 581 is present, go to next step. If Code 581 is not present, replace cooling fan motor. Reconnect all connectors and repeat QUICK TEST  .
  15. 22) Check For Short To Ground In Cooling Fan Circuit

    Turn ignition off. Ensure cooling fan motor connector is disconnected. Disconnect and inspect VCRM connector. Clean or repair connector as necessary. Measure resistance between Light Blue wire at cooling fan connector and negative battery terminal. If resistance is more than 10,000 ohms, replace VCRM. Reconnect all components. Clear continuous memory. Start engine. Turn A/C on and wait 15 seconds. Turn A/C and ignition off. Repeat QUICK TEST  . If resistance is 10,000 ohms or less, repair short to ground in Light Blue wire. Clear continuous memory. Start engine. Turn A/C on and wait 15 seconds. Turn A/C and ignition off. Repeat QUICK TEST  .
    NOTE: A break in step numbering sequence occurs at this point. Procedure skips from step 22) to step 24). No test procedures have been omitted.
  16. 24) Check For Intermittent Short To Ground In Cooling Fan Circuit

    Turn ignition off. Visually inspect power-to-cooling fan circuit between terminal No. 2 (Light Blue wire) of VCRM connector and cooling fan motor connector. Repair wiring as necessary. Start engine. Turn A/C on. Shake, wiggle and bend power-to-cooling fan circuit between VCRM and cooling fan motor connector. A short to ground will be indicated by cooling fan turning off. Turn A/C and ignition off. If a short to ground is detected, isolate fault and repair as necessary. Clear continuous memory (Code 581 should have been set). Start engine. Turn A/C on and wait 15 seconds. Turn A/C and ignition off. Repeat QUICK TEST  . If a short to ground is not detected, go to next step.
  17. 25) Check VCRM Connector & Cooling Fan Circuit

    Turn ignition off. Disconnect and inspect VCRM connector. Clean or repair connector as necessary. Connect a test light between terminals No. 2 (Light Blue wire) and No. 4 (Yellow wire) at VCRM connector. Test light should glow, but not at full brightness. Observe test light, and shake, wiggle and bend power-to-cooling fan circuit (Light Blue wire) near cooling fan. A short to ground is present if test light gets brighter. If a short to ground is detected, isolate fault and repair as necessary. Start engine. Turn A/C on and wait 15 seconds. Turn A/C and ignition off. Repeat QUICK TEST  . If a short to ground is not detected, disconnect and inspect cooling fan connector. Clean or repair connector as necessary. With test light still connected between terminals No. 2 and 4 of VCRM connector, observe test light and repeat power-to-cooling fan circuit wiggle test. If a short to ground is detected (test light gets brighter), isolate fault and repair as necessary. Start engine. Turn A/C on and wait 15 seconds. Turn A/C and ignition off. Repeat QUICK TEST  . If a short to ground is not detected, fault is intermittent and cannot be duplicated at this time. Testing is complete. Reconnect all components.
    NOTE: A break in step numbering sequence occurs at this point. Procedure skips from step 25) to step 30). No test procedures have been omitted.
  18. 30) Code 582

    KOEO Code 582 indicates an open or short to power in cooling fan circuit. Following are possible causes for this fault.
    • Open or short to power in cooling fan circuit.
    • Open cooling fan motor ground circuit.
    • Open circuit in cooling fan.
    • Faulty VCRM.

    If KOEO Code 587 is also present, repair fault causing KOEO Code 587 to set prior to continuing this test. Go to step 170). Ensure cooling fan was not turning during KOEO self-test. If fan was turning, feedback voltage could be sent to VCRM through power-to-cooling fan circuit, resulting in an invalid KOEO Code 582. Ensure engine is cooled down (cooling fan off). Ensure defroster and A/C are off. Turn ignition off. Check cooling fan. If cooling fan is on, go to step 35). If cooling fan is off, go to next step.

  19. 31) Check Power To Cooling Fan

    Turn ignition off. Disconnect cooling fan connector. Start engine. Turn A/C on. Measure voltage between ground and power to cooling fan circuit (Light Blue wire) at cooling fan connector. If voltage is 6 volts or more, turn ignition off. Replace cooling fan. Repeat QUICK TEST  . If voltage is less than 6 volts, go to next step.
  20. 32) Check Continuity Of Cooling Fan Circuit

    Turn ignition off. Ensure cooling fan is disconnected. Measure resistance between ground circuit (Black wire) at cooling fan motor connector and negative battery terminal. If resistance is less than 5 ohms, go to next step. If resistance is 5 ohms or more, repair open in Black wire between cooling fan motor connector and ground. Reconnect cooling fan connector. Repeat QUICK TEST  .
  21. 33) Check Continuity Of Cooling Fan Circuit (Cont.)

    Turn ignition off. Ensure cooling fan is disconnected. Disconnect and inspect VCRM connector. Clean or repair connector as necessary. Measure resistance between Light Blue wire at cooling fan motor connector and terminals No. 2 and 3 of VCRM connector. If resistance is less than 5 ohms, replace VCRM. Reconnect all components. Repeat QUICK TEST  . If resistance is 5 ohms or more, repair open in power-to-cooling fan circuit (Light Blue wire). Reconnect all components. Repeat QUICK TEST  .
    NOTE: A break in step numbering sequence occurs at this point. Procedure skips from step 33) to step 35). No test procedures have been omitted.
  22. 35) Check Power To Cooling Fan Circuit For Short To Power

    Turn ignition off. Disconnect cooling fan motor connector. Disconnect and inspect VCRM connector. Clean or repair connector as necessary. Turn ignition on. Measure voltage between Light Blue wire at cooling fan connector and negative battery terminal. If voltage is less than one volt, replace VCRM. Reconnect all components. Repeat QUICK TEST  . If voltage is more than one volt, repair short to power in Light Blue wire. Reconnect all components. Repeat QUICK TEST  .
    NOTE: A break in step numbering sequence occurs at this point. Procedure skips from step 35) to step 40). No test procedures have been omitted.
  23. 40) Continuous Memory Code 578

    Continuous Memory Code 578 indicates A/C Pressure (ACP) sensor VREF circuit is shorted to ground. This could be due to a hard fault or an intermittent condition. Following are possible causes for this fault.
    • ACP sensor VREF circuit is shorted to ground.
    • Faulty ACP sensor.
    • Faulty VCRM.

    Clear continuous memory. Start engine. Wait 15 seconds. Turn ignition off. Perform Key On Engine Off (KOEO) SELF-TEST. If Code 578 is present (hard code), go to next step. If Code 578 is not present (intermittent), go to step 44).

  24. 41) Check ACP Sensor

    Clear continuous memory. Turn ignition off. Disconnect ACP sensor connector. Start engine and wait 15 seconds. Turn ignition off. Perform Key On Engine Off (KOEO) SELF-TEST. If Code 578 is present, go to next step. If Code 578 is not present, replace ACP sensor. Clear continuous memory. Start engine and wait 15 seconds. Turn ignition off. Repeat QUICK TEST  .
  25. 42) Check ACP VREF Circuit For Short To Ground

    Ensure ACP sensor is disconnected. Disconnect and inspect VCRM connector. Clean or repair connector as necessary. Measure resistance between ACP VREF circuit (Orange/Light Blue wire) at ACP sensor connector and negative battery terminal. If resistance is more than 10,000 ohms, replace VCRM. Reconnect all components. Clear continuous memory. Start engine and wait 15 seconds. Turn ignition off. Repeat QUICK TEST  . If resistance is 10,000 ohms or less, repair short to ground in ACP VREF circuit (Orange/Light Blue wire).
    NOTE: A break in step numbering sequence occurs at this point. Procedure skips from step 42) to step 44). No test procedures have been omitted.
  26. 44) Check For Intermittent Short To Ground In ACP VREF Circuit

    Turn ignition off. Visually inspect ACP VREF circuit between terminal No. 20 (Orange/Light Blue wire) at VCRM connector and ACP sensor connector. Repair wiring as necessary. Disconnect and inspect ACP sensor connector. Clean or repair connector as necessary. Disconnect and inspect VCRM connector. Clean and repair connector as necessary. Connect test light between terminals No. 6 (Yellow wire) and No. 20 (Orange/Light Blue wire) at VCRM connector. Observe test light, and shake, wiggle and bend ACP VREF circuit between ACP sensor connector and VCRM connector. If a fault is detected, test light will turn on, indicating a short to ground. If a short to ground is detected, isolate fault and repair wiring as necessary. Reconnect all components. Start engine and wait 15 seconds. Turn ignition off. Repeat QUICK TEST  . If a short to ground is not detected, fault is intermittent and cannot be duplicated. Testing is complete. Reconnect all components.
    NOTE: A break in step numbering sequence occurs at this point. Procedure skips from step 44) to step 50). No test procedures have been omitted.
  27. 50) Continuous Memory Code 579: Check ACP, VREF and ACP SIG RTN Circuits

    Continuous Memory Code 579 indicates A/C Pressure (ACP) sensor did not detect a sufficient change in A/C system pressure when A/C system was turned on. This could be due to a problem in ACP sensor circuit or A/C system, and can be a hard fault or an intermittent condition. Following are possible causes for this fault.
    • Open or shorted ACP sensor circuit.
    • Faulty ACP sensor.
    • Faulty VCRM.
    • Power to A/C clutch circuit open. Continuous Memory Code 586 may also be present.

    If Continuous Memory Code 586 is present, repair fault causing code prior to continuing this test. Go to step 80). If Code 586 is not present, turn ignition off. Disconnect ACP sensor. Turn ignition on. Measure voltage between ACP VREF terminal (Orange/Light Blue wire) and ACP SIG RTN terminal (Light Blue/Red wire) at ACP sensor connector. See Fig 2 . If voltage is more than 6 volts, go to step 62). If voltage is less than 4 volts, go to step 63). If voltage is 4-6 volts, go to next step.

    Fig 2: Identifying ACP Sensor Wiring Harness Connector Terminals
    G93C28896
  28. 51) Check If A/C Clutch Engages

    Turn ignition off. Reconnect ACP sensor. Start engine. Turn A/C on and wait 30 seconds. If A/C clutch engages, go to next step. If A/C clutch does not engage go to step 57).
  29. 52) Clear And Attempt To Reset Code 579

    Clear continuous memory. Start engine. Turn A/C on and wait until clutch engages. Turn A/C off and wait 5 seconds. Repeat turning A/C on and off 4 more times with each engagement lasting about 20 seconds. Turn A/C and engine off. Repeat Key On Engine Off (KOEO) self-test. If Code 579 is present, go to next step. If Code 579 is not present, ACP is now functioning. Either ACP is intermittent or marginal mechanical condition exists in A/C system, go to step 66).
  30. 53) Check A/C System Pressure & Pressure Change

    Turn ignition off. Ensure ACP sensor is disconnected. Install A/C system manifold gauge set. With A/C off, start engine. Observe A/C high pressure gauge reading, and turn A/C on. After 10 seconds, note pressure reading. High pressure should increase. If A/C high pressure gauge reading changes by more than 20 psi within 10 seconds of A/C clutch engagement, turn A/C and ignition off and go to next step. If A/C high pressure gauge reading does not change by more than 20 psi within 10 seconds of turning A/C on, check A/C system for mechanical fault. Service A/C system as necessary. Clear continuous memory. Attempt to reset Code 579 (see step 52) for reset procedure only). Repeat QUICK TEST  .
  31. 54) Check ACP Sensor Output

    Turn ignition off. Ensure ACP sensor is disconnected. Install A/C system manifold gauge set. Connect jumper wires and DVOM between ACP sensor connector halves as shown. See Fig 3 . Start engine and observe voltage reading on DVOM. Turn A/C on and observe voltage reading for 10 seconds after clutch engages.
    NOTE: Listen to A/C clutch to ensure clutch does not disengage during 10 seconds of testing. If clutch disengages, retest.

    If ACP sensor voltage changes by more than .2 volt within 10 seconds of clutch engagement, sensor is operational. Remove jumper wires and go to next step. If ACP sensor voltage does not change by more than .2 volt within 10 seconds of turning A/C on, replace ACP sensor. Remove A/C system manifold gauge set. Remove jumper wires, and reconnect all components. Clear continuous memory. Attempt to reset Code 579 (see step 52) for reset procedure only). Repeat QUICK TEST  .

    Fig 3: Testing ACP Sensor
    G94A31609
  32. 55) Check ACP Circuit For Short To Ground

    Turn ignition off. Ensure ACP sensor is disconnected. Disconnect VCRM connector. Measure resistance between negative battery terminal and ACP circuit terminal (Dark Green/White wire) at ACP sensor wiring harness connector. Record resistance reading. Measure resistance between ACP circuit terminal (Dark Green/White) and ACP SIG RTN circuit (Light Blue/Red wire) at ACP sensor wiring harness connector. If each reading is more than 10,000 ohms, replace VCRM. Reconnect all components, clear continuous memory attempt to reset Code 579 (see step 52) for reset procedure only). Repeat QUICK TEST  . If any reading is 10,000 ohms or less, ACP or ACP SIG RTN circuit is shorted to ground. Repair shorted circuit, reconnect all components and clear continuous memory. Attempt to reset Code 579 (see step 52) for reset procedure only). Repeat QUICK TEST  .
    NOTE: A break in step numbering sequence occurs at this point. Procedure skips from step 55) to step 57). No test procedures have been omitted.
  33. 57) Check Voltage To A/C Clutch

    Turn ignition off. Disconnect A/C cycling pressure switch. Connect a jumper wire between of A/C cycling pressure switch wiring harness connector terminals. Disconnect A/C clutch connector. Connect a test light between A/C clutch wiring harness connector terminals. Start engine. Turn A/C on and wait 10 seconds. If test light is off, go to next step. If test light is on, circuit is okay. Check A/C system for mechanical problems. Reconnect all components, clear continuous memory. Attempt to reset Code 579 (see step 52) for reset procedure only). Repeat QUICK TEST  .
  34. 58) Check Continuity Of ACP Circuit

    Turn ignition off. Ensure ACP sensor is disconnected. Disconnect and inspect VCRM connector. Clean or repair connector as necessary. Measure resistance between ACP signal terminal at ACP wiring harness connector and terminal No. 19 (Dark Green/White wire) at VCRM wiring harness connector. If resistance is less than 5 ohms, go to next step. If resistance is 5 ohms or more, repair open in ACP circuit (Dark Green/White wire). Remove A/C system manifold gauge set. Reconnect all components. Clear continuous memory. Start engine. Turn A/C on and wait 15 seconds. Turn A/C and ignition off. Repeat QUICK TEST  .
  35. 59) Check ACP Circuit For Short To ACP VREF

    Turn ignition off. Ensure ACP sensor and VCRM are disconnected. Measure resistance between ACP signal terminal (Dark Green/White wire) and ACP VREF terminal (Orange/Light Blue wire) at ACP sensor wiring harness connector. If resistance is more than 10,000 ohms, go to next step. If resistance is 10,000 ohms or less, ACP signal circuit is shorted to ACP VREF circuit. Repair as necessary. Reconnect all components. Clear continuous memory. Start engine. Turn A/C on and wait 20 seconds. Turn A/C and ignition off. Repeat QUICK TEST  .
  36. 60) Check ACP Circuit For Short To Power

    Turn ignition off. Ensure ACP sensor and VCRM are disconnected. Turn ignition on. Measure voltage between ACP signal terminal (Dark Green/White wire) at ACP sensor wiring harness connector and negative battery terminal. If voltage is less than one volt, go to next step. If voltage is one volt or more, repair short to power in ACP circuit. Reconnect all components. Clear continuous memory. Start engine. Turn A/C on and wait 15 seconds. Turn A/C and ignition off. Repeat QUICK TEST  .
  37. 61) Check If Test Light Will Turn On With ACP Circuit Grounded

    Turn ignition off. Ensure ACP sensor is disconnected. Reconnect VCRM. Disconnect A/C cycling pressure switch. Connect a jumper wire between A/C cycling pressure switch wiring harness connector terminals. Disconnect A/C compressor clutch connector. Connect a test light between wiring harness side of A/C compressor clutch connector terminals. Connect a jumper wire between negative battery terminal and ACP signal circuit (Dark Green/White wire) at ACP sensor wiring harness connector. See Fig 2 . Start engine. Turn A/C on and wait 10 seconds. Observe test light. If test light is on, replace ACP sensor. Turn A/C off. Reconnect all components. Clear continuous memory. Start engine and turn A/C on for 20 seconds then turn ignition off. Repeat QUICK TEST  . If test light is off, replace VCRM. Reconnect all components. Clear continuous memory. Start engine and turn A/C on for 20 seconds then turn ignition off. Repeat QUICK TEST  .
  38. 62) Check For Short To Power In ACP VREF Circuit

    Turn ignition off. Ensure ACP sensor is disconnected. Disconnect and inspect VCRM connector. Clean or repair connector as necessary. Turn ignition on. Measure voltage between negative battery terminal and ACP VREF terminal (Orange/Light Blue wire) at ACP sensor wiring harness connector. If voltage is less than one volt, replace VCRM. Reconnect all components. Clear continuous memory. Attempt to reset Code 579 (see step 52) for procedure only). Repeat QUICK TEST  . If voltage is one volt or more, repair short to power in ACP VREF circuit (Orange/Light Blue wire). Reconnect all components. Clear continuous memory. Attempt to reset Code 579 (see step 52) for procedure only). Repeat QUICK TEST  .
  39. 63) Check Continuity Of ACP SIG RTN & VREF Circuits

    Turn ignition off. Ensure ACP sensor is disconnected. Disconnect and inspect VCRM connector. Clean or repair connector as necessary. Measure resistance between ACP SIG RTN terminal (Light Blue/Red wire) at ACP sensor wiring harness connector and terminal No. 12 (Light Blue/Red wire) at VCRM wiring harness connector. Record resistance reading. Measure resistance between ACP VREF terminal (Orange/Light Blue wire) at ACP sensor wiring harness connector and terminal No. 20 (Orange/Light Blue wire) at VCRM wiring harness connector. If both readings are less than 5 ohms, go to next step. If any reading is 5 ohms or more, repair open in ACP VREF circuit (Orange/Light Blue wire) or ACP SIG RTN circuit (Light Blue/Red wire). Reconnect all components. Clear continuous memory. Start engine. Attempt to reset Code 579 (see step 52) for procedure only). Repeat QUICK TEST  .
  40. 64) Check ACP SIG RTN Circuit For Short To VREF

    Turn ignition off. Ensure ACP sensor and VCRM connectors are disconnected. Measure resistance between ACP SIG RTN terminal (Light Blue/Red wire) and ACP VREF terminal (Orange/Light Blue wire) at ACP sensor wiring harness connector. If resistance is more than 10,000 ohms, go to next step. If resistance is 10,000 ohms or less, ACP SIG RTN circuit is shorted to ACP VREF circuit. Repair wiring as necessary. Reconnect all components. Clear continuous memory. Attempt to reset Code 579 (see step 52) for procedure only). Repeat QUICK TEST  .
  41. 65) Check For Short To Power In ACP SIG RTN Circuit

    Turn ignition off. Ensure ACP sensor and VCRM connectors are disconnected. Turn ignition on. Measure voltage between negative battery terminal and ACP SIG RTN terminal (Light Blue/Red wire) at ACP sensor wiring harness connector. If voltage is less than one volt, replace VCRM. Reconnect all components. Clear continuous memory. Attempt to reset Code 579 (see step 52) for procedure only). Repeat QUICK TEST  . If voltage is one volt or more, repair short to power in ACP SIG RTN circuit (Light Blue/Red wire). Reconnect all components. Clear continuous memory. Attempt to reset Code 579 (see step 52) for procedure only). Repeat QUICK TEST  .
  42. 66) Check A/C Cooling Performance

    Check A/C system performance. If A/C system cools properly, go to step 67). If A/C system does not cool properly, Check mechanical condition of A/C system. If mechanical condition is okay, go to next step.
  43. 67) Check For Intermittent Open In ACP VREF & ACP SIG RTN Circuits

    Turn A/C and ignition off. Disconnect and inspect ACP sensor connector. Clean or repair connector as necessary. Turn ignition on. Connect test light between ACP VREF terminal (Orange/Light Blue wire) and ACP SIG RTN terminal (Light Blue/Red wire) at ACP sensor wiring harness connector. Test light should turn on. If test light does not glow sufficiently, a DVOM may be used instead of test light to monitor 5-volt reference signal. Observe test light/DVOM, and shake, wiggle and bend ACP VREF and ACP SIG RTN circuits between ACP sensor connector and VCRM connector. If a fault is detected, test light will turn off or DVOM voltage will drop, indicating open circuit. If open circuit is detected, isolate fault and repair wiring as necessary. Reconnect all components. Clear continuous memory. Start engine. Turn A/C on and wait 20 seconds. Turn A/C and ignition off. Repeat QUICK TEST  . If open circuit is not detected, go to next step.
  44. 68) Check ACP Signal Circuit For Intermittent Short

    Turn ignition off. Ensure ACP sensor is disconnected. Connect test light or DVOM between ACP VREF terminal (Orange/Light Blue wire) and ACP signal terminal (Dark Green/White wire) at ACP sensor connector. Test light should be off or DVOM reading should be zero volts. Observe test light/DVOM, and shake, wiggle and bend ACP signal circuit (Dark Green/White wire) between ACP sensor connector and VCRM connector. Lightly tap on VCRM to simulate road shock. If a fault is detected, test light will turn on or DVOM reading will show 5 volts, indicating a short to ground. If a short to ground is detected, isolate fault and repair wiring as necessary. Reconnect all components. Clear continuous memory. Start engine. Turn A/C on and wait 20 seconds. Turn A/C and ignition off. Repeat QUICK TEST  . If a short to ground is not detected, remove test light/DVOM. Reconnect test light/DVOM between ACP SIG RTN terminal (Light Blue/Red wire) and ACP signal terminal (Dark Green/White wire) at ACP sensor wiring harness connector. Observe test light/DVOM, and repeat wiggle test of ACP signal circuit. If a fault is detected, test light will turn on or DVOM reading will show 5 volts, indicating a short to power. If a short to power is detected, isolate fault and repair wiring as necessary. Reconnect all components. Clear continuous memory. Start engine. Turn A/C on and wait 20 seconds. Turn A/C and ignition off. Repeat QUICK TEST  . If short to power is not detected, go to next step.
  45. 69) Check ACP Signal Circuit For Intermittent Open

    Turn ignition off. Ensure ACP sensor is disconnected. Disconnect and inspect VCRM connector. Clean or repair connector as necessary. Using a DVOM, measure resistance of Dark Green/White wire between terminal No. 19 at VCRM wiring harness connector and ACP signal terminal at ACP sensor wiring harness connector. See Fig 2 . If resistance is 5 ohms or more, isolate fault and repair wiring as necessary. Reconnect all components. Clear continuous memory. Start engine. Turn A/C on and wait 20 seconds. Turn A/C and ignition off. Repeat QUICK TEST  . If resistance is less than 5 ohms, observe DVOM, and shake, wiggle and bend ACP signal circuit (Dark Green/White wire) between ACP sensor wiring harness connector and VCRM wiring harness connector. If a fault is detected, DVOM reading will show 5 ohms or more, indicating an open circuit. If an open circuit is detected, isolate fault and repair wiring as necessary. Reconnect all components. Clear continuous memory. Start engine. Turn A/C on and wait 20 seconds. Turn A/C and ignition off. Repeat QUICK TEST  . If an open circuit is not detected, fault is intermittent and cannot be duplicated at this time. Reconnect all components.
  46. 70) Continuous Memory Code 585

    Continuous Memory Code 585 indicates that power to A/C clutch exceeded normal current draw when A/C was turned on. This could be due to a hard fault or an intermittent condition. Following are possible causes for this fault.
    • Short to ground in power to A/C clutch circuit.
    • Faulty A/C clutch.
    • Faulty VCRM.

    Clear continuous memory. Start engine. Turn A/C on and wait 15 seconds. Turn A/C and ignition off. Perform Key On Engine Off (KOEO) SELF-TEST. If Code 585 is present (hard code), go to next step. If Code 585 (intermittent) is not present, go to step 74).

  47. 71) Check A/C Clutch

    Clear continuous memory. Disconnect A/C clutch connector. Start engine. Turn A/C on and wait 15 seconds. Turn A/C and ignition off. Repeat Key On Engine Off (KOEO) self-test. Ignore Code 586 if set. If Code 585 is present, go to next step. If Code 585 is not present, check for short to ground in A/C clutch wiring circuit. Repair wiring as necessary. If wiring is okay, replace A/C clutch. Reconnect all components. Clear continuous memory. Start engine. Turn A/C on and wait 15 seconds. Turn A/C and ignition off. Repeat QUICK TEST  .
  48. 72) Check For Short To Ground In A/C Clutch Circuit

    Turn ignition off. Ensure A/C clutch is disconnected. Disconnect and inspect VCRM connector. Clean or repair connector as necessary. Measure resistance between Purple wire at A/C clutch connector and negative battery terminal. If resistance is more than 10,000 ohms, replace VCRM. Reconnect all components. Clear continuous memory. Start engine. Turn A/C on and wait 15 seconds. Turn A/C and ignition off. Repeat QUICK TEST  . If resistance is 10,000 ohms or less, repair short to ground in Purple wire. Reconnect all components. Clear continuous memory. Start engine. Turn A/C on and wait 15 seconds. Turn A/C and ignition off. Repeat QUICK TEST  .
    NOTE: A break in step numbering sequence occurs at this point. Procedure skips from step 72) to step 74). No test procedures have been omitted.
  49. 74) Check For Intermittent Short To Ground In Power-To-A/C Clutch Circuit

    Turn ignition off. Visually inspect Purple wire between A/C clutch and VCRM. Repair wiring as necessary. Start engine and turn A/C on. Shake, wiggle and bend Purple wire between A/C clutch connector and VCRM. A short to ground will be indicated by A/C clutch disengaging for other than normal A/C cycling pressure switch operation. If a short to ground is not detected, go to next step. If a short to ground is detected, isolate fault and repair as necessary. Clear continuous memory (Code 585 should have been set). Start engine. Turn A/C on and wait 15 seconds. Turn A/C and ignition off. Repeat QUICK TEST  .
  50. 75) Check A/C Clutch Circuit For Intermittent Short To Ground

    Turn ignition off. Disconnect and inspect VCRM connector. Clean or repair connector as necessary. Disconnect and inspect A/C clutch connector. Clean or repair connector as necessary. Connect a test light between terminals No. 4 (Yellow wire) and No. 14 (Purple wire) at VCRM connector. Observe test light, and shake, wiggle and bend Purple wire between A/C clutch connector and VCRM connector. If a fault is detected, test light will turn on, indicating a short to ground. If a short to ground is detected, isolate fault and repair wiring as necessary. Reconnect all components. Start engine and wait 15 seconds. Turn ignition off. Repeat QUICK TEST  . If a short to ground is not detected, fault is intermittent and cannot be duplicated at this time. Testing is complete. Reconnect all components.
    NOTE: A break in step numbering sequence occurs at this point. Procedure skips from step 75) to step 80). No test procedures have been omitted.
  51. 80) Continuous Memory Code 586

    Continuous Memory Code 586 indicates an open or short to power in A/C clutch circuit. This could be due to a hard fault or an intermittent condition. Following are possible causes for this fault.
    • Open or short to power in A/C clutch wiring harness.
    • Open A/C clutch ground (VCRM terminal No. 13).
    • Open VCRM A/C ground (VCRM terminal No. 15 to weld nut on left side of radiator support).
    • A/C clutch open circuit.
    • Damaged VCRM.

    Clear continuous memory. Turn A/C and defroster off. Start engine and wait 15 seconds. Turn ignition off. Perform Key On Engine Off (KOEO) SELF-TEST. If Code 586 is present (hard code), go to next step. If Code 586 is not present, fault is intermittent. Go to step 85).

  52. 81) Check Short To Power In A/C Clutch Circuit

    Turn ignition off. Disconnect A/C clutch connector. Disconnect and inspect VCRM connector. Clean or repair connector as necessary. Turn ignition on. Start engine and wait 15 seconds. Turn ignition off. Measure voltage at Purple wire between negative battery terminal and A/C clutch wiring harness connector. If voltage is less than one volt, go to next step. If voltage is one volt or more, repair short to power in Purple wire. Reconnect all components. Clear continuous memory. Start engine. Turn A/C on and wait 15 seconds. Turn A/C and ignition off. Repeat QUICK TEST  .
  53. 82) Check Continuity Of A/C Clutch & VCRM A/C Ground Circuits

    Turn ignition off. Ensure A/C clutch and VCRM are disconnected. Measure resistance of Purple wire between terminal No. 14 at VCRM wiring harness connector and A/C clutch wiring harness connector. Record resistance reading. Measure resistance between terminal No. 13 (Gray/White wire) at VCRM wiring harness connector and A/C clutch ground circuit (Black wire) at A/C clutch wiring harness connector. If both resistance readings are less than 5 ohms, go to next step. If any resistance reading is 5 ohms or more, repair open in circuit(s). Reconnect all components. Clear continuous memory. With A/C and defroster off, start engine. Wait 15 seconds. Turn ignition off. Repeat QUICK TEST  .
  54. 83) Check A/C Clutch Continuity

    Turn ignition off. Ensure A/C clutch and VCRM are disconnected. Measure resistance between A/C clutch terminals. If resistance is less than 10 ohms, replace VCRM. Reconnect all components. Clear continuous memory. With A/C and defroster off, start engine. Wait 15 seconds. Turn ignition off. Repeat QUICK TEST  . If resistance is 10 ohms or more, replace A/C clutch. Reconnect all components. Clear continuous memory. With A/C and defroster off, start engine. Wait 15 seconds. Turn ignition off. Repeat QUICK TEST  .
    NOTE: A break in step numbering sequence occurs at this point. Procedure skips from step 83) to step 85). No test procedures have been omitted.
  55. 85) Check For Intermittent Open In A/C Clutch & VCRM A/C Ground Circuits

    Turn ignition off. Visually inspect power-to-A/C clutch circuit (terminal No. 14) and A/C clutch ground circuit (terminal No. 13) between VCRM and A/C clutch. Also, check VCRM ground circuit (terminal No. 15) between VCRM connector and ground point at left side of radiator support. Repair wiring as necessary. Start engine. Turn A/C on. Shake, wiggle and bend power-to-A/C clutch circuit (Purple wire), A/C clutch ground circuit (Gray/White wire) and VCRM A/C ground (Black wire) circuit. An open will be indicated by A/C clutch disengaging for other than normal cycling pressure switch operation. If an open circuit is detected, isolate fault and repair as necessary. Turn A/C and ignition off. Repeat QUICK TEST  . If an open is not detected, go to next step.
  56. 86) Check For Intermittent Short To Power In A/C Clutch Circuit

    Ensure A/C is off. Turn ignition on. Shake, wiggle and bend power-to-A/C clutch circuit (Purple wire) between VCRM and A/C clutch. A short to power will be indicated by A/C clutch engaging. If a short to power is detected, isolate fault and repair as necessary. Repeat QUICK TEST  . If a short to power is not detected, go to next step.
  57. 87) Check For Intermittent Open In A/C Clutch & VCRM A/C Ground Circuits

    Turn ignition off. Disconnect and inspect A/C clutch connector. Clean or repair connector as necessary. Connect test light between power-to-A/C clutch terminal (Purple wire) and A/C clutch ground terminal (Gray/White wire) at A/C clutch wiring harness connector. Start engine. Turn A/C on. Observe test light, and shake, wiggle and bend power-to-A/C clutch circuit (Purple wire), A/C clutch ground circuit (Gray/White wire) and VCRM A/C ground (Black wire) circuit. Test light will turn off when a fault is detected, indicating an open circuit. If an open circuit is detected, isolate fault and repair as necessary. Reconnect all components. Turn A/C and ignition off. Repeat QUICK TEST  . If an open circuit is not detected, disconnect and inspect VCRM connector. Clean or repair connector as necessary. If connector is okay, fault is intermittent and cannot be duplicated at this time. Testing is complete. Reconnect all components.
    NOTE: A break in step numbering sequence occurs at this point. Procedure skips from step 87) to step 90). No test procedures have been omitted.
    NOTE: Before proceeding with "No A/C" diagnostic procedures, check related fuses in fuse panel.
  58. 90) No A/C (With Code 111): Check Power At A/C Clutch

    Turn ignition off. Disconnect A/C clutch connector. Connect test light between power-to-A/C clutch circuit (Purple wire) and A/C clutch ground circuit (Gray/White wire) at A/C clutch wiring harness connector. Start engine. Turn A/C on and wait 10 seconds. Observe test light. If test light glows, EEC-IV system is okay. Reconnect A/C clutch connector. Check A/C system for mechanical problems. Repair A/C system as necessary. If test light is off, go to next step.
  59. 91) Check If PCM Is Receiving & Recognizing A/C Cycling Pressure (ACCS) Input

    Turn ignition off. Remove test light, and reconnect A/C clutch connector. Perform Key On Engine Off (KOEO) SELF-TEST. If KOEO Code 539 is present, PCM is receiving and recognizing ACCS input. Go to next step. If KOEO Code 539 is not present, PCM is not receiving or recognizing ACCS input. Go to step 96).
  60. 92) Check A/C Demand Signal Power At VCRM

    Turn ignition off. Disconnect and inspect VCRM connector. Clean or repair connector as necessary. Turn A/C and ignition on. Measure voltage between terminal No. 9 (Black/Yellow wire) at VCRM wiring harness connector and negative battery terminal. If voltage is more than 10.5 volts, go to next step. If voltage is 10.5 volts or less, repair open in A/C demand signal circuit (Black/Yellow wire) between VCRM splice and PCM. Reconnect all components. Recheck system operation.
  61. 93) Check For Short To Ground In Wide Open Throttle A/C Cut -Off (WAC) Circuit

    Turn ignition off. Ensure VCRM is disconnected. Disconnect PCM connector. Clean or repair connector as necessary. Measure resistance between terminal No. 11 (Pink/Yellow wire) at VCRM wiring harness connector and negative battery terminal. If resistance is more than 10,000 ohms, go to next step. If resistance is 10,000 ohms or less, repair short to ground in WAC circuit. Reconnect all components. Recheck system operation.
  62. 94) Verify WAC Circuit Is Not Shorted To Ground In PCM

    Turn ignition off. Disconnect PCM connector. Reconnect VCRM connector. Disconnect A/C clutch connector. Connect test light between power-to-A/C clutch circuit (Purple wire) and A/C clutch ground circuit (Gray/White wire) at A/C clutch wiring harness connector. Turn A/C and ignition on. If test light is on, replace PCM. Reconnect all components. Recheck system operation. If test light is off, replace VCRM. Reconnect all components. Recheck system operation.
    NOTE: A break in step numbering sequence occurs at this point. Procedure skips from step 94) to step 96). No test procedures have been omitted.
  63. 96) Check For A/C Demand Signal Power At A/C Cycling Pressure Switch

    Turn ignition off. Disconnect A/C cycling pressure switch. Turn A/C and ignition on. Measure voltage between negative battery terminal and A/C cycling pressure switch wiring harness connector (circuit from Electronic Automatic Temperature Control (EATC) module). If voltage is more than 10.5 volts, go to next step. If voltage is 10.5 volts or less, ensure voltage is available to EATC module, EATC module is functioning properly. If voltage to EATC module is okay, repair open circuit between EATC module and A/C cycling pressure switch. Reconnect all components. Recheck system operation.
  64. 97) Check A/C Cycling Pressure Switch Continuity

    Turn ignition off. Disconnect A/C cycling pressure switch. Check continuity between A/C cycling switch terminals. If resistance is less than 5 ohms, go to next step. If resistance is 5 ohms or more, check A/C system pressure and A/C cycling pressure switch operation.
  65. 98) Check Continuity Between A/C Cycling Pressure Switch & PCM

    Turn ignition off. Ensure A/C cycling pressure switch is disconnected. Install breakout box. Leave PCM disconnected. Measure resistance between test pin No. 10 at breakout box and circuit to PCM/VCRM at A/C cycling pressure switch wiring harness connector. If resistance is less than 5 ohms, replace PCM. Remove breakout box, and reconnect all components. Recheck system operation. If resistance is 5 ohms or more, repair open in circuit between A/C cycling pressure switch and PCM. Remove breakout box, and reconnect all components. Repeat QUICK TEST  .
    NOTE: A break in step numbering sequence occurs at this point. Procedure skips from step 98) to step 100). No test procedures have been omitted.
  66. 100) Lack Of Power With A/C On; Verify Wide Open Throttle A/C Cut-Off (WAC) Is Able To Turn Off A/C Clutch

    Start engine. Turn A/C on. Perform a brief Wide Open Throttle (WOT) and return to idle.A/C clutch should disengage during WOT, then a few seconds after returning to idle, A/C clutch should re-engage (click noise should be heard when clutch re-engages). Repeat test if necessary to verify results. If clicking noise cannot be heard, disconnect A/C clutch. Connect test light between power-to-A/C clutch circuit and ground circuit at wiring harness side of A/C clutch connector. Perform brief WOT. Test light should turn off during WOT, then turn on a few seconds after engine speed returns to idle. If A/C clutch or test light functions as specified, WAC circuit is okay. Test is complete. If A/C clutch or test light does not function as specified, go to next step.
  67. 101)

    Check WAC Circuit Wiring Harness Continuity  Turn ignition off. Disconnect and inspect PCM connector. Clean or repair connector as necessary. Install breakout box. Leave PCM disconnected. Disconnect and inspect VCRM connector. Clean or repair connector as necessary. Measure resistance between test pin No. 54 at breakout box and terminal No. 11 (Pink/Yellow wire) at VCRM wiring harness connector. If resistance is less than 5 ohms, go to next step. If resistance is 5 ohms or more, repair open in WAC circuit. Remove breakout box, and reconnect all components. Recheck system operation.
  68. 102) Check WAC Circuit For Short To Power

    Turn ignition off. Ensure breakout box is still connected. Ensure VCRM and PCM are disconnected. Turn ignition on. Measure voltage between test pins No. 40 and 54 at breakout box. If voltage is less than one volt, go to next step. If voltage is one volt or more, repair short to power in WAC circuit. Remove breakout box, and reconnect all components. Recheck system operation.
  69. 103) Check VCRM WAC Circuitry

    Turn ignition off. Ensure breakout box is still connected and PCM is disconnected. Reconnect VCRM connector. Turn ignition and A/C on. Connect a jumper wire to test pin No. 54 at breakout box. Listen to A/C clutch while briefly touching other end of jumper wire to test pin No. 40 at breakout box. Repeat procedure as necessary. If A/C clutch disengages and re-engages as jumper wire is connected and disconnected, replace PCM. Remove breakout box, and reconnect all components. Recheck system operation. If A/C clutch does not disengage and re-engage as jumper wire is connected and disconnected, replace VCRM. Remove breakout box, and reconnect all components. Recheck system operation.
    NOTE: A break in step numbering sequence occurs at this point. Procedure skips from step 103) to step 110). No test procedures have been omitted.
  70. 110) Code 556

    KOEO Code 556 indicates a fuel pump primary circuit failure. Possible causes for this fault are an open or short to fuel pump circuit, damaged VCRM or damaged PCM. Check if engine will start. If engine starts, go to step 115). If engine does not start, go to next step.
  71. 111) Check Fuel Pump Circuit Continuity

    Turn ignition off. Disconnect and inspect PCM and VCRM connectors. Clean or repair connectors as necessary. Install breakout box. Leave PCM and VCRM disconnected. Measure resistance between test pin No. 22 at breakout box and terminal No. 18 (Light Blue/Orange wire) at VCRM wiring harness connector. If resistance is less than 5 ohms, go to next step. If resistance is 5 ohms or more, repair open in fuel pump circuit. Remove breakout box, and reconnect all components. Repeat QUICK TEST  .
  72. 112) Check For Short To Power In Fuel Pump Circuit

    Turn ignition off. Ensure breakout box is still connected and PCM is disconnected. Disconnect VCRM connector. Turn ignition on. Measure voltage between test pins No. 22 and 40 at breakout box. If voltage is less than one volt, go to next step. If voltage is one volt or more, repair short to power in fuel pump circuit. Remove breakout box, and reconnect all components. Repeat QUICK TEST  .
  73. 113) Check VCRM Fuel Pump Circuit

    Turn ignition off. Ensure break-out box is still connected and PCM is disconnected. Reconnect VCRM connector. Connect jumper wire between test pins No. 22 and 40 at breakout box. Listen to fuel pump, and turn ignition on. If fuel pump runs, turn ignition off. Remove jumper wire. Replace PCM. Remove breakout box, and reconnect all components. Repeat QUICK TEST  . If fuel pump does not run, turn ignition off. Remove jumper wire. Replace VCRM. Remove breakout box, and reconnect all components. Repeat QUICK TEST  .
    NOTE: A break in step numbering sequence occurs at this point. Procedure skips from step 113) to step 115). No test procedures have been omitted.
  74. 115) Check For Short To Ground In PCM

    Turn ignition off. Disconnect and inspect PCM connector. Clean or repair connector as necessary. Turn ignition on. Listen to fuel pump. If fuel pump runs, turn ignition off and go to next step. If fuel pump does not run, turn ignition off. Replace PCM. Reconnect all components. Repeat QUICK TEST  .
  75. 116) Check For Short To Ground In Fuel Pump Circuit

    Turn ignition off. Install breakout box. Leave PCM disconnected. Disconnect and inspect VCRM connector. Clean or repair connector as necessary. Measure resistance between test pins No. 22 and 40 at breakout box. If resistance is more than 10,000 ohms, replace VCRM. Remove breakout box, and reconnect all components. Repeat QUICK TEST  . If resistance is 10,000 ohms or less, repair short to ground in fuel pump circuit. Remove breakout box, and reconnect all components. Repeat QUICK TEST  .
    NOTE: A break in step numbering sequence occurs at this point. Procedure skips from step 116) to step 120). No test procedures have been omitted.
  76. 120) Code 542

    KOEO Code 542 indicates that one of the following has occurred.

    No-Start

    • Inertia Fuel Shutoff (IFS) switch not reset or open.
    • Open in power-to-fuel pump circuit between fuel pump monitor (FPM) terminal at PCM (terminal No. 8) and fuel pump.
    • Poor fuel pump ground.
    • Open circuit in fuel pump.

    Engine Starts

    • Short to power in fuel pump/FPM circuit.
    • High speed fuel pump (HFP) relay contacts stuck closed.
    • Short to ground in HFP circuit (VCRM terminal No. 10).
    • Open FPM circuit between PCM and power-to-fuel pump splice.
    • Short to power in left heated oxygen sensor (HO2S).
    • Damaged VCRM.
    • Damaged PCM.

    Check if engine will start and idle for one minute. If engine starts and idles for one minute, go to next step. If engine does not start or starts but does not idle for one minute, go to step 130).

  77. 121) Verify Fuel Pump Is Off

    Turn ignition on, and wait 5 seconds. Listen for motor noise from fuel pump. If fuel pump is off, go to step 126). If fuel pump is on, go to next step.
  78. 122) Check VCRM

    Turn ignition off. Disconnect and inspect VCRM connector. Clean or repair connector as necessary. Turn ignition on. Listen for fuel pump noise. If fuel pump is off, turn ignition off. Replace VCRM. Reconnect all components. Repeat QUICK TEST  . If fuel pump is on, turn ignition off and go to next step.
  79. 123) Check HFP Relay & Circuits

    Turn ignition off. Ensure VCRM is disconnected. Disconnect HFP relay. Relay is located in engine compartment fuse block. Turn ignition on. Listen to fuel pump. If fuel pump is off, go to next step. If fuel pump is on, turn ignition off. Repair short to power in power-to-fuel pump/FPM circuit. Reconnect all components. Repeat QUICK TEST  .
  80. 124) Check For Short To Ground In HFP Circuit

    Turn ignition off. Ensure VCRM and HFP relay are disconnected. Measure resistance between negative battery terminal and terminal No. 10 (Brown/White wire) at VCRM wiring harness connector. If resistance is more than 10,000 ohms, replace HFP relay. Reconnect all components. Repeat QUICK TEST  . If resistance is 10,000 ohms or less, repair short to ground in HFP circuit. Reconnect all components. Repeat QUICK TEST  .
    NOTE: A break in step numbering sequence occurs at this point. Procedure skips from step 124) to step 126). No test procedures have been omitted.
  81. 126) Check FPM Circuit Continuity

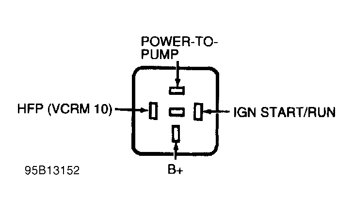
    Turn ignition off. Disconnect and inspect PCM connector. Clean or repair connector as necessary. Install breakout box. Leave PCM disconnected. Disconnect HFP relay. Measure resistance between test pin No. 8 at breakout box and power-to-fuel pump terminal (Pink/Black wire) at HFP relay connector. See Fig 4 . If resistance is less than 5 ohms, go to next step. If resistance is 5 ohms or more, repair open in FPM circuit between PCM and splice to power-to-fuel pump circuit. Remove breakout box, and reconnect all components. Repeat QUICK TEST  .
    Fig 4: High Speed Fuel Pump (HFP) Relay Vehicle Wiring Harness Connector Terminals
    G95B13152
    NOTE: Due to internal circuitry of PCM a left HO2S signal short to power may produce a Code 524, 542 or 543.
  82. 127) Check For Short To Power In Left HO2S

    Turn ignition off. Disconnect left HO2S. Measure resistance between HO2S SIGNAL terminal and KEY POWER terminal at HO2S connector. See Fig 5 . If resistance is more than 10,000 ohms, to next step. If resistance is 10,000 ohms or less, replace HO2S. Reconnect all components. Repeat QUICK TEST  .
    Fig 5: Identifying Heater Oxygen Sensor (HO2S) Terminals
    G93J40690
  83. 128) Check For Short To Power In Left HO2S Circuit

    Turn ignition off. Ensure left HO2S is disconnected. Disconnect and inspect PCM connector. Clean or repair connector as necessary. Turn ignition on. Measure voltage between negative battery terminal and HO2S SIGNAL terminal (Red/Black wire) at HO2S wiring harness connector. See Fig 5 . If voltage is less than 2 volts, replace PCM. Reconnect all components. Repeat QUICK TEST  . If voltage is 2 volts or more, repair short to power in left HO2S circuit.
    NOTE: A break in step numbering sequence occurs at this point. Procedure skips from step 128) to step 130). No test procedures have been omitted.
  84. 130) Check Inertia Fuel Shutoff (IFS) Switch

    Turn ignition off. Disconnect IFS switch. IFS switch is located in left front of trunk. Ensure IFS switch button is in the down (set) position. Measure resistance between IFS switch terminals. If resistance is less than 5 ohms, reconnect IFS switch. Check for open in power-to-fuel pump circuit, open in fuel pump or poor fuel pump ground. Repair wiring as necessary. Repeat QUICK TEST  . If resistance is 5 ohms or more, attempt to reset IFS switch or replace IFS switch. Reconnect all components. Repeat QUICK TEST  .
    NOTE: A break in step numbering sequence occurs at this point. Procedure skips from step 130) to step 135). No test procedures have been omitted.
  85. 135) Code 524, 543 & Continuous Memory Code 583

    KOEO Code 524 or 543 indicates that when PCM commanded fuel pump on, voltage was not detected on Fuel Pump Monitor (FPM) circuit (PCM terminal No. 8). Code 524 refers to low speed output (VCRM terminal No. 24; Pink/Black wire). Code 543 refers to high speed output. It is not possible to distinguish between circuits due to vehicle wiring and fuel pump operating strategy. Continuous Memory Code 583 indicates that when fuel pump was activated, power-to-fuel pump exceeded normal current draw. This could be due to a hard fault or an intermittent condition. Following are possible causes for these faults.

    Without Continuous Memory Code 583

    • Open in power-to-fuel pump circuit between VCRM and FPM splice.
    • Open in B (+) supply to VCRM (terminals No. 4 and 5).
    • Short to power in left HO2S.

    With Continuous Memory Code 583

    • Short to ground in power-to-fuel pump/FPM circuit.

    If Continuous Memory Code 583 is present, go to next step. If Continuous Memory Code 583 is not present, go to step 144).

  86. 136) Attempt To Re-Generate Continuous Memory Code 583

    Turn ignition off. Clear continuous memory. See CLEARING CODES  under SELF-DIAGNOSTIC SYSTEM. Start engine. If engine will not start, crank engine for 5 seconds. Repeat KOEO SELF-TEST  . If Continuous Memory Code 583 is present, code is a hard fault. Go to step 139). If Continuous Memory Code 583 is not present, code is intermittent. Go to next step.
  87. 137) Was KOEO Code 524 Or 543 Present In Step 136)

    If KOEO Code 524 and/or 543 was present in step 136), an over-current condition (short to ground) was present sometime during last 80 warm-up cycles. Go to step 144). If KOEO Code 524 and/or 543 was not present in step 136), go to step 147).
    NOTE: A break in step numbering sequence occurs at this point. Procedure skips from step 137) to step 139). No test procedures have been omitted.
  88. 139) Attempt To Isolate Short To Ground

    Turn ignition off. Clear continuous memory. Disconnect Inertia Fuel Shutoff (IFS) switch. IFS switch is located in left front of trunk. Crank engine for 5 seconds. Repeat KOEO SELF-TEST  . If Continuous Memory Code 583 is present (disregard other codes), go to step 140). If Continuous Memory Code 583 is not present, check for short to ground in power-to-fuel pump circuit or fuel pump. Repair wiring or replace fuel pump as necessary. After repair is complete, repeat QUICK TEST  .
  89. 140) Check For Short To Ground In Power-To-Fuel Pump/FPM Circuit

    Turn ignition off. Ensure IFS switch is disconnected. Disconnect and inspect PCM and VCRM connectors. Clean or repair connectors as necessary. Install breakout box. Leave PCM and VCRM disconnected. Measure resistance between test pins No. 8 and 40 at breakout box. If resistance is more than 10,000 ohms, go to next step. If resistance is 10,000 ohms or less, repair short to ground in power-to-fuel pump/FPM circuit. Remove breakout box, and reconnect all components. Clear continuous memory. Start engine and wait 5 seconds. Turn ignition off. Repeat QUICK TEST  .
  90. 141) Check VCRM

    Turn ignition off. Ensure IFS switch is disconnected. Install breakout box. Leave PCM disconnected. Reconnect VCRM connector. Connect a jumper wire between test pins No. 22 and 40 at breakout box. Turn ignition on. Measure voltage between test pins No. 8 and 60 at breakout box. If voltage is more than 8.5 volts, replace PCM. Remove breakout box, and reconnect all components. Clear continuous memory. Start engine and wait 5 seconds. Turn ignition off. Repeat QUICK TEST  . If voltage is 8.5 volts or less, replace VCRM. Remove breakout box, and reconnect all components. Clear continuous memory. Start engine and wait 5 seconds. Turn ignition off. Repeat QUICK TEST  .
    NOTE: A break in step numbering sequence occurs at this point. Procedure skips from step 141) to step 144). No test procedures have been omitted.
  91. 144) Check If Engine Starts With High Speed Fuel Pump (HFP) Relay Disconnected

    Turn ignition off. Disconnect HFP relay. Relay is located in engine compartment fuse block. Attempt to start engine. If engine does not start or starts but runs for less than one minute, go to next step. If engine starts and runs for one minute, reconnect HFP relay. Go to step 127).
  92. 145) Check for B (+) To VCRM

    Turn ignition off. Ensure HFP relay is disconnected. Disconnect and inspect VCRM connector. Clean or repair connector as necessary. Connect negative lead of DVOM to negative battery terminal. Using positive lead of DVOM, measure voltage at terminals No. 4 (Yellow wire) and No. 5 (Yellow wire) at VCRM connector. If both voltage readings are more than 10.5 volts, go to next step. If any reading is 10.5 volts or less, repair open in B (+) supply to VCRM. Ensure all related fuses are okay. Reconnect all components. Repeat QUICK TEST  .
  93. 146) Check Power-To-Fuel Pump Circuit Continuity

    Turn ignition off. Disconnect HFP relay and VCRM. Measure resistance between terminal No. 24 (Pink/Black wire) at VCRM wiring harness connector and power-to-fuel pump terminal at HFP relay. See Fig 4 . If resistance is less than 10 ohms, replace VCRM. Reconnect all components. Repeat QUICK TEST  . If resistance is 10 ohms or more, repair open in power-to-fuel pump circuit between VCRM and Fuel Pump Monitor (FPM) splice. Reconnect all components. Repeat QUICK TEST  .
  94. 147) Check For Intermittent Short To Ground In Power-To-Fuel Pump Circuit

    Turn ignition off. Visually inspect power-to-fuel pump circuit between VCRM and fuel pump. Also, inspect Fuel Pump Monitor (FPM) circuit to PCM and power-to-fuel pump circuit at High Speed Fuel Pump (HFP) relay. Repair wiring as necessary. Install a fuel gauge or listen to fuel pump to check if fuel pump quits while performing wiggle test. Start engine. Shake, wiggle and bend Pink/Black wire (power-to-fuel pump circuit) between VCRM, fuel pump, PCM and HFP relay. To simulate road shock, lightly tap on Inertia Fuel Shutoff (IFS) switch, fuel pump, HFP relay, VCRM and fuel pump. If fuel pump stops, fuel pressure drops or engine stalls or stumbles, a short to ground in power-to-fuel pump circuit has been detected. Isolate fault and repair as necessary. Clear continuous memory (Code 583 should have been set). Start engine and wait 5 seconds. Turn ignition off. Repeat QUICK TEST  . If no fault is detected, go to next step.
  95. 148) Again, Check For Intermittent Short To Ground In Power -To-Fuel Pump

    Turn ignition off. Disconnect PCM, VCRM and fuel pump. Inspect connectors. Clean or repair connectors as necessary. Install breakout box. Leave PCM, VCRM and fuel pump disconnected. Connect a test light between test pins No. 1 (KAPWR) and No. 8 (FPM) at breakout box. Observe test light, and shake, wiggle and bend Pink/Black wire (power-to-fuel pump circuit) between VCRM, fuel pump, PCM and HFP relay. To simulate road shock, lightly tap on Inertia Fuel Shutoff (IFS) switch, fuel pump, HFP relay and VCRM. If a fault is detected, test light will turn on, indicating a short to ground. If a short to ground is detected, isolate fault and repair wiring as necessary. Start engine and wait 5 seconds. Turn ignition off. Repeat QUICK TEST  . If a short to ground is not detected, fault is intermittent and cannot be duplicated at this time. Testing is complete. Reconnect all components. For further diagnosis, see the TESTS W/O CODES article.
    NOTE: A break in step numbering sequence occurs at this point. Procedure skips from step 148) to step 150). No test procedures have been omitted.
  96. 150) Continuous Memory Code 524, 543 Or 556

    Continuous Memory Code 524 or 543 indicates that when PCM commanded fuel pump on, voltage was not detected at power-to-fuel pump circuit. Code 524 refers to low speed output (VCRM terminal No. 24; Pink/Black wire). Code 543 refers to high speed output. It is not possible to distinguish between circuits due to vehicle wiring and fuel pump operating strategy. Following are possible causes for these faults.
    • Open in power-to-fuel pump circuit between VCRM and FPM splice.
    • Open in B (+) supply to VCRM (terminals No. 4 and 5).
    • Left HO2S short to power.

    Continuous Memory Code 556 indicates that sometime during vehicle operation, fuel pump primary circuit failure occurred. Possible cause for this fault is an open or short in fuel pump circuit (PCM terminal No. 22). If Continuous Memory Code 583 is also present, go to step 136). If Continuous Memory Code 583 is not present, go to next step.

  97. 151) Check Power-To-Fuel Pump & Fuel Pump Circuits

    Start engine. Disconnect High Speed Fuel Pump (HFP) relay. Relay is located in engine compartment fuse block. Connect a test light between ground and power-to-fuel pump terminal at HFP relay vehicle wiring harness connector. See Fig 4 . If a fault is detected, test light will go out, indicating an open FP circuit. Also, listen for engine stall/stumble or fuel pump turning off. Observe test light and perform the following:
    • For Code 524 or 543, shake, wiggle and bend Pink/Black wire (power-to-fuel pump circuit) between terminal No. 24 at VCRM and Fuel Pump Monitor (FPM) splice. Also shake, wiggle and bend Yellow wire (B (+) circuit) between terminals No. 4 and 5 at VCRM.
    • For Code 556, shake, wiggle and bend Light Blue/Orange wire (fuel pump circuit) between terminals No. 22 at PCM and No. 18 at VCRM.

    If a short to ground is detected, isolate fault and repair wiring as necessary. Clear continuous memory. Repeat QUICK TEST  . If Code 556 is present and a short to ground is not detected, go to next step. If Code 556 is not present and a short to ground is not detected, go to step 158).

  98. 152) Check For Intermittent Short To Ground In Fuel Pump Circuit

    Turn ignition off. Disconnect and inspect PCM and VCRM connectors. Clean or repair connectors as necessary. Connect ohmmeter between terminals No. 18 (Light Blue/Orange wire) and No. 1 (Black wire) at VCRM connector. Observe ohmmeter, and shake, wiggle and bend Light Blue/Orange wire (fuel pump circuit) between VCRM and PCM connectors. Also, check fuel pump circuit to Data Link Connector (DLC). If a fault is detected, ohmmeter will show continuity, indicating a short to ground. If continuity exists, isolate fault and repair wiring as necessary. Clear continuous memory. Repeat QUICK TEST  . If no continuity exists, fault is intermittent and cannot be duplicated at this time. Testing is complete. Reconnect all components. For further diagnosis, see the TESTS W/O CODES article.
    NOTE: A break in step numbering sequence occurs at this point. Procedure skips from step 152) to step 155). No test procedures have been omitted.
  99. 155) Continuous Memory Code 542

    Continuous Memory Code 542 indicates that one of the following conditions has occurred.
    • Fuel pump circuit activated when PCM expected circuit to be off.
    • Open in fuel pump monitor (FPM) circuit, power to fuel pump, fuel pump or fuel pump ground circuit.
    • Short to power in FPM or power-to-fuel pump circuits.
    • VCRM output driver or High Speed Fuel Pump (HFP) relay contacts stuck closed.
    • Short to ground in HFP circuit.
    • Short to power in left HO2S signal circuit.
    • Engine stall due to excessive load.

    Start engine. Check for engine stall/stumble while performing the following (if possible, listen for fuel pump turning off). Shake, wiggle and bend Pink/Black wire (power-to-fuel pump circuit) between fuel pump and FPM splice. To simulate road shock, lightly tap on fuel pump, Inertia Fuel Shutoff (IFS) switch and VCRM. If engine stalls or stumbles, isolate fault and repair wiring as necessary. Clear continuous memory. Repeat QUICK TEST  . If engine does not stall or stumble, go to next step.

  100. 156) Check For Intermittent Open Or Short In FPM, Power-To -Fuel Pump & Fuel Pump Ground Circuits

    Turn ignition off. Disconnect and inspect PCM connector. Clean or repair connector as necessary. Install breakout box. Leave PCM disconnected. Connect a test light between test pins No. 8 and 37 at breakout box. Turn ignition on, engine off. Observe test light, and shake, wiggle and bend the following circuits.
    • Fuel pump monitor (FPM) circuit.
    • Power-to-fuel pump circuit.
    • Fuel pump ground and HFP relay circuits between HFP relay and VCRM.

    To simulate road shock, lightly tap on Inertia Fuel Shutoff (IFS) switch, VCRM and HFP relay. If a fault is detected, test light will turn off indicating an open circuit. Test light will also turn off and fuel pump will run, if a short to power or HFP circuit short to ground is detected. If a fault is detected, isolate fault and repair wiring as necessary. Remove breakout box. Reconnect all components. Repeat QUICK TEST  . If a fault is not detected, go to step 158).

    NOTE: A break in step numbering sequence occurs at this point. Procedure skips from step 156) to step 158). No test procedures have been omitted.
    NOTE: Due to internal circuitry of PCM, an intermittent short to power in left HO2S signal may produce a Continuous Memory Code 524, 542 or 543.
  101. 158) Check For Short To Power In Left HO2S

    Turn ignition off. Install breakout box. Leave PCM disconnected. Connect test light between test pins No. 40 and 43 at breakout box. Turn ignition on. Observe test light and shake, wiggle and bend Red/Black wire between left HO2S and PCM connector. To simulate road shock, lightly tap on left HO2S. If a fault is detected, test light will turn on bright, indicating a short to power. If a short to power is detected, isolate fault and repair wiring as necessary. Remove breakout box. Reconnect all components. Repeat QUICK TEST  . If a short to power is not detected, fault is intermittent and cannot be duplicated at this time. Testing is complete. Reconnect all components. For further diagnosis, see the TESTS W/O CODES article.
    NOTE: A break in step numbering sequence occurs at this point. Procedure skips from step 158) to step 160). No test procedures have been omitted.
  102. 160) Lack Of Power/Hard Start; Check HFP Relay Operation

    Turn ignition off. Disconnect HFP relay. Relay is located in engine compartment fuse block. Measure voltage between negative battery terminal and B(+) terminal at HFP relay vehicle wiring harness connector. See Fig 4 . Turn ignition on. Measure voltage between IGN START/RUN terminal at HFP relay connector and negative battery terminal. If both voltage readings are more than 10.5 volts, go to next step. If any reading is 10.5 volts or less, repair open in B(+) or IGN START/RUN circuit. Also, ensure all related fuses are good. After repair has been completed, reconnect all components. Recheck system operation.
  103. 161) Check Power-To-Fuel Pump Circuit Continuity

    Turn ignition off. Disconnect HFP relay connector. Measure resistance between negative battery terminal and POWER-TO-FUEL PUMP terminal at HFP relay vehicle wiring harness connector. See Fig 4 . If resistance is less than 10 ohms, go to next step. If resistance is 10 ohms or more, repair open in power-to-fuel pump circuit between HFP relay and splice to main power-to-fuel pump circuit. After repair is completed, reconnect all components. Recheck system operation.
  104. 162) Check VCRM & HFP Circuit Operation

    Turn ignition off. Reconnect HFP relay. Start engine. Run engine until normal operating temperature is reached. Turn ignition off. Disconnect HFP relay. Connect DVOM between terminals B(+) and HFP at HFP relay vehicle wiring harness connector. See Fig 4 . Ensure all accessories are off. Observe DVOM and start engine. Within 10 seconds of start, record voltage reading. Observe DVOM and allow engine to idle for 2 minutes. If voltage reading decreases 0.4 volt or more within 2 minutes of running engine, VCRM and HFP circuits are okay. Turn ignition off and go to next step. If voltage reading does not decrease a minimum of 0.4 volt within 2 minutes of running engine, turn ignition off. Go to step 165).
  105. 163) Check HFP Relay

    Turn ignition off. Disconnect HFP relay. Connect a jumper wire between positive battery terminal and IGN START/RUN terminal at HFP relay. See Fig 6 . Connect one end of another jumper wire to HFP terminal at HFP relay. Listen to HFP relay and touch remaining end of jumper wire to negative battery terminal. If relay clicks, relay is working properly. Remove jumper wires and reconnect HFP relay. If relay does not click, replace relay. Reconnect all components. Recheck system operation.
    Fig 6: Identifying High Speed Fuel Pump (HFP) Relay Terminals
    G95C13153
    NOTE: A break in step numbering sequence occurs at this point. Procedure skips from step 163) to step 165). No test procedures have been omitted.
  106. 165) Check HFP Circuit Continuity

    Turn ignition off. Disconnect HFP relay. Disconnect and inspect VCRM connector. Clean or repair connector as necessary. Measure resistance between terminal No. 10 (Brown/White wire) at VCRM wiring harness connector and HFP terminal at HFP relay connector. See Fig 4 . If resistance is less than 5 ohms, go to next step. If resistance is 5 ohms or more, repair open in HFP circuit (Brown/White wire). Reconnect all components. Recheck system operation.
  107. 166) Check For Short To Power In HFP Circuit

    Turn ignition off. Ensure VCRM and HFP relay are disconnected. Turn ignition on. Measure voltage between negative battery terminal and HFP terminal at HFP relay connector. See Fig 4 . If voltage is less than one volt, go to next step. If voltage is one volt or more, repair short to power in HFP circuit. Reconnect all components. Recheck system operation.
  108. 167) Check For Short To Ground In HFP Circuit

    Turn ignition off. Ensure VCRM and HFP relay are disconnected. Measure resistance between negative battery terminal and HFP terminal at HFP relay connector. See Fig 4 . If resistance is more than 10,000 ohms, replace VCRM. Reconnect all components. Recheck system operation. If resistance is 10,000 ohms or less, repair short to ground in HFP circuit. Reconnect all components. Recheck system operation.
    NOTE: A break in step numbering sequence occurs at this point. Procedure skips from step 167) to step 170). No test procedures have been omitted.
  109. 170) KOEO & Continuous Memory Code 587: Check Wiring Harness

    Code 587 indicates a Data Link Connector (DLC) failure between PCM and VCRM. DLC includes data (+) and data (-) circuits. Following are possible causes for this fault.
    • Open Or Short In Data (+) Or Data (-) Circuits
    • Damaged VCRM
    • Damaged PCM

    Check wiring harness containing data (+) (Tan/Orange wire) and data (-) (Pink/Light Blue wire) circuits between VCRM and PCM connectors for proper installation, location (not close to high voltage wires) and for aftermarket modifications. Relocate or repair wiring as necessary. Clear continuous memory. Start engine. Turn A/C on and wait 15 seconds. Turn A/C and ignition off. Repeat QUICK TEST  . If KOEO Code 587 is present and wiring is okay, go to next step. If Continuous Memory Code 587 is present and wiring is okay, go to step 180).

  110. 171) Check Data (+) & Data (-) Circuit Short To Power

    Turn ignition off. Disconnect any test equipment connected to Data Link Connector (DLC). Leave equipment disconnected throughout procedure unless otherwise instructed. Disconnect and inspect VCRM and PCM connectors. Clean or repair connectors as necessary. Install breakout box. Turn ignition on. Leave PCM disconnected. Measure voltage between test pin No. 18 and 40 at breakout box. Also, measure voltage between test pin No. 19 and 40 at breakout box. If both voltage readings are less than 1.0 volt, go to next step. If any reading is 1.0 volt or more, repair short to power in Tan/Orange and/or Pink/Light Blue wire. Reconnect all components. Start engine. Turn A/C on and wait 15 seconds. Turn A/C and ignition off. Repeat QUICK TEST  .
  111. 172) Check For Short In Data (+) & Data (-) Circuits

    Turn ignition off. Install breakout box. Disconnect PCM and VCRM. Measure resistance between test pins No. 18 and 40, and pins No. 19 and 40 at breakout box. Also, measure resistance between test pins No. 18 and 19. If all readings are more than 10,000 ohms, go to next step. If any reading 10,000 ohms or less, repair short circuit in data (+) (Tan/Orange wire) and/or data (-) (Pink/Light Blue wire) circuits. Remove breakout box. Reconnect all components. Start engine. Turn A/C on and wait 15 seconds. Turn A/C and ignition off. Repeat QUICK TEST  .
  112. 173) Check Data (+) & Data (-) Circuit Continuity

    Turn ignition off. Disconnect and inspect VCRM and PCM connectors. Clean or repair connectors as necessary. Install breakout box. Turn ignition on. Leave PCM disconnected. Measure resistance between test pin No. 18 at breakout box and terminal No. 21 (Tan/Orange wire) at VCRM wiring harness connector. Also, measure resistance between test pin No. 19 at breakout box and terminal No. 23 (Pink/Light Blue wire) at VCRM wiring harness connector. If both resistance readings are less than 5.0 ohms, go to next step. If any reading is 5.0 ohms or more, repair open in Tan/Orange and/or Pink/Light Blue wire. Reconnect all components. Start engine. Turn A/C on and wait 15 seconds. Turn A/C and ignition off. Repeat QUICK TEST  .
  113. 174) Check Data Communication Link (DCL) In VCRM

    Turn ignition off. Ensure all test equipment is disconnected from DLC. Ensure breakout box is installed and PCM is disconnected. Reconnect VCRM connector. Turn ignition on. Measure voltage between test pins No. 18 (data (+) circuit) and No. 19 (data (-) circuit) at breakout box. If voltage is 3.5-5.3 volts, go to next step. If voltage is not 3.5-5.3 volts, turn ignition off. Replace VCRM. Remove breakout box. Reconnect all components. Start engine. Turn A/C on and wait 15 seconds. Turn A/C and ignition off. Repeat QUICK TEST  .
  114. 175) Check Data (-) Circuit In VCRM

    Turn ignition off. Ensure all test equipment is disconnected from Data Link Connector (DLC), breakout box is installed and PCM is disconnected. With VCRM connected, measure resistance between test pins No. 19 (data (-) circuit) and No. 40 (GND) at breakout box. If resistance is 1500-2500 ohms, go to next step. If resistance is not 1500-2500 ohms, turn ignition off. Replace VCRM. Remove breakout box. Reconnect all components. Start engine. Turn A/C on and wait 15 seconds. Turn A/C and ignition off.
  115. 176) Verify That PCM Can Communicate On DCL

    The purpose of this test is to verify that PCM can communicate on DCL. A scan tool is required for this test step. Follow manufacturer's instructions to hook up equipment. Turn ignition off. Remove breakout box. Reconnect PCM. Connect scan tool to DLC. Start engine. While in DCL display, view RPM Parameter Identification (PID). Monitor RPM, and change engine speed. If RPM PID is displayed and changes with engine speed, go to next step. If RPM PID is not displayed or is displayed but does not change with engine speed, go to step 179).
  116. 177) Verify DCL In VCRM

    Turn ignition off. Ensure PCM and VCRM are connected. Turn A/C off. Enter output state Diagnostic Test Mode (DTM). See OUTPUT STATE DIAGNOSTIC TEST MODE (DTM)  under ADDITIONAL SYSTEM FUNCTIONS. Turn outputs off. Depress and hold throttle near Wide Open Throttle (WOT) until Malfunction Indicator Light (MIL) flashes once (about 10 seconds). Release throttle. Cooling fan should turn on. Depress throttle to turn cooling fan off. If cooling fan turns on and off as requested, exit output state DTM. Go to next step.
    NOTE: Cooling fan can only be cycled once during output state DTM. To retest, exit and re-enter output state DTM.

    If cooling fan does not turn on and off as requested, ensure output state DTM is operating properly. MIL should flash when throttle is depressed and released. If MIL does not flash, check throttle linkage and DLC connections. If output state DTM is operating properly, replace VCRM. Reconnect all components. Start engine. Turn A/C on and wait 15 seconds. Turn A/C and ignition off. Repeat QUICK TEST  .

  117. 178) Check DCL In VCRM

    Turn ignition off. Ensure PCM and VCRM are connected. Disconnect cooling fan. Ensure A/C and defroster are off. Perform KOEO SELF-TEST  . If KOEO Code 582 is present, reconnect cooling fan. No problem is indicated at this time. Data (+) and data (-) circuits test okay and DCL is operational in PCM. Reconnect all components. If KOEO Code 582 is not present, allow time for engine to cool down to verify that cooling fan does to come on. After engine is cooled, start engine and wait 10 seconds. Turn ignition off. Repeat KOEO SELF-TEST  . If KOEO Code 582 is still not present, replace VCRM. Reconnect cooling fan. Start engine. Turn A/C on and wait 15 seconds. Turn A/C and ignition off. Repeat QUICK TEST  .
  118. 179) Check Data (+) & Data (-) Circuit Continuity To DCL

    Turn ignition off. Install breakout box. Leave PCM disconnected. Disconnect scan tool from DLC. Measure resistance between test pin No. 18 at breakout box and data (+) terminal (Tan/Orange wire) at DLC. See Fig 7 . Also, measure resistance between pin No. 19 at breakout box and data (-) terminal (Pink/Light Blue wire) at DLC. If both readings are less than 5 ohms, replace PCM. Remove breakout box. Reconnect all components. Start engine. Turn A/C on and wait 15 seconds. Turn A/C and ignition off. Repeat QUICK TEST  . If any reading is 5 ohms or more, repair open circuit as necessary. After repair is complete, return to step 176).
    Fig 7: Identifying Data Link Connector (DLC) Terminals
    G93H40433
  119. 180) Check For Intermittent In Data (+) & Data (-) Circuits

    Perform test while cooling fan is off. Start engine. Ensure A/C is off. Shake, wiggle and bend data (+) (Tan/Orange wire) and data (-) (Pink/Light Blue wire) circuits between PCM and VCRM connectors. To simulate road shock, lightly tap on VCRM. VCRM will turn fan on if DLC fault is detected. If cooling fan turns on, for other than normal operation, isolate fault and repair wiring as necessary. Clear continuous memory. Start engine. Turn A/C on and wait 15 seconds. Turn A/C and ignition off. Repeat QUICK TEST  . If cooling fan does not turn on, go to next step.
  120. 181) Check For Intermittent Short In Data (+) & Data (-) Circuits

    Turn ignition off. Disconnect test equipment from Data Link Connector (DLC). Disconnect and inspect PCM and VCRM connectors. Clean or repair connectors as necessary. Install breakout box. Leave PCM and VCRM disconnected. Connect a jumper wire between data (+) (Tan/Orange wire) and data (-) (Pink/Light Blue wire) circuits at DLC. See Fig 7 . Connect test light between test pins No. 19 and 37 at breakout box. Observe test light, and shake, wiggle and bend data (+) (Tan/Orange wire) and data (-) (Pink/Light Blue wire) circuits between PCM and VCRM connectors. If a fault is detected, test light will turn on, indicating a short to ground. Disconnect jumper wire. Reconnect test light between test pins No. 19 and 40 at breakout box. Observe test light, and shake, wiggle and bend data (+) (Tan/Orange wire) and data (-) (Pink/Light Blue wire) circuits between PCM and VCRM connectors. If a fault is detected, test light will turn on, indicating a short to power. If a short is detected, isolate fault and repair wiring as necessary. Remove breakout box, and reconnect all components. Start engine. Turn A/C on and wait 15 seconds. Turn A/C and ignition off. Repeat QUICK TEST  . If a short is not detected, go to next step.
  121. 182) Check For Intermittent Open In Data (+) & Data (-) Circuits

    Turn ignition off. Ensure breakout box is installed and PCM and VCRM are disconnected. Connect a jumper wire between terminals No. 21 (Tan/Orange wire) and No. 23 (Pink/Light Blue wire) at VCRM connector. Ensure jumper wire does not contact other terminals at VCRM connector. Using an ohmmeter, measure resistance between test pins No. 18 and 19 at breakout box. Observe ohmmeter, and shake, wiggle and bend data (+) (Tan/Orange wire) and data (-) (Pink/Light Blue wire) circuits between PCM and VCRM connectors. If reading increases to more than 5 ohms at any time, isolate and repair open circuit and repair wiring as necessary. Remove jumper wire and breakout box. Reconnect all components. Start engine. Turn A/C on and wait 15 seconds. Turn A/C and ignition off. Repeat QUICK TEST  . If reading stays at 5 ohms or less, fault is intermittent and cannot be duplicated at this time. Testing is complete. Remove jumper wire and breakout box. Reconnect all components.