LEMON Manuals: Even more car manuals for everyone: 1960-2025
Home >> Ford >> 1996 >> Probe Base, Standard >> Repair and Diagnosis >> Electrical >> Fuses & Circuit Breakers >> Identification >> Engine Compartment Fuse Box
April 5, 2026: LEMON Manuals is launched! Read the announcement.

Engine Compartment Fuse Box

NOTE: Engine compartment fuse box is located on driver's side of engine compartment, near battery. See Fig 1 and Fig 2 .
Fig 1: Locating Engine Compartment Electrical Components (2.0L)
G00104556Courtesy of FORD MOTOR CO.
Fig 2: Locating Engine Compartment Electrical Components (2.5L)
G00104557Courtesy of FORD MOTOR CO.
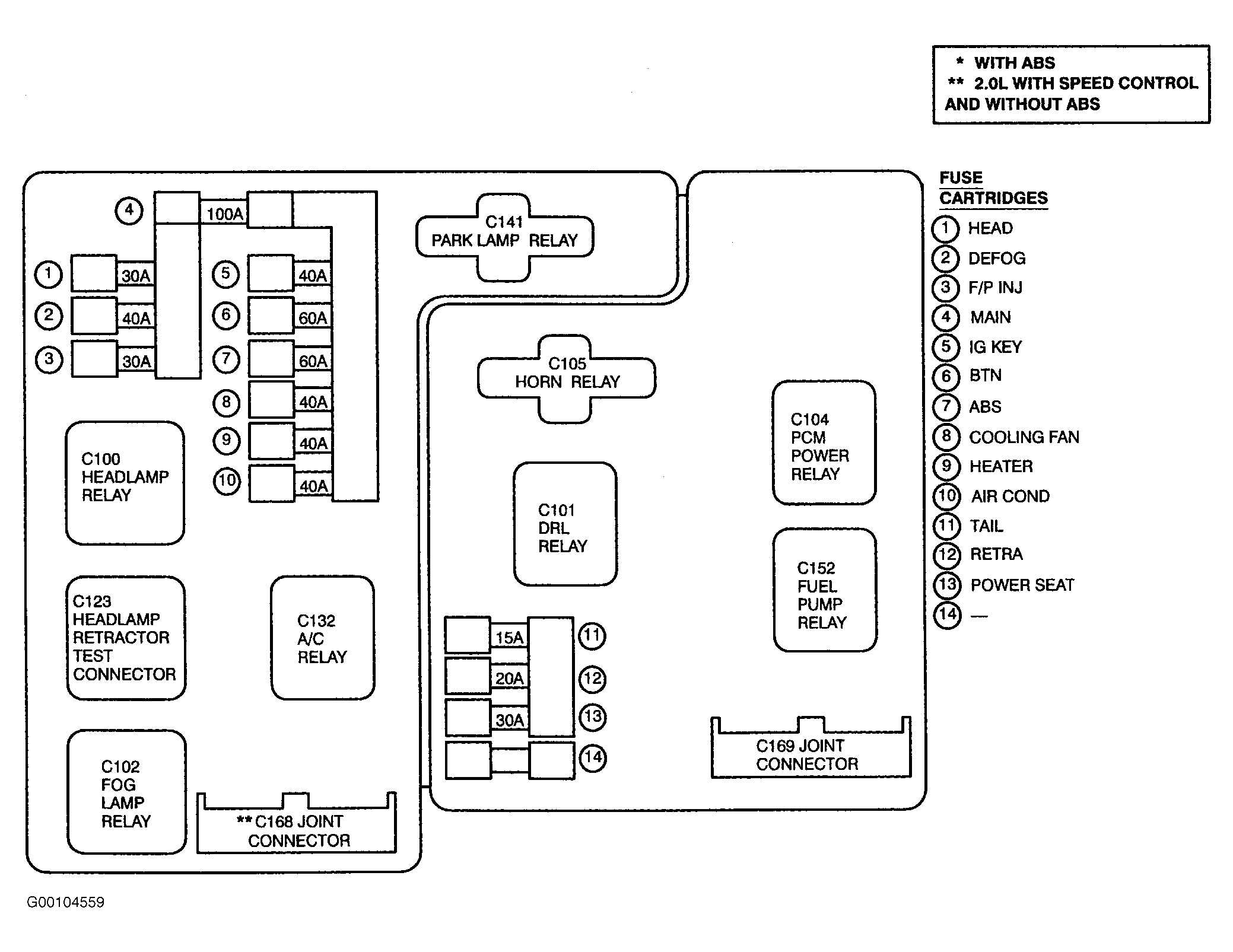
Fig 3: Identifying Engine Compartment Fuse Box Components
G00104559Courtesy of FORD MOTOR CO.
Fig 4: Engine Compartment Fuse Box Legend
G00104558Courtesy of FORD MOTOR CO.