LEMON Manuals: Even more car manuals for everyone: 1960-2025
Home >> Ford >> 1997 >> Probe Base, Automatic >> Repair and Diagnosis >> External Pages >> Different car >> Section 48 (Wiper System And Washer System) >> Testing >> Wiper Switch Continuity Test
April 5, 2026: LEMON Manuals is launched! Read the announcement.

Wiper Switch Continuity Test

WARNING: This page is about a different car, the 1997 Ford Mustang. However, it is still accessible from the selected car via links, so may be relevant.

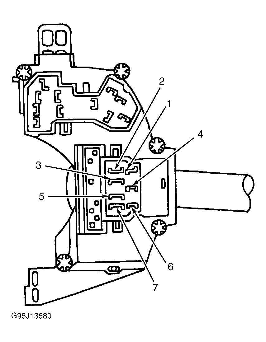
Unplug wiper switch connector. Measure resistance between specified terminals. See WIPER SWITCH CONTINUITY TEST TABLE. See Fig 1 . Replace switch if readings are not as specified.

MULTIFUNCTION SWITCH RESISTANCE TEST (1)

Switch Position Switch Terminals Resistance k/ohms
OFF 4 & 6 103.3
OFF 1 & 4 47.6
LOW 1 & 4 4.08
LOW 4 & 6 3.3
HIGH 1 & 4 0
HIGH 4 & 6 3.3
WASH 4 & 6 0
INT 1 & 4 11.3
INT (2)
MIN 4 & 6 3.3
MAX 1 & 4 11.33
MAX 4 & 6 103.3
(1) To identify switch terminals, See Fig 1 .
(2) Rotate (INT) interval knob from minimum to maximum. Resistance should gradually increase from 3.3 k/ohms (MIN) to 103.3 k/ohms (MAX).
Fig 1: Identifying Wiper Switch Terminals
G95J13580Courtesy of FORD MOTOR CO.