LEMON Manuals: Even more car manuals for everyone: 1960-2025
Home >> Honda >> 1985 >> Civic S >> Repair and Diagnosis >> Engine Performance >> System >> Air Jet Control System >> Description & Operation
April 5, 2026: LEMON Manuals is launched! Read the announcement.

Description & Operation

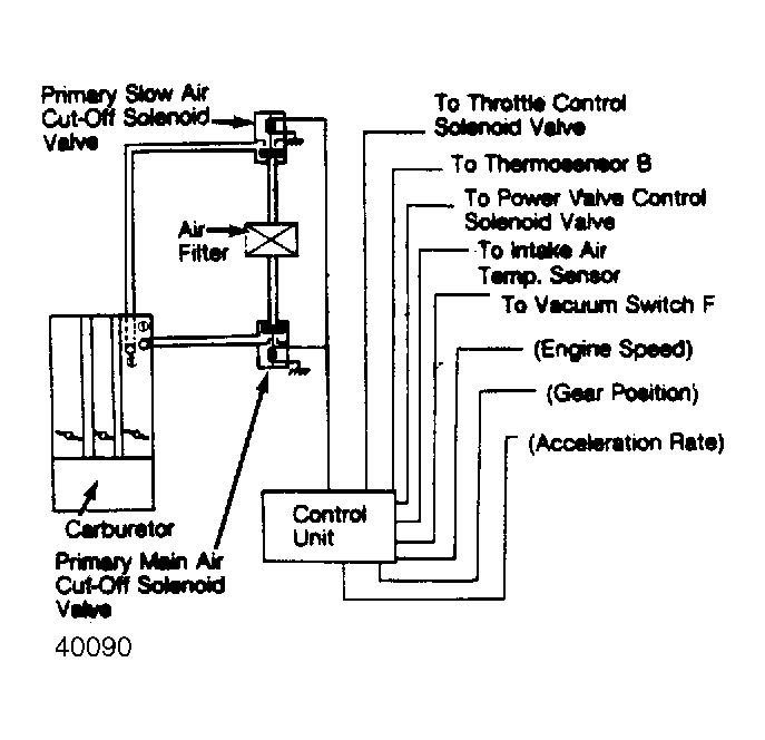
The primary main and slow air jet control system is used on Fed. 1500 HF models only. This system is designed to control air flow into carburetor main and slow air jets according to driving conditions and to maintain optimum air/fuel ratio.

When solenoid valves are activated by control unit, primary main and slow air jet cut-off solenoid valves supply additional air to each air passage of carburetor, leaning the air/fuel mixture.

Fig 1: Primary Main & Slow Air Jet Control System
G40090