LEMON Manuals: Even more car manuals for everyone: 1960-2025
Home >> Honda >> 1991 >> Civic Base, 2D Hatchback >> Repair and Diagnosis >> Body & Frame >> Power Windows >> Component Tests >> Relay Test
April 5, 2026: LEMON Manuals is launched! Read the announcement.

Relay Test

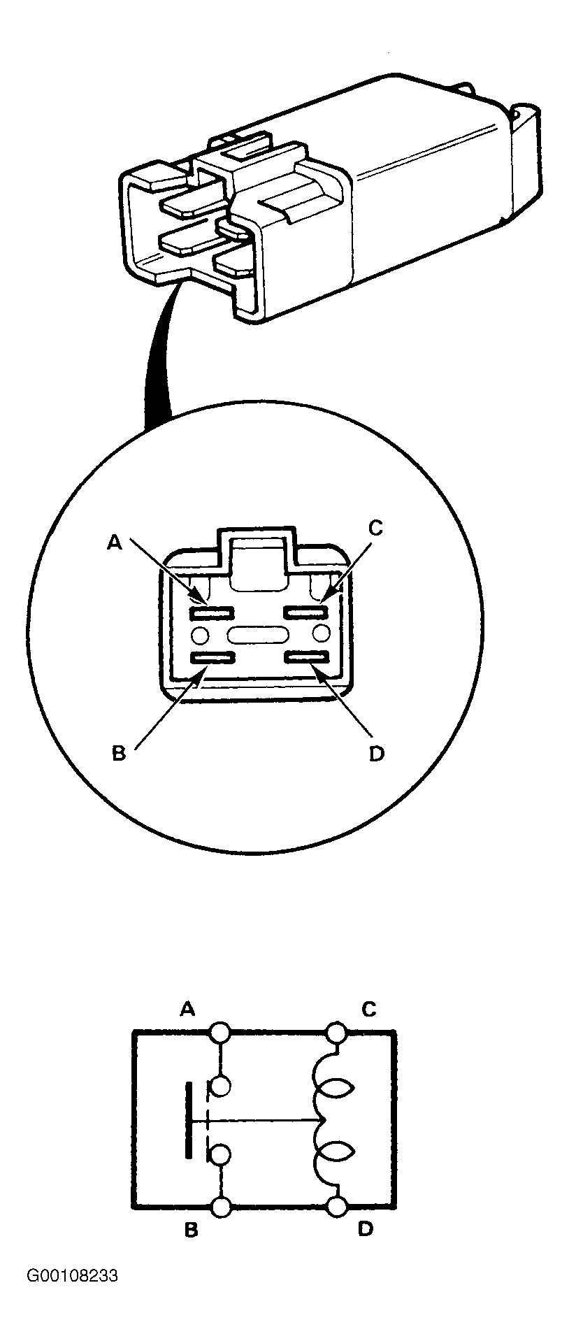
  1. Remove the relay from the dash fuse box. See Figure .
  2. There should be continuity between the A and B terminals when the battery is connected to the C and D terminals. See Fig 1 . There should be no continuity when the battery is disconnected.
Fig 1: Identifying Power Window Relay Terminals
G00108233Courtesy of AMERICAN HONDA MOTOR CO., INC.