LEMON Manuals: Even more car manuals for everyone: 1960-2025
Home >> Honda >> 2002 >> Accord Value Package >> Repair and Diagnosis >> Electrical >> Starter >> Starting System >> Bench Testing >> Brushes & Spring Test >> 2.3L
April 5, 2026: LEMON Manuals is launched! Read the announcement.

Brushes & Spring Test: 2.3L

  1. Insert the brush (A) into the brush holder, and bring the brush into contact with the commutator, attach a spring scale (B) to the spring (C). Measure the spring tension at the moment the spring lifts off the brush. See Fig 5. If the spring tension is not within specification, replace the spring. See STARTER SPECIFICATIONS .
  2. Pry back each brush spring with a screwdriver. Position the brush about halfway out of its holder, and release the spring to hold it there. See Fig 1.
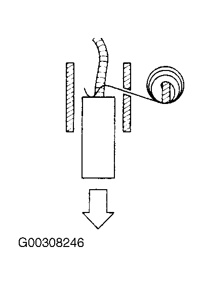
  3. Install the armature in the housing. Pry back each brush spring again, and push the brush down until it seats against the commutator, release the spring against the end of the brush. See Fig 2.
  4. Install the starter and cover (A) to retain the brush holder (B). See Fig 3 (2.3L) or Fig 4.
Fig 1: Installing Brush Spring
G00308244Courtesy of AMERICAN HONDA MOTOR CO., INC.
Fig 2: Installing Armature In the Housing
G00308246Courtesy of AMERICAN HONDA MOTOR CO., INC.
Fig 3: Installing Starter End Cover (2.3L)
G00310515Courtesy of AMERICAN HONDA MOTOR CO., INC.
Fig 4: Installing Starter End Cover (2.3L)
G00308245Courtesy of AMERICAN HONDA MOTOR CO., INC.
Fig 5: Measuring Brush Spring Tension
G00308256Courtesy of AMERICAN HONDA MOTOR CO., INC.