LEMON Manuals: Even more car manuals for everyone: 1960-2025
Home >> Honda >> 2014 >> Accord Plug-In >> Repair and Diagnosis (Single Page) >> Drivelines & Axles >> Differentials & Drive Axles >> Traction Motor - Diagnostics & Advanced Diagnostics >> Advanced Diagnostics >> DTC P1D84 (484) : Intelligent Power Module Malfunction OR Signal Line Hi (2017)
April 5, 2026: LEMON Manuals is launched! Read the announcement.

DTC P1D84 (484) : Intelligent Power Module Malfunction OR Signal Line Hi (2017)

General Description 

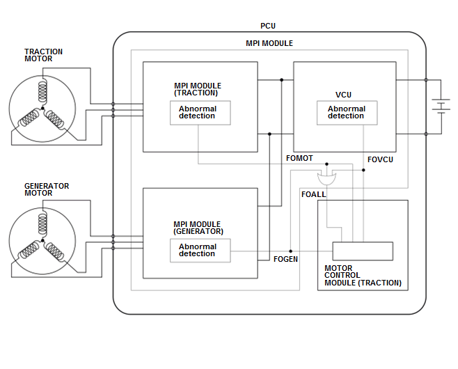
GHH261222Courtesy of HONDA, U.S.A., INC.

The motor control module detects OR signals from all abnormality detection signals coming from motor power inverter (MPI) module. If FOALL signal without the OR signal of MPI module is high, and other abnormality detection signal is low and continues to be so for a set time, the motor control module detects a malfunction and stores a DTC.

Monitor Execution, Sequence, Duration, DTC Type, OBD Status 

Execution Continuous
Sequence None
Duration 350 milliseconds or more
DTC Type One drive cycle, MIL off, POWER SYSTEM indicator on
OBD Status PASSED/FAILED/NOT COMPLETED (STILL TESTING)

Enable Conditions 

Condition Minimum Maximum
12 volt battery voltage 9.0 - 9.2 V* -

*: Hysteresis voltage width

Malfunction Threshold 

If FOALL signal without the OR of the abnormality signal from MPI module is high, and other abnormality signal is low and continues to be so for 350 milliseconds or more.

Possible Cause 

NOTE: The causes shown may not be a complete list of all potential problems, and it is possible that there may be other causes.

Diagnosis Details 

Conditions for setting the DTC 

When a malfunction is detected, the POWER SYSTEM indicator comes on and a Pending DTC, a Confirmed DTC, and the freeze data are stored in the motor control module memory.

Conditions for clearing the DTC 

The Pending DTC, the Confirmed DTC, the POWER SYSTEM indicator and the freeze data can be cleared with the scan tool Clear command or by disconnecting the 12 volt battery.