LEMON Manuals: Even more car manuals for everyone: 1960-2025
Home >> Honda >> 2014 >> Pilot EX, FWD >> Repair and Diagnosis >> Accessories & Equipment >> Infotainment >> Navigation System >> Navigation Display Unit Removal/Installation
April 5, 2026: LEMON Manuals is launched! Read the announcement.

Navigation Display Unit Removal/Installation

NOTE:
  • Put on gloves to protect your hands.
  • Take care not to scratch the dashboard.
  • Lay a workshop towel under the parts when working on them to protect the face panel from scratches or other damage.
  1. Remove the audio-navigation unit (see AUDIO-NAVIGATION UNIT REMOVAL/INSTALLATION  ).
  2. Remove the center upper panel (see CENTER UPPER PANEL REMOVAL/INSTALLATION ).
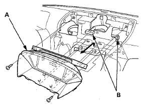
  3. Remove the screws, then pull out the navigation display unit (A).
    Fig 1: Identifying Navigation Display Unit And Connectors
    G08091243Courtesy of AMERICAN HONDA MOTOR CO., INC.
  4. Disconnect the connectors (B), and remove the navigation display unit.
  5. Separate the navigation display unit (A) and the tray (B).
    Fig 2: Identifying Navigation Display Unit And Tray
    G08091244Courtesy of AMERICAN HONDA MOTOR CO., INC.
  6. Install the navigation display unit in the reverse order of removal. Be careful not to drop the forward bolt behind the dashboard.