LEMON Manuals: Even more car manuals for everyone: 1960-2025
Home >> Honda >> 2014 >> Pilot EX, FWD >> Repair and Diagnosis >> External Pages >> Different car >> Section 143 (Navigation System) >> DVD-ROM Replacement
April 5, 2026: LEMON Manuals is launched! Read the announcement.

DVD-ROM Replacement

WARNING: This page does not describe the selected car, but rather 6 other vehicles, including the 2014 Honda Ridgeline, 2013 Honda Ridgeline, 2012 Honda Ridgeline, 2011 Honda Ridgeline, and 2010 Honda Ridgeline. However, it is still accessible from the selected car via links, so may be relevant.
NOTE:
  • Check any official Honda service website for more service information about the navigation system and software updates.
  • Do not replace the navigation DVD to give a customer a preview of an updated navigation DVD.
  1. Turn the ignition switch to ON (II).
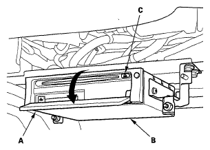
  2. Open the front cover (A) of the navigation unit (B) located under the driver's seat.
    Fig 1: Identifying Front Cover And Navigation Unit
    G05969168Courtesy of AMERICAN HONDA MOTOR CO., INC.
  3. Press the EJECT button (C), then remove the DVD-ROM.
  4. Insert the new navigation DVD with the white label facing up.
  5. Close the front cover. Do not turn the ignition switch to LOCK (0); watch the navigation screen until the data is downloaded to navigation unit.
  6. Do the Map Matching (see MAP MATCHING ).
NOTE: After servicing, the front cover must be closed.