LEMON Manuals: Even more car manuals for everyone: 1960-2025
Home >> Honda >> 2014 >> Pilot EX, FWD >> Repair and Diagnosis >> Steering >> Power Steering >> Power Steering System >> Steering Lock Replacement
April 5, 2026: LEMON Manuals is launched! Read the announcement.

Steering Lock Replacement

  1. Remove the steering column (see STEERING COLUMN REMOVAL AND INSTALLATION  ).
  2. Center-punch both of the two shear bolts (A), and drill their heads off with a 5 mm (0.20 in) drill bit. Be careful not to damage the steering lock when removing the shear bolts.
    Fig 1: Drilling Shear Bolt Heads Off Using Drill Bit
    G08087977Courtesy of AMERICAN HONDA MOTOR CO., INC.
  3. Remove the shear bolts from the steering lock, then remove the steering lock.
  4. Remove the immobilizer-keyless control unit from the steering lock, then install it to the new steering lock (see IMMOBILIZER-KEYLESS CONTROL UNIT REGISTRATION ).
  5. Install the steering lock without the key inserted.
  6. Loosely tighten the new shear bolts.
  7. Insert the ignition key, and check for proper operation of the steering wheel lock and that the ignition key turns freely.
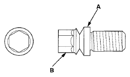
  8. Tighten the shear bolts (A) until the hex heads (B) twist off.
    Fig 2: Identifying Shear Bolts And Hex Heads
    G08087978Courtesy of AMERICAN HONDA MOTOR CO., INC.
  9. Install the steering column (see STEERING COLUMN REMOVAL AND INSTALLATION  ).
  10. Rewrite all new keys to the new immobilizer control unit-receiver (see IMMOBILIZER KEY REGISTRATION ), and make sure the immobilizer system works properly.