LEMON Manuals: Even more car manuals for everyone: 1960-2025
Home >> Honda >> 2014 >> Pilot EX, FWD >> Repair and Diagnosis >> Transmission >> Automatic Trans >> Automatic Transmission >> Transfer Assembly >> Reassembly
April 5, 2026: LEMON Manuals is launched! Read the announcement.

Transfer Assembly: Reassembly

Special Tools Required 

NOTE:
  • While reassembling the transfer assembly:
    • Check and adjust the transfer gear tooth contact.
    • Measure and adjust the transfer gear backlash.
    • Check and adjust the tapered roller bearing starting torque.
  • Coat all parts with transfer fluid (hypoid gear oil) during reassembly.
  • Replace the tapered roller bearing and the tapered roller bearing outer race as a set if either part is replaced.
  • Replace the transfer hypoid drive gear and the transfer output shaft (hypoid gear) as a set if either part is replaced.
  • To prevent damage to the transfer housing, always use soft jaws or equivalent materials between the transfer housing and a vise.
  1. Select the 40 mm thrust shim if the transfer output shaft (hypoid gear) is replaced. Calculate the thickness of the 40 mm thrust shim using the following formula, and select the shim from the following table.

    FORMULA: A/100 -B/100 + C = X 

    A: Number on the existing transfer output shaft (hypoid gear) 

    B: Number on the replacement transfer output shaft (hypoid gear) 

    C: Thickness of the existing 40 mm thrust shim 

    X: Thickness needed for the replacement 40 mm thrust shim 

    NOTE: The number on the transfer output shaft (hypoid gear) is shown in 1/100 mm.

    EXAMPLE 

    A: Existing transfer output shaft (hypoid gear) Numbers +2 

    B: Replacement transfer output shaft (hypoid gear) Numbers -1 

    C: Existing 40 mm thrust shim thickness = 1.05 mm 

    X: Replacement 40 mm thrust shim thickness 

    X = A/100-B/100+C 

    = 2/100- (-1)/100+1.05 

    = 0.02+0.01 + 1.05 = 1.08 (mm) 

    Select No. M 40 mm thrust shim of 1.08 mm (0.043 in) 

    Fig 1: Identifying Number On Transfer Output Shaft (Hypoid Gear)
    G08087707Courtesy of AMERICAN HONDA MOTOR CO., INC.
    THRUST SHIM, 40 MM

    Shim No. Thickness
    A 0.72 mm (0.028 in)
    B 0.75 mm (0.030 in)
    C 0.78 mm (0.031 in)
    D 0.81 mm (0.032 in)
    E 0.84 mm (0.033 in)
    F 0.87 mm (0.034 in)
    G 0.90 mm (0.035 in)
    H 0.93 mm (0.037 in)
    I 0.96 mm (0.038 in)
    J 0.99 mm (0.039 in)
    K 1.02 mm (0.040 in)
    L 1.05 mm (0.041 in)
    M 1.08 mm (0.043 in)
    N 1.11 mm (0.044 in)
    O 1.14 mm (0.045 in)
  2. Select the 40 mm thrust shim if the tapered roller bearing on the transfer output shaft (hypoid gear) is replaced. Measure the thickness of the replacement bearing and the existing bearing, and calculate the difference of the bearing thickness. Adjust the thickness of the existing 40 mm thrust shim by the amount of difference in bearing thickness, and select the replacement 40 mm thrust shim.
  3. Install the 40 mm thrust shim (A) on the transfer output shaft (hypoid gear) (B), then install the tapered roller bearing (C) using the 40 mm driver handle and a press.
    Fig 2: Installing Tapered Roller Bearing Using Driver Handle And Press
    G08087708Courtesy of AMERICAN HONDA MOTOR CO., INC.
  4. Place the tapered roller bearing (A) on the tapered roller bearing outer race of the companion flange side of the transfer housing, and install a new oil seal (B).
    Fig 3: Identifying Tapered Roller Bearing And Oil Seal
    G08087709Courtesy of AMERICAN HONDA MOTOR CO., INC.
  5. Drive the oil seal securely in the transfer housing using the driver handle and the 65 mm attachment.
    Fig 4: Driving Oil Seal Securely In Transfer Housing Using Driver Handle
    G08087710Courtesy of AMERICAN HONDA MOTOR CO., INC.
  6. Install the transfer output shaft (hypoid gear) (A) in the transfer housing (B). Do not install the transfer spacer and the thrust washer on the transfer output shaft (hypoid gear).
    Fig 5: Identifying Transfer Output Shaft (Hypoid Gear) And Transfer Housing
    G08087711Courtesy of AMERICAN HONDA MOTOR CO., INC.
  7. Install the companion flange (A), the conical spring washer (B) in the direction shown, and a new locknut (C) on the transfer output shaft (hypoid gear) (D). Do not install the O-ring and the back-up ring.
    Fig 6: Identifying Companion Flange, Conical Spring Washer, Locknut And Transfer Output Shaft (Hypoid Gear)
    G08087712Courtesy of AMERICAN HONDA MOTOR CO., INC.
  8. Secure the transfer housing (A) in a bench vise (B) with soft jaws.
    Fig 7: Identifying Securing Transfer Housing, Bench Vise And Soft Jaws
    G08087713Courtesy of AMERICAN HONDA MOTOR CO., INC.
  9. Install the flange holder on the companion flange.
  10. Tighten the locknut while measuring the starting torque of the transfer output shaft (hypoid gear) so the starting torque is within 1.15-1.71 N.m (0.117-0.174 kgf.m, 0.85-1.26 lbf.ft). Do not stake the locknut in this step.
  11. Remove the flange holder.
  12. Apply Prussian Blue to both sides of the transfer hypoid drive gear teeth lightly and evenly.
  13. Install the tapered roller bearing (A), the 25 mm thrust shim (B), and the transfer drive gear/shaft assembly (C) in the transfer housing (D).
    Fig 8: Tapered Roller Bearing, Thrust Shim, Transfer Drive Gear/Shaft Assembly And Transfer Housing With Torque Specifications
    G08087714Courtesy of AMERICAN HONDA MOTOR CO., INC.
  14. Install the transfer cover (E) and secure it with the bolts. Do not install the O-ring on the transfer cover.
  15. Rotate the companion flange in both directions until the transfer gears rotate one full turn in both directions.
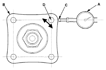
  16. Set a dial indicator (A) on the transfer companion flange (B); position the dial indicator tip (C) on the direct extension of the bolt hole center (D).
    Fig 9: Setting Dial Indicator On Transfer Companion Flange
    G08087715Courtesy of AMERICAN HONDA MOTOR CO., INC.
  17. Measure the transfer gear backlash.

    Standard: 0.06-0.17 mm (0.0024-0.0067 in) 

  18. Remove the transfer cover, and the transfer hypoid drive gear/shaft assembly, and check the transfer hypoid drive gear tooth contact pattern.
    Fig 10: Identifying Transfer Hypoid Drive Gear Tooth Contact Pattern
    G08087716Courtesy of AMERICAN HONDA MOTOR CO., INC.
  19. If the backlash measurement is out of standard, adjust the backlash with the 40 mm thrust shim, and recheck. Do not use more than two 40 mm thrust shims to adjust the backlash.
  20. If the transfer gear tooth contact is incorrect, adjust the tooth contact with the 25 mm, 40 mm, or 80 mm thrust shim. Do not use more than two shims of each thrust shim to adjust the tooth contact.
    • Toe Contact

      Use a thinner 40 mm thrust shim in step  1 to move the transfer output shaft (hypoid gear) away from the transfer hypoid drive gear. Because this movement causes the transfer gear backlash to change, move the transfer hypoid drive gear toward the transfer output shaft (hypoid gear) to adjust the transfer gear backlash as follows:

      • Reduce the thickness of the 25 mm thrust shim.
      • Increase the thickness of the 80 mm thrust shim (see step  42) by amount the 25 mm thrust shim was reduced.
    • Heel Contact

      Use a thicker 40 mm thrust shim in step  1 to move the transfer output shaft (hypoid gear) toward the transfer hypoid drive gear. Because this movement causes the transfer gear backlash to change, move the transfer hypoid drive gear away from the transfer output shaft (hypoid gear) to adjust the transfer gear backlash as follows:

      • Increase the thickness of the 25 mm thrust shim.
      • Reduce the thickness of the 80 mm thrust shim (see step  42) by amount the 25 mm thrust shim was reduced.
    • Flank Contact

      Use a thicker 25 mm thrust shim to move the transfer hypoid drive gear away from the transfer output shaft (hypoid gear). Flank contact must be adjusted within the limits of the transfer gear backlash. If the backlash exceeds the limits, adjust as described under Heel Contact.

    • Face Contact

      Use a thinner 25 mm thrust shim to move the transfer hypoid drive gear toward the transfer output shaft (hypoid gear). Face contact must be adjusted within the limits of the transfer gear backlash. If the backlash exceeds the limits, adjust as described under Toe Contact.

    THRUST SHIM, 25 MM

    Shim No. Thickness
    1.70 1.70 mm (0.067 in)
    1.73 1.73 mm (0.068 in)
    1.76 1.76 mm (0.069 in)
    1.79 1.79 mm (0.070 in)
    1.82 1.82 mm (0.072 in)
    1.85 1.85 mm (0.073 in)
    1.88 1.88 mm (0.074 in)
    1.91 1.91 mm (0.075 in)
    1.94 1.94 mm (0.076 in)
    1.97 1.97 mm (0.078 in)
    2.00 2.00 mm (0.079 in)
    2.03 2.03 mm (0.080 in)
    2.06 2.06 mm (0.081 in)
    2.09 2.09 mm (0.082 in)
    2.12 2.12 mm (0.083 in)
    2.15 2.15 mm (0.085 in)
    2.18 2.18 mm (0.086 in)
    2.21 2.21 mm (0.087 in)
    2.24 2.24 mm (0.088 in)
  21. Remove the transfer cover (A), the transfer hypoid drive gear/shaft assembly (B), the 25 mm thrust shim (C), and the tapered roller bearing (D) from the transfer housing (E) after adjusting the transfer gear backlash or transfer gear tooth contact.
    Fig 11: Identifying Transfer Cover, Transfer Hypoid Drive Gear/Shaft Assembly, Thrust Shim, Tapered Roller Bearing
    G08087717Courtesy of AMERICAN HONDA MOTOR CO., INC.
  22. Secure the transfer housing (A) in a bench vise (B) with soft jaws.
    Fig 12: Identifying Securing Transfer Housing, Bench Vise And Soft Jaws
    G08087718Courtesy of AMERICAN HONDA MOTOR CO., INC.
  23. Install the flange holder on the companion flange, then loosen the locknut.
  24. Remove the flange holder.
  25. Remove the locknut (A), the conical spring washer (B), and the companion flange (C) from the transfer output shaft (hypoid gear) (D).
    Fig 13: Identifying Locknut, Conical Spring Washer, Companion Flange And Transfer Output Shaft (Hypoid Gear)
    G08087719Courtesy of AMERICAN HONDA MOTOR CO., INC.
  26. Remove the transfer output shaft (hypoid gear) from the transfer housing.
  27. Install the thrust washer (A) and a new transfer spacer (B) on the transfer output shaft (hypoid gear) (C), and install them in the transfer housing (D).
    Fig 14: Identifying Thrust Washer, Transfer Spacer, Transfer Output Shaft (Hypoid Gear) And Transfer Housing
    G08087720Courtesy of AMERICAN HONDA MOTOR CO., INC.
  28. Coat the threads of the locknut and transfer output shaft (hypoid gear) with transfer fluid (hypoid gear oil).
  29. Install the companion flange (A). Coat a new O-ring (B) with transfer fluid (hypoid gear oil), then install the O-ring, the back-up ring (C), a new conical spring washer (D), and a new locknut (E) on the transfer output shaft (hypoid gear) (F). Install the conical spring washer in the direction shown.
    Fig 15: Identifying Companion Flange, O-Ring, Back-Up Ring, Spring Washer And Locknut
    G08087721Courtesy of AMERICAN HONDA MOTOR CO., INC.
  30. Secure the transfer housing (A) in a bench vise (B) with soft jaws.
    Fig 16: Identifying Securing Transfer Housing, Bench Vise And Soft Jaws
    G08087722Courtesy of AMERICAN HONDA MOTOR CO., INC.
  31. Install the flange holder on the companion flange.
  32. Tighten the locknut while measuring the starting torque of the transfer output shaft (hypoid gear) so the starting torque is within 1.15 - 1.71 N.m (0.117-0.174 kgf.m, 0.85-1.26 lbf.ft).

    Tightening Torque: 

    108-294 N.m (11.0-30.0 kgf.m, 79.6-217 lbf.ft) 

    Starting Torque: 

    1.15-1.71 N.m (0.117-0.174 kgf.m, 0.85-1.26 lbf.ft) 

    NOTE:
    • Rotate the companion flange several times to seat the tapered roller bearings, then measure the starting torque.
    • If the starting torque exceeds 1.71 N.m (0.174 kgf.m, 1.26 lbf.ft), replace the transfer spacer, and reassemble the parts. Do not adjust the torque with the locknut loose.
    • If the tightening torque exceeds 294 N.m (30.0 kgf.m, 217 lbf.ft), replace the transfer spacer, and reassemble the parts.
  33. Remove the flange holder.
  34. Stake the locknut to a depth (A) at least 0.7 mm (0.03 in) using a 3.5 mm punch (B).
    NOTE: Be careful not to make a crack on the locknut when staking.
    Fig 17: Removing Flange Holder
    G08087723Courtesy of AMERICAN HONDA MOTOR CO., INC.
  35. Install the tapered roller bearing (A), the 25 mm thrust shim (B), and the transfer hypoid drive gear/shaft assembly (C) in the transfer housing (D).
    Fig 18: Tapered Roller Bearing, Thrust Shim, Transfer Hypoid Drive Gear/Shaft Assembly And Transfer Housing With Torque Specifications
    G08087724Courtesy of AMERICAN HONDA MOTOR CO., INC.
  36. Temporarily install the transfer cover (E) without the O-ring. Install and tighten the bolts.
  37. Secure the transfer housing (A) in a bench vise (B) with soft jaws.
    Fig 19: Securing Transfer Housing In Bench Vise With Soft Jaws
    G08087725Courtesy of AMERICAN HONDA MOTOR CO., INC.
  38. Rotate the transfer companion flange (C) several times to seat the tapered roller bearings.
  39. Measure the total starting torque at the companion flange by using a torque wrench (D) and a socket (E).
  40. Calculate the transfer hypoid drive gear/shaft starting torque by using the following formula.

    Transfer Hypoid Drive Gear/Shaft Starting Torque 

    Formula: A-B = X 

    A: Actual total starting torque (measured in step  39)

    B: Actual transfer output shaft (hypoid gear) starting torque (measured in step  32)

    X: Transfer hypoid drive gear/shaft starting torque 

  41. Check that the calculated transfer hypoid drive gear/shaft starting torque is within the following reference value range.

    Reference Value Range of Transfer Hypoid 

    Drive Gear/Shaft Starting Torque: 

    1.49-3.01 N.m (0.152-0.307 kgf.m, 1.10-2.22 lbf.ft) 

    • If the calculated transfer hypoid drive gear/shaft starting torque is within the reference value range, remove the transfer cover from the transfer housing, then go to step  47.
    • If the calculated transfer hypoid drive gear/shaft starting torque is out of the reference value range, go to step 42.
  42. Remove the bearing outer race (A) and the 80 mm thrust shim (B) from the transfer cover (C). If the tapered roller bearing outer race is press-fitted, remove the tapered roller bearing outer race by heating the transfer cover to about 212°F (100°C) using a heat gun (D). Do not heat the transfer cover more than 212°F(100°C).
    Fig 20: Heating Transfer Cover Using Heat Gun
    G08087726Courtesy of AMERICAN HONDA MOTOR CO., INC.
  43. Measure the thickness of the removed 80 mm thrust shim, and select a new 80 mm thrust shim.
    THRUST SHIM, 80 MM

    Shim No. Thickness
    A 1.52 mm (0.060 in)
    B 1.55 mm (0.061 in)
    C 1.58 mm (0.062 in)
    D 1.61 mm (0.063 in)
    E 1.64 mm (0.065 in)
    F 1.67 mm (0.066 in)
    G 1.70 mm (0.067 in)
    H 1.73 mm (0.068 in)
    I 1.76 mm (0.069 in)
    J 1.79 mm (0.070 in)
    K 1.82 mm (0.072 in)
    L 1.85 mm (0.073 in)
    M 1.88 mm (0.074 in)
    N 1.91 mm (0.075 in)
    O 1.94 mm (0.076 in)
    P 1.97 mm (0.078 in)
    Q 2.00 mm (0.079 in)
    R 2.03 mm (0.080 in)
    S 2.06 mm (0.081 in)
    T 2.09 mm (0.082 in)
    U 2.12 mm (0.083 in)
    V 2.15 mm (0.085 in)
    W 2.18 mm (0.086 in)
    X 2.21 mm (0.087 in)
    Y 2.24 mm (0.088 in)
    Z 2.27 mm (0.089 in)
    AA 2.30 mm (0.091 in)
    AB 2.33 mm (0.092 in)
    AC 2.36 mm (0.093 in)
    AD 2.39 mm (0.094 in)
    AE 2.42 mm (0.095 in)
    AF 2.45 mm (0.096 in)
    AG 2.48 mm (0.098 in)
    AH 2.51 mm (0.099 in)
    Al 2.54 mm (0.100 in)
    AJ 2.57 mm (0.101 in)
    AK 2.60 mm (0.102 in)
    AL 2.63 mm (0.104 in)
    AM 2.66 mm (0.105 in)
  44. Install the 80 mm thrust shim (A) and the tapered roller bearing outer race (B) in the transfer cover (C). If you heated the transfer cover, let it cool to room temperature before installing the 80 mm thrust shim.
    Fig 21: Identifying Thrust Shim, Tapered Roller Bearing Outer Race And Transfer Cover
    G08087727Courtesy of AMERICAN HONDA MOTOR CO., INC.
  45. Drive the tapered roller bearing outer race securely in the transfer cover using the driver handle and the 78 x 80 mm attachment so there is no clearance between the tapered roller bearing outer race, the 80 mm thrust shim, and the transfer cover.
    Fig 22: Driving Tapered Roller Bearing Outer Race Using Driver Handle
    G08087728Courtesy of AMERICAN HONDA MOTOR CO., INC.
  46. After replacing the 80 mm thrust shim, recheck, and make sure that the total staring torque is within specification.
  47. Install a new O-ring (A) on the transfer cover (B), then install the transfer cover on the transfer housing (C).
    Fig 23: O-Ring, Transfer Cover And Transfer Housing With Torque Specifications
    G08087729Courtesy of AMERICAN HONDA MOTOR CO., INC.
  48. Remove the filler plug (A), then refill the transfer assembly with transfer fluid (hypoid gear oil). Use an SAE 90 viscosity hypoid gear oil, API classified GL4 or GL5 only.

    Viscosity: 

    SAE 90: Above 0°F (-18°C) 

    Hypoid Gear Oil Capacity: 0.45 L (0.48 US qt) 

    Fig 24: Filler Plug And Sealing Washer With Torque Specifications
    G08087730Courtesy of AMERICAN HONDA MOTOR CO., INC.
  49. Install the filler plug with a new sealing washer (B).