LEMON Manuals: Even more car manuals for everyone: 1960-2025
Home >> Honda >> 2014 >> Ridgeline RT >> Repair and Diagnosis >> Body & Frame >> Windows >> Glass >> Windshield Replacement
April 5, 2026: LEMON Manuals is launched! Read the announcement.

Windshield Replacement

NOTE:
  • Put on gloves to protect your hands.
  • Wear eye protection when removing the glass with piano wire.
  • Use seat covers to avoid damaging the seat.
  • When replacing a broken windshield, a commercially available windshield cutter can be efficiently used for cutting the adhesive. For details, follow the tool manufacturer's instructions.
  • Do not damage the windshield defogger grid lines or the defogger terminals.
  1. Remove these items:
  2. Lower the glove box (see DASHBOARD CENTER LOWER COVER DISASSEMBLY/REASSEMBLY ).
  3. Disconnect the windshield defogger connector (A) through the glove box opening, and pull out the windshield defogger harness (B) from the tweeter grille opening in the dashboard (C).
    Fig 1: Disconnecting Windshield Defogger Connector
    G05965567Courtesy of AMERICAN HONDA MOTOR CO., INC.
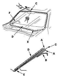
  4. Remove the molding (A) from the edge of the windshield (B). If necessary, cut the molding with a utility knife.
    Fig 2: Removing Molding From Edge Of Windshield
    G05965568Courtesy of AMERICAN HONDA MOTOR CO., INC.
  5. If the old windshield will be reinstalled, make alignment marks across the glass and body with a grease pencil.
  6. Pull down the front portion of the headliner (see HEADLINER REMOVAL/INSTALLATION ). Take care not to bend the headliner excessively, or you may crease or break it.
  7. Apply protective tape along the edge of the dashboard and body. Make a hole with an awl through the rubber dam, the adhesive, and the dashboard seal from inside the vehicle at a corner of the windshield. Push a piece of piano wire through the hole, and wrap each end around a piece of wood.
  8. Apply the protective plastic plates (A) between the dashboard (B) and the piano wire (C), and between the windshield (D) and the piano wire. With a helper on the outside, pull the piano wire back and forth in a sawing motion. Hold the piano wire as close to the windshield as possible to prevent damage to the body and the dashboard. Carefully cut through the rubber dam and the adhesive (E) around the entire windshield. Take care not to damage the windshield defogger harness (F).
    Fig 3: Applying Protective Plastic Plates Between Dashboard And Piano Wire
    G05965569Courtesy of AMERICAN HONDA MOTOR CO., INC.
    Fig 4: Cutting Position Of Windshield
    G05965570Courtesy of AMERICAN HONDA MOTOR CO., INC.
  9. Carefully remove the windshield.
  10. Scrape smooth the old adhesive with a knife until there is a thickness of about 2 mm (0.08 in) on the bonding surface around the entire windshield opening flange:
    • Do not scrape down to the painted surface of the body; damaged paint will interfere with proper bonding.
    • Remove the rubber dam and the fasteners from the body.
  11. Clean the body bonding surface with a sponge dampened in isopropyl alcohol. After cleaning, keep oil, grease and water from getting on the clean surface.
  12. If you are reinstalling the old windshield, scrape off all of the old adhesive, the rubber dams and the dashboard seal from the windshield with a putty knife. Clean the bonding surfaces on the inside face and the edge of the windshield with isopropyl alcohol. Make sure the bonding surface is kept free of water, oil, and grease.
  13. Apply glass primer to the fastener mounting area on the windshield (A), and let it dry. Remove the adhesive backing and attach the upper rubber dam (B), the side rubber dams (C), the lower rubber dam (D), the fasteners (E), and the dashboard seal (F) to the inside face of the windshield as shown.
    • Be sure the rubber dams, the fasteners, and the dashboard seal line up with the alignment marks (G).
    • Be careful not to touch the windshield where adhesive will be applied.
    Fig 5: Identifying Primer Applying Area On Fastener Mounting
    G00507562Courtesy of AMERICAN HONDA MOTOR CO., INC.
  14. Apply primer to the edge of the windshield between the alignment marks (A). Be careful not to touch the windshield where adhesive will be applied.
    Fig 6: Identifying Primer Applying Area On Edge Of Windshield
    G05965572Courtesy of AMERICAN HONDA MOTOR CO., INC.
  15. Attach the molding (A) with adhesive tape (B) to the edge of the windshield (C):
    • Be sure the alignment mark (D) of the molding lines up with the alignment mark (E) of the windshield.
    • Be careful not to touch the windshield where adhesive will be applied.
    Fig 7: Attaching Molding With Adhesive Tape To Edge Of Windshield
    G05965573Courtesy of AMERICAN HONDA MOTOR CO., INC.
  16. Attach the molding upper seals (A), the molding side seals (B), and the non woven fabric (C) to the inside surface of the molding (D), and attach the molding rubbers (E) with the adhesive tape to the inside surface of the molding lip (F) as shown:
    • Be sure the molding upper seal and the molding side seal line up with the alignment dots (G).
    • Be sure the molding rubber lines up with the alignment mark (H) of the molding.
    • Be careful not to touch the windshield where adhesive will be applied.
    Fig 8: Attaching Molding Rubbers With Adhesive Tape To Inside Surface Of Molding Lip
    G05965574Courtesy of AMERICAN HONDA MOTOR CO., INC.
  17. Install the fasteners to the body.
    Fig 9: Identifying Body Fasteners Location
    G05965575Courtesy of AMERICAN HONDA MOTOR CO., INC.
  18. If you are installing a new windshield, set the windshield in the opening, and center it. Make alignment marks (A) across the windshield and the body with a grease pencil at the four points shown. Be careful not to touch the windshield where the adhesive will be applied.
    Fig 10: Identifying Alignment Marks On Windshield And Body
    G05965576Courtesy of AMERICAN HONDA MOTOR CO., INC.
  19. Remove the windshield.
  20. Apply a light coat of glass primer to the windshield (A) along the edge of the upper rubber dam (B), the side rubber dams (C), the lower rubber dam (D), and the molding (E) as shown, then lightly wipe it off with gauze or cheesecloth:
    • Apply glass primer to the molding.
    • Do not apply body primer to the windshield, and do not mix up the body primer applicator and the glass primer applicator.
    • Never touch the primed surfaces with your hands. If you do, the adhesive may not bond to the windshield properly, causing a leak after the windshield is installed.
    • Keep water, dust, and abrasive materials away from the primed surfaces.
    • Fig 11: Identifying Glass Primer Applying Area On Molding
      G05965577Courtesy of AMERICAN HONDA MOTOR CO., INC.
  21. Carefully apply a light coat of body primer to any exposed paint around the flange where the adhesive will be applied. Let the primer dry for at least 10 minutes:
    • Do not apply body primer to any remaining original adhesive on the flange.
    • Be careful not to mix up the body primer applicator and the glass primer applicator.
    • Never touch the primed surface with your hands.
    • Cover on the dashboard before applying the primer.
    • Fig 12: Applying Body Primer To Exposed Points
      G05965578Courtesy of AMERICAN HONDA MOTOR CO., INC.
  22. Cut a "V" in the end of the nozzle (A) on the adhesive cartridge as shown.
    Fig 13: Identifying Nozzle Tip Cutting Area
    G05965579Courtesy of AMERICAN HONDA MOTOR CO., INC.
  23. Put the cartridge in a caulking gun, and run a continuous bead of the adhesive (A) around the edge of the windshield (B) between the upper rubber dam (C), the side rubber dams (D), the lower rubber dam (E), and the molding (F) as shown. Apply the adhesive within 30 minutes after applying the glass primer. Make a slightly thicker bead at each corner.
    Fig 14: Identifying Primer Applying Area
    G05965580Courtesy of AMERICAN HONDA MOTOR CO., INC.
  24. Hold the windshield with suction cups over the opening, align it with the alignment marks you made in step 18, and set it down on the adhesive. Lightly push on the windshield until its edges are fully seated on the adhesive all the way around.
    NOTE: Do not open or close any of the doors for about an hour until the adhesive is dry.
  25. Remove the excess adhesive with a putty knife or a shop towel dampened with isopropyl alcohol.
  26. Wait at least an hour for the adhesive to dry, then spray water over the windshield and check for leaks. Mark leaking areas, and let the windshield dry, then seal with sealant. Let the vehicle stand for at least 4 hours after windshield installation. If the vehicle has to be used within the first 4 hours, it must be driven slowly.
  27. Reinstall all removed parts. Install the rearview mirror after the adhesive has dried thoroughly.
NOTE: Advise the customer not to do the following things for 2 to 3 days: