LEMON Manuals: Even more car manuals for everyone: 1960-2025
Home >> Hyundai >> 2003 >> Tiburon Base, Standard >> Repair and Diagnosis (Single Page) >> Body & Frame >> Door Locks >> Immobilizer Control System >> Immobilizer Control System >> System Block Diagram
April 5, 2026: LEMON Manuals is launched! Read the announcement.

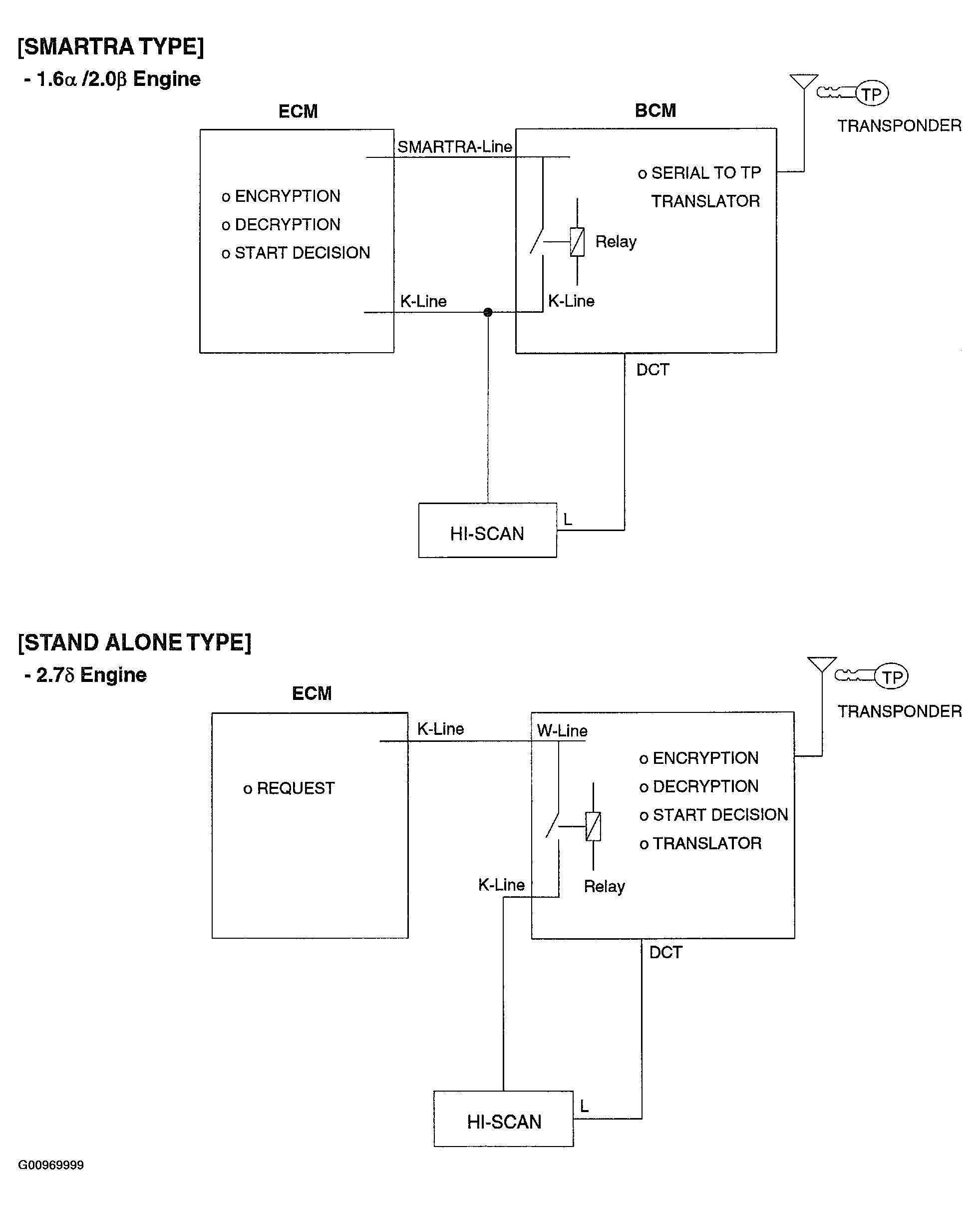
System Block Diagram

The source of diagnostics commands for immobilizer equipped BCM's is different depending upon the type of immobilizer used. The diagnostics communication for the SMARTRA system will be performed by communicating with the ECM on its K line.

In the case of a BCM that has an immobilizer, the detection of a tester being present will cause the K-line enable relay to close and the Diag pull up to be switched off. This mode of the diagnostics interface is called "Diagnostics" mode. This will then remain the case until the tester is disconnected. When the K-line enable relay is off and the diag pull up is enabled, this mode is called "immobilizer" mode.

Fig 1: System Block Diagram
G00969999Courtesy of HYUNDAI MOTOR CO.