LEMON Manuals: Even more car manuals for everyone: 1960-2025
Home >> Infiniti >> 1997 >> J30 Base >> Repair and Diagnosis >> Body & Frame >> Body, Cab Control Systems >> Timer Control System >> Trouble Shooting >> Preliminary Check
April 5, 2026: LEMON Manuals is launched! Read the announcement.

Preliminary Check

Check for blown fuses. See FUSE APPLICATION  table. Repair or replace related harness or component for a short circuit as necessary. Ensure TCU-to-interior fuse block connections are okay. Check interior fuse block internal circuitry for continuity before diagnosis. See FUSE BLOCK INTERNAL CIRCUIT CHECK  under SYSTEM TESTS. Check TCU power supply and ground circuits. See MAIN POWER SUPPLY & GROUND CIRCUIT CHECK  under SYSTEM TESTS. Repair or replace harness as necessary.

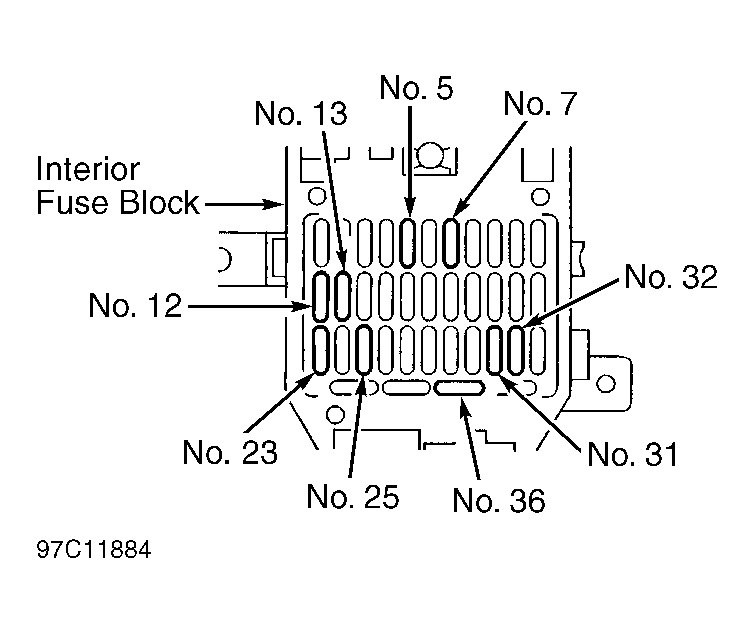
FUSE APPLICATION (1)

Fuse No. Power Supply System Circuit Load
5 (20-Amp) ACC Wiper Motor
7 (7.5-Amp) ACC Power Antenna & Audio
12 (10-Amp) BAT Key Switch, Air Bag & Anti-Theft System
13 (7.5-Amp) BAT Clock, A/T Control & Remote Control Door Lock
23 (7.5-Amp) BAT Interior & Step Lights
25 (7.5-Amp) BAT Tail & Clearance Lights
31 (7.5-Amp) IGN Charge, A/T & ABS
32 (7.5-Amp) IGN HICAS & Power Steering
36 (20-Amp) IGN Mirror, LD/SIG & DEF
(1) See Fig 1 .
Fig 1: Identifying Fuse Locations
G97C11884Courtesy of NISSAN MOTOR CO., U.S.A.