LEMON Manuals: Even more car manuals for everyone: 1960-2025
Home >> Infiniti >> 1997 >> J30 Base >> Repair and Diagnosis >> Body & Frame >> Door Locks >> Multi-Remote Control System >> System Tests >> Diagnostic Procedure 2: No Remote Controller Functions (1 Of 2)
April 5, 2026: LEMON Manuals is launched! Read the announcement.

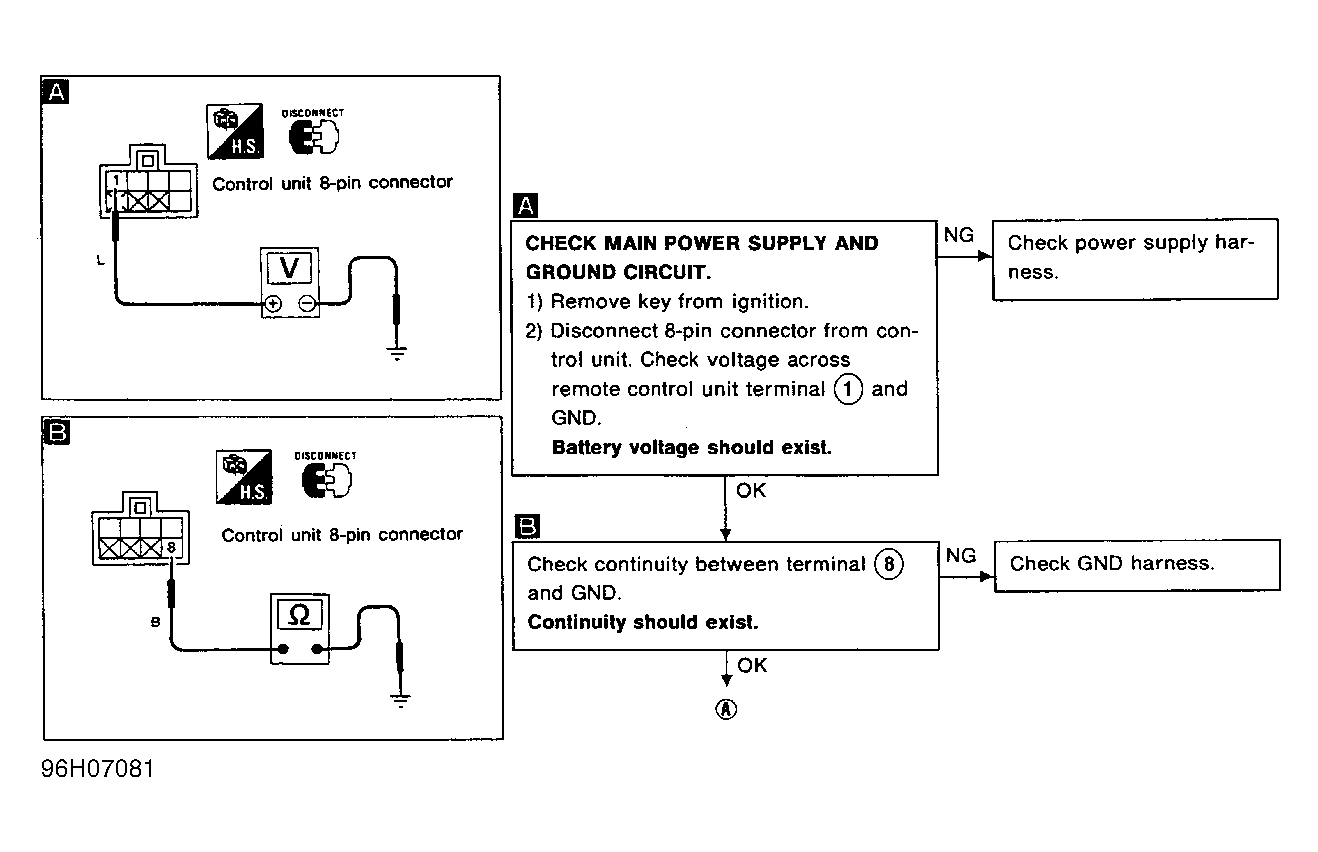
Diagnostic Procedure 2: No Remote Controller Functions (1 Of 2)

Fig 1: Diagnostic Procedure 2 - No Remote Controller Functions (1 Of 2)
G96H07081Courtesy of NISSAN MOTOR CO., U.S.A.