LEMON Manuals: Even more car manuals for everyone: 1960-2025
Home >> Infiniti >> 2001 >> G20 Base, Automatic, RE4F03W >> Repair and Diagnosis >> Engine Performance >> System >> Engine Controls - Self-Diagnostics >> Diagnostic Tests >> DTC P1402: EGR Function >> Procedure
April 5, 2026: LEMON Manuals is launched! Read the announcement.

DTC P1402: EGR Function: Procedure

  1. Turn ignition off. Disconnect EGR-VCV harness connector. See Figure. Turn ignition on. Measure voltage between ground and EGR-VCV harness connector terminals No. 2 and 5 (Green/White wires). See Figure. If battery voltage exists, go to next step. If battery voltage does not exist, repair open or short circuit and retest system. See WIRING DIAGRAMS article.
  2. Turn ignition off. Disconnect ECM harness connector. See Figure. Check continuity of the following:
    • Light Blue wire between EGR-VCV harness connector terminal No. 1 and ECM harness connector terminal No. 8.
    • Red/White wire between EGR-VCV harness connector terminal No. 3 and ECM harness connector terminal No. 17.
    • White/Black wire between EGR-VCV harness connector terminal No. 4 and ECM harness connector terminal No. 9.
    • Green/Red wire between EGR-VCV harness connector terminal No. 6 and ECM harness connector terminal No. 18.

    See Figure and Figure . Also check circuits for short to ground and short to voltage. Repair as necessary and retest system. If circuits are okay, go to next step.

  3. Remove EGR temperature sensor. See Figure. Measure resistance between EGR temperature sensor terminals, with sensor at specified temperatures. See EGR TEMPERATURE SENSOR RESISTANCE  table. If resistance is as specified, go to next step. If resistance is not as specified, replace EGR temperature sensor and retest system.
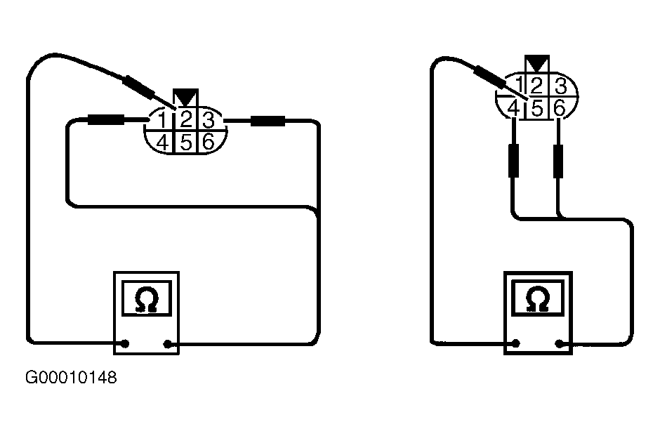
  4. Measure resistance between EGR-VCV terminals No. 2 and 1, No. 2 and 3, No. 5 and 4, and No. 5 and 6. See Figure. Resistance should be 20.9-23.1 ohms at 68°F (20°C). If resistance is as specified, go to next step. If resistance is not as specified, replace EGR-VCV and retest system.
  5. Remove EGR-VCV. Reconnect all harness connectors. While observing EGR-VCV shaft, turn ignition on and off. EGR-VCV shaft should move smoothly forward and backward according to ignition switch position. If operation is as specified, go to next step. If operation is not as specified, replace EGR-VCV and retest system.
  6. No problem is indicated at this time. Problem may be intermittent. See INTERMITTENTS in TROUBLE SHOOTING - NO CODES article.
EGR TEMPERATURE SENSOR RESISTANCE

Temperature °F (°C) K/Ohms
32 (0) 730-890
122 (50) 74-82
212 (100) 12-14