LEMON Manuals: Even more car manuals for everyone: 1960-2025
Home >> Infiniti >> 2001 >> Q45 t >> Repair and Diagnosis >> Engine Performance >> System >> Engine Controls - Self-Diagnostics >> Diagnostic Tests >> DTC P0450: EVAP Control System Pressure Sensor (EVAP-CSPS) >> Procedure
April 5, 2026: LEMON Manuals is launched! Read the announcement.

DTC P0450: EVAP Control System Pressure Sensor (EVAP-CSPS): Procedure

  1. Check EVAP-CSPS hose for blockage or poor connection. Repair as necessary and retest system. If hose is okay, turn ignition off. Loosen and retighten 2 engine ground bolts. See Figure. Disconnect EVAP-CSPS harness connector. See Figure. Inspect connector for water. If water exists, repair or replace connector and retest system. If water does not exist, turn ignition on. Measure voltage between engine ground and EVAP-CSPS harness connector terminal No. 3 (Brown/White wire). If voltage is about 5 volts, go to next step. If voltage is not about 5 volts, repair open or short between ECM and EVAP-CSPS. Retest system.
  2. Turn ignition off. Check continuity between engine ground and EVAP-CSPS harness connector terminal No. 1 (Black wire). Also, check circuit for short to voltage. See WIRING DIAGRAMS article. Repair circuit as necessary and retest system. If ground circuit is okay, go to next step.
  3. Disconnect ECM harness connector. See Figure. Check continuity between EVAP-CSPS harness connector terminal No. 2 (White wire) and ECM harness connector terminal No. 92 (Light Green wire). See Figure. Also, check circuit for short to ground and short to voltage. Repair circuit as necessary and retest system. If circuit is okay, go to next step.
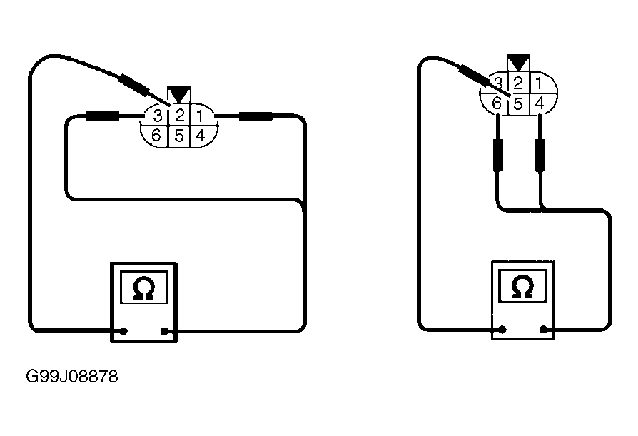
  4. Disconnect EVAP-CPVCV harness connector. See Figure. Measure resistance between the following EVAP-CPVCV terminals:
    • Terminals No. 2 and 1.
    • Terminals No. 2 and 3.
    • Terminals No. 5 and 4.
    • Terminals No. 5 and 6.

    See Figure. Resistance should be about 35-43 ohms at 77°F (25°C). If resistance is as specified, go to next step. If resistance is not as specified, replace EVAP-CPVCV and retest system.

  5. Reconnect EVAP-CPVCV harness connector. Remove EVAP-CPVCV from intake manifold. Disconnect and plug hoses. While observing EVAP-CPVCV shaft, turn ignition on and off. EVAP-CPVCV shaft should move smoothly forward and backward, according to ignition switch position. If operation is as specified, go to next step. If operation is not as specified, replace EVAP-CPVCV and retest system.
  6. Remove EVAP-CVCV. Using jumper wires, apply battery voltage between EVAP-CVCV terminals. See Figure. Check for airflow between ports "A" and "B". Air should not flow. Remove jumper wires. Air should flow. EVAP-CVCV should switch in one second or less. Replace EVAP-CVCV if it does not operate as specified, or if rust exists in port "B". If EVAP-CVCV is okay, go to next step.
  7. CAUTION: DO NOT apply more than 5.91 in. Hg of vacuum to EVAP-CSPS. DO NOT reuse any EVAP-CSPS that has been dropped from a height of 20" (.5 m) or more onto a hard surface such as concrete.
    CAUTION: DO NOT use ECM ground terminals when measuring voltage.
  8. Remove EVAP-CSPS from bracket. Reconnect EVAP-CSPS harness connector. Disconnect hose from EVAP-CSPS. Turn ignition on. Measure voltage between ground and ECM terminal No. 92 by backprobing. See Figure. With no vacuum applied, voltage should be 3.0-3.6 volts. While observing voltmeter, apply 2.76 in. Hg of vacuum to EVAP-CSPS with a hand vacuum pump. Voltage should be .4-.6 volt. Voltage should increase as pressure increases. See Figure. If operation is as specified, go to next step. If operation is not as specified, replace EVAP-CSPS and retest system.
  9. CAUTION: DO NOT disassemble water separator.
  10. Remove water separator and inspect hoses for blockage. See Figure. With water separator port "A" plugged, blow air into port "B". See Figure. Air should flow out of port "C". With port "C" plugged, blow air into port "B". Air should flow out of port "A". If operation is as specified, go to next step. If operation is not as specified, replace water separator and retest system.
  11. Remove EVAP canister with EVAP-CVCV attached. Attempt to drain water from EVAP canister. If water does not drain from EVAP canister, go to next step. If water drains from EVAP canister, weigh EVAP canister with EVAP-CVCV attached. If weight is less than 4.0 lbs. (1.8 kg), go to next step. If weight is more than 4.0 lbs. (1.8 kg), replace EVAP canister and check hoses for blockage or leak. Retest system.
  12. No problem is indicated at this time. Problem may be intermittent. See INTERMITTENTS in TROUBLE SHOOTING - NO CODES article.