LEMON Manuals: Even more car manuals for everyone: 1960-2025
Home >> Infiniti >> 2004 >> QX56 AWD >> Repair and Diagnosis >> External Pages >> Different car >> Section 10 (Body Control Modules) >> System Tests >> Test C: Scan Tool Does Not Communicate With Class 2 Device >> Testing
April 5, 2026: LEMON Manuals is launched! Read the announcement.

Test C: Scan Tool Does Not Communicate With Class 2 Device: Testing

WARNING: This page is about a different car, the 2002 Chevrolet Monte Carlo, 2002 Chevrolet Impala, 2001 Chevrolet Monte Carlo, and 2001 Chevrolet Impala. However, it is still accessible from the selected car via links, so may be relevant.
  1. Connect scan tool to Data Link Connector (DLC). If scan tool powers up, go to next step. If scan tool does not power up, go to TEST D: SCAN TOOL DOES NOT POWER UP  under SYSTEM TESTS.
  2. Turn ignition switch to RUN position. Attempt to communicate with Auxiliary Power Drop Connector, BCM, Drive Information center (DIC), Electronic Brake Control Module (EBCM), Instrument Panel Cluster (IPC), Powertrain Control Module (PCM), Radio, Remote CD player (if equipped with performance-enhanced audio), inflatable restraint Sensing and Diagnostic Module (SDM) and Vehicle Interface Unit (VIU), if equipped. If scan tool communicates with any module, go to next step. If scan tool does not communicate with any module, go to step  5.
  3. Using scan tool, select DISPLAY DTCs function for each module. Record each DTC and DTC status. Also record which module set DTCs. If any DTC between U1000-U1255 are present, go to next step. If no DTCs between U1000-U1255 are present, see DIAGNOSTIC AIDS .
  4. If DTC U1000 or U1255 are only DTCs displayed in step  3, go to appropriate DTC for testing. Repair as necessary. If DTC U1000 or U1255 are not displayed in step  3, check for DTC U1001-U1254. Repair as necessary.
  5. Turn ignition switch to OFF position. Disconnect scan tool from DLC. Inspect DLC connector terminals No. 2 (Purple wire) and 5 (Black/White wire) for poor terminal contact. See Figure. Repair as necessary and preform appropriate diagnostic system check for suspect system. See DIAGNOSTIC SYSTEM CHECK  table. If connection is okay, go to next step.
  6. Check for open or high resistance in Black/White wire between ground connector G203 and DLC terminal No. 5. See WIRING DIAGRAMS . Repair as necessary and preform appropriate diagnostic system check for suspect system. See DIAGNOSTIC SYSTEM CHECK  table. If wire is okay, go to next step.
  7. Disconnect splice pack SP205. See Figure. Check for poor terminal contact at splice pack SP205 connector. Repair as necessary and preform appropriate diagnostic system check for suspect system. See DIAGNOSTIC SYSTEM CHECK  table. If connection is okay, go to next step.
  8. Check for open or high resistance in Purple wire between DLC terminal No. 2 and splice pack SP205 terminal "A". See Figure and Fig 3 . See WIRING DIAGRAMS . Repair as necessary and preform appropriate diagnostic system check for suspect system. See DIAGNOSTIC SYSTEM CHECK  table. If wire is okay, go to next step.
  9. Connect a fused jumper wire between splice pack SP205 harness connector terminals "A" (Purple wire) and terminal "M" (Light Green wire). Turn ignition switch to RUN position. Using scan tool, attempt communication with BCM. If scan tool does not communicate with BCM, go to next step. If scan tool communicates with BCM, go to step  11.
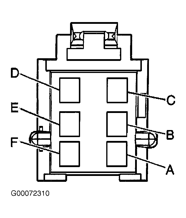
  10. Disconnect fused jumper wire. Turn ignition switch to OFF position. Disconnect BCM Pink, 24-pin connector C1. See Figure. Check for short or open in Light Green wire between splice pack SP205 harness connector terminal "M" and BCM Pink, 24-pin harness connector C1 terminal A5. See Fig 3. See appropriate wiring diagram in DATA LINK CONNECTORS article in WIRING DIAGRAMS. Repair as necessary and go to step  29. If wire is okay, go to step  27.
  11. With first fused jumper wire still connected, connected a second jumper wire between splice pack SP205 harness connector terminals "A" (Purple wire) and terminal "B" (Dark Green wire). Turn ignition switch to RUN position. Using scan tool, attempt communication with Powertrain Control Module (PCM). If scan tool does not communicate with BCM, go to next step. If scan tool communicates with PCM, go to step  13.
  12. Turn ignition switch to OFF position. Disconnect PCM Blue, 80-pin connector C1. See Fig 4. Check for short to ground or power in Dark Green wire between splice pack SP205 harness connector terminal "B" and PCM Blue, 80-pin harness connector C1 terminal No. 59. See Fig 4. See appropriate wiring diagram in DATA LINK CONNECTORS article in WIRING DIAGRAMS. Repair as necessary and go to  29. If wire is okay, go to step  27.
  13. Disconnect one end of fused jumper wire from splice pack SP205 harness connector terminal "B" (Dark Green wire) and connect that end of fused jumper wire to splice pack SP205 harness connector terminal "C" (Purple wire). See Fig 3. Turn ignition switch to RUN position. Using scan tool, attempt communication with auxiliary power drop connector and Vehicle Interface Unit (VID), is equipped. If scan tool does not communicate with auxiliary power drop connector or VID, go to next step. If scan tool communicates with auxiliary power drop connector and VID, go to step  15.
  14. Turn ignition switch to OFF position. Disconnect auxiliary power drop connector and VID Red, 32-pin connector C1. See Fig 1. Check for short to ground or power in Purple wire between splice pack SP205 harness connector terminal "C" and auxiliary power drop connector harness connector terminal "D" or VID Red, 32-pin harness connector C1 terminal A2. See Fig 2. See appropriate wiring diagram in DATA LINK CONNECTORS article in WIRING DIAGRAMS. Repair as necessary and go to step  29. If wire is okay, go to step  27.
  15. Disconnect one end of fused jumper wire from splice pack SP205 harness connector terminal "C" (Purple wire) and connect that end of fused jumper wire to splice pack SP205 harness connector terminal "D" (Orange wire). See Fig 3. Turn ignition switch to RUN position. Using scan tool, attempt communication with radio. If scan tool does not communicate with radio, go to next step. If scan tool communicates with radio, go to step  17.
  16. Turn ignition switch to OFF position. Disconnect radio Gray, 24-pin connector C1. Check for short to ground or power in Orange wire between splice pack SP205 harness connector terminal "D" and radio Gray, 24-pin harness connector C1 terminal A1. See Fig 3. See appropriate wiring diagram in DATA LINK CONNECTORS article in WIRING DIAGRAMS. Repair as necessary and go to step  29. If wire is okay, go to step  27.
  17. Disconnect one end of fused jumper wire from splice pack SP205 harness connector terminal "D" (Orange wire) and connect that end of fused jumper wire to splice pack SP205 harness connector terminal "E" (Light Blue wire). See Fig 3. Turn ignition switch to RUN position. Using scan tool, attempt communication with Electronic Brake Traction Control Module (EBCM). If scan tool does not communicate with EBCM, go to next step. If scan tool communicates with EBCM, go to step  19.
  18. Turn ignition switch to OFF position. Disconnect EBCM connector. Check for short to ground or power in Light Blue wire between splice pack SP205 harness connector terminal "E" and EBCM harness connector terminal B7. See Fig 3. See appropriate wiring diagram in DATA LINK CONNECTORS article in WIRING DIAGRAMS. Repair as necessary and go to step  29. If wire is okay, go to step  27.
  19. Disconnect one end of fused jumper wire from splice pack SP205 harness connector terminal "E" (Light Blue wire) and connect that end of fused jumper wire to splice pack SP205 harness connector terminal "F" (Dark Blue wire). Turn ignition switch to RUN position. Using scan tool, attempt communication with inflatable restraint Sensing and Diagnostic Module (SDM). If scan tool does not communicate with SDM, go to next step. If scan tool communicates with SDM, go to step  21.
  20. Turn ignition switch to OFF position. Disconnect SDM connector. Check for short to ground or power in Dark Blue wire between splice pack SP205 harness connector terminal "F" and SDM harness connector terminal A5. See Fig 3. See appropriate wiring diagram in DATA LINK CONNECTORS article in WIRING DIAGRAMS. Repair as necessary and go to step  29. If wire is okay, go to step  27.
  21. Disconnect one end of fused jumper wire from splice pack SP205 harness connector terminal "F" (Dark Blue wire) and connect that end of fused jumper wire to splice pack SP205 harness connector terminal "G" (Gray wire). Turn ignition switch to RUN position. Using scan tool, attempt communication with Instrument Panel Cluster (IPC). If scan tool does not communicate with IPC, go to next step. If scan tool communicates with IPC, go to step  21.
  22. Turn ignition switch to OFF position. Disconnect IPC connector. Check for short to ground or power in Gray wire between splice pack SP205 harness connector terminal "G" and IPC harness connector terminal A7. See Fig 3. See appropriate wiring diagram in DATA LINK CONNECTORS article in WIRING DIAGRAMS. Repair as necessary and go to step  29. If wire is okay, go to step  27.
  23. If not equipped with remote CD player (if equipped with performance-enhanced audio), go to  25. If equipped with remote CD player (if equipped with performance-enhanced audio), disconnect one end of fused jumper wire from splice pack SP205 harness connector terminal "G" (Gray wire) and connect that end of fused jumper wire to splice pack SP205 harness connector terminal "H" (Gray wire). See Fig 3. Turn ignition switch to RUN position. Using scan tool, attempt communication with remote CD player (if equipped with performance-enhanced audio). If scan tool communicates with remote CD player (if equipped with performance-enhanced audio), go to step  25. If scan tool does not communicate with remote CD player (if equipped with performance-enhanced audio), go to next step.
  24. Turn ignition switch to OFF position. Disconnect remote CD player (if equipped with performance-enhanced audio) connector. Check for short to ground or power in Gray wire between splice pack SP205 harness connector terminal "H" and remote CD player (if equipped with performance-enhanced audio) harness connector terminal No. 10. See Fig 3. See appropriate wiring diagram in DATA LINK CONNECTORS article in WIRING DIAGRAMS. Repair as necessary and go to step  29. If circuit is okay, go to step  27.
  25. If equipped with remote CD player (if equipped with performance-enhanced audio), disconnect jumper wire from splice pack SP205 connector terminal "H" (Gray wire) and connect that end of fused jumper wire to splice pack SP205 harness connector terminal "K" (Yellow wire). If not equipped with remote CD player (if equipped with performance-enhanced audio), disconnect jumper wire from splice pack SP205 connector terminal "G" (Gray wire) and connect that end of fused jumper wire to splice pack SP205 harness connector terminal "K" (Yellow wire). Turn ignition switch to RUN position. Using scan tool, attempt to communicate with Driver Information Center (DIC). If scan tool communicates with DIC, go to step  29. If scan tool does not communicate with DIC, go to next step.
  26. Turn ignition switch to OFF position. Disconnect DIC connector. Check for short to ground or power in Yellow wire between splice pack SP205 harness connector terminal "K" and DIC harness connector terminal No. 15. See Fig 3. See appropriate wiring diagram in DATA LINK CONNECTORS article in WIRING DIAGRAMS. Repair as necessary and go to step  29. If circuit is okay, go to step  27.
  27. Check for poor terminal contact at suspect module. Repair as necessary and go to step  29. See WIRING DIAGRAMS . If connection is okay, go to next step.
  28. Replace suspect module and go to next step.
  29. NOTE: Scan tool may require a power up reset before communication will occur due to a short in class 2 serial data circuit. Ensure scan tool is off or is disconnected before performing test.
  30. Reconnect all disconnected connectors. Connect scan tool to Data Link Connector (DLC). Turn ignition switch to RUN position. Wait 10 seconds. Select DISPLAY DTCs function for each module. Record any communication DTCs (DTCs beginning with a "U"). If no communication DTCs are present, go to next step. If any communication DTCs are present, and they have current status, go to step  31.
  31. If any non communication DTCs (do not begin with a "U") were recorded, go to next step. If no non communication DTCs (do not begin with a "U") were recorded, go to step  33.
  32. If any DTCs are present, go to appropriate system starting point for related system. Repair appropriate system as necessary and go to next step.
  33. If no DTCs are present, go to next step. If any DTCs are present, go to step  31.
  34. Using scan tool, clear DTCs. Operate vehicle within conditions for running DTC. If DTC does not reset, test is complete.
Fig 1: Identifying Auxiliary Power Drop Connector Location
G00056825Courtesy of GENERAL MOTORS CORP.
Fig 2: Identifying Auxiliary Power Drop Connector Terminals
G00072310Courtesy of GENERAL MOTORS CORP.
Fig 3: Identifying Splice Pack SP205 Connector Terminals
G00009280Courtesy of GENERAL MOTORS CORP.
Fig 4: Identifying PCM 80-Pin Harness Connector C1
G00009284Courtesy of GENERAL MOTORS CORP.
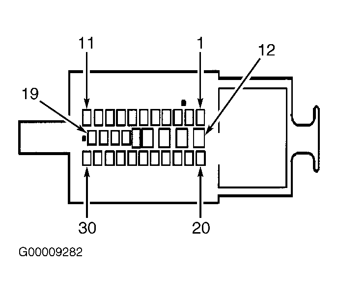
Fig 5: Identifying EBCM Harness Connector Terminals
G00009282Courtesy of GENERAL MOTORS CORP.
Fig 6: Identifying SDM Harness Connector Terminals
G00009281Courtesy of GENERAL MOTORS CORP.
Fig 7: Identifying Driver Information Center (DIC) Harness Connector
G00009285Courtesy of GENERAL MOTORS CORP.