LEMON Manuals: Even more car manuals for everyone: 1960-2025
Home >> Infiniti >> 2005 >> FX45 >> Repair and Diagnosis (Single Page) >> Engine Performance >> Engine Control System - VK45DE >> Basic Service Procedure >> Idle Speed and Ignition Timing Check >> Ignition Timing >> Method A
April 5, 2026: LEMON Manuals is launched! Read the announcement.

Method A

  1. Attach timing light to loop wire as shown.
    Fig 1: Attaching Timing Light To Loop Wire
    G02361284Courtesy of NISSAN MOTOR CO., U.S.A.
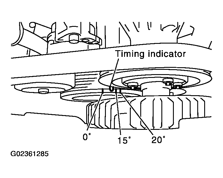
  2. Check ignition timing.
    Fig 2: Checking Ignition Timing
    G02361285Courtesy of NISSAN MOTOR CO., U.S.A.