LEMON Manuals: Even more car manuals for everyone: 1960-2025
Home >> Infiniti >> 2005 >> FX45 >> Repair and Diagnosis >> Engine Performance >> Engine Control System - VK45DE >> Basic Service Procedure >> Idle Mixture Ratio Adjustment >> Detailed Procedure
April 5, 2026: LEMON Manuals is launched! Read the announcement.

Detailed Procedure

  1. INSPECTION START 
    1. Check service records for any recent repairs that may indicate a related malfunction, or a current need for scheduled maintenance.
    2. Open engine hood and check the following:
      • Harness connectors for improper connections
      • Wiring harness for improper connections, pinches and cut
      • Vacuum hoses for splits, kinks and improper connections
      • Hoses and ducts for leaks
      • Air cleaner clogging
      • Gasket
      Fig 1: Checking Harness Connectors And Hoses
      G02361291Courtesy of NISSAN MOTOR CO., U.S.A.
    3. Confirm that electrical or mechanical loads are not applied.
      • Headlamp switch is OFF.
      • Air conditioner switch is OFF.
      • Rear window defogger switch is OFF.
      • Steering wheel is in the straight-ahead position, etc.
    4. Start engine and warm it up until engine coolant temperature indicator points the middle of gauge.

      Ensure engine stays below 1,000 RPM.

      Fig 2: Checking Engine Coolant Temperature Indicator Points
      G02361292Courtesy of NISSAN MOTOR CO., U.S.A.
    5. Run engine at about 2,000 RPM for about 2 minutes under no load.
    6. Make sure that no DTC is displayed with CONSULT-II or GST.

    OK or NG

    1. OK: GO TO  3 .
    2. NG: GO TO 2.
    Fig 3: Identifying Run Engine At About 2,000 RPM For About 2 Minutes
    G02361293Courtesy of NISSAN MOTOR CO., U.S.A.
  2. REPAIR OR REPLACE 

    Repair or replace components as necessary according to corresponding Diagnostic Procedure.

    1. : GO TO 3.
  3. CHECK TARGET IDLE SPEED 

    With CONSULT-II 

    1. Run engine at about 2,000 RPM for about 2 minutes under no load.
    2. Rev engine (2,000 to 3,000 RPM) two or three times under no load, then run engine at idle speed for about 1 minute.
      Fig 4: Checking Target Idle Speed
      G02361294Courtesy of NISSAN MOTOR CO., U.S.A.
    3. Read idle speed in "DATA MONITOR" mode with CONSULT-II. Refer to IDLE SPEED  .
      1. 650 +/- 50 RPM (in P or N position) 
      Fig 5: Identifying CONSULT-II Display Screen Data Monitor
      G02361295Courtesy of NISSAN MOTOR CO., U.S.A.

    Without CONSULT-II 

    1. Run engine at about 2,000 RPM for about 2 minutes under no load.
    2. Rev engine (2,000 to 3,000 RPM) two or three times under no load, then run engine at idle speed for about 1 minute.
    3. Check idle speed. Refer to IDLE SPEED  .
      1. 650 +/- 50 RPM (in P or N position) 

    OK or NG

    1. OK: GO TO  10 .
    2. NG: GO TO 4.
  4. PERFORM ACCELERATOR PEDAL RELEASED POSITION LEARNING 
    1. Stop engine.
    2. Perform "ACCELERATOR PEDAL RELEASED POSITION LEARNING  ".
      1. : GO TO 5.
  5. PERFORM THROTTLE VALVE CLOSED POSITION LEARNING 

    Perform "THROTTLE VALVE CLOSED POSITION LEARNING  ".

    1. : GO TO 6.
  6. PERFORM IDLE AIR VOLUME LEARNING 

    Perform "IDLE AIR VOLUME LEARNING  ".

    Is Idle Air Volume Learning carried out successfully? 

    Yes or No

    1. Yes: GO TO 7.
    2. No:
      1. Follow the instruction of Idle Air Volume Learning.
      2. GO TO  4 .
  7. CHECK TARGET IDLE SPEED AGAIN 

    With CONSULT-II 

    1. Start engine and warm it up to normal operating temperature.
    2. Read idle speed in "DATA MONITOR" mode with CONSULT-II. Refer to IDLE SPEED  .
      1. 650 +/- 50 RPM (in P or N position) 

    Without CONSULT-II 

    1. Start engine and warm it up to normal operating temperature.
    2. Check idle speed. Refer to IDLE SPEED  .
      1. 650 +/- 50 RPM (in P or N position) 

    OK or NG

    1. OK: GO TO  10 .
    2. NG: GO TO 8.
    Fig 6: Identifying CONSULT-II Display Screen Data Monitor
    G02361296Courtesy of NISSAN MOTOR CO., U.S.A.
  8. DETECT MALFUNCTIONING PART 

    Check the Following.

    OK or NG

    1. OK: GO TO 9.
    2. NG:
      1. Repair or replace.
      2. GO TO  4 .
  9. CHECK ECM FUNCTION 
    1. Substitute another known-good ECM to check ECM function. (ECM may be the cause of an incident, but this is a rare case.)
    2. Perform initialization of IVIS (NATS) system and registration of all IVIS (NATS) ignition key IDs. Refer to "ECM RE-COMMUNICATING FUNCTION ".
      1. : GO TO  4 .
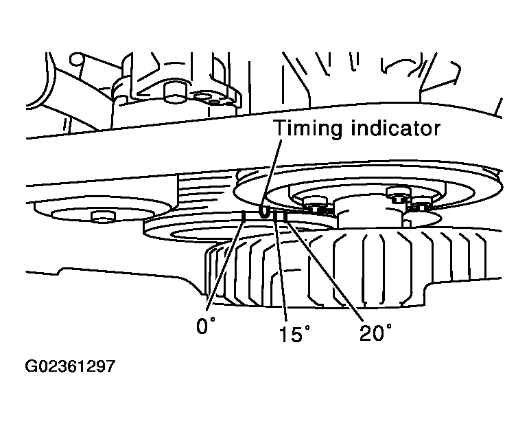
  10. CHECK IGNITION TIMING 
    1. Run engine at idle.
    2. Check ignition timing with a timing light. Refer to IDLE SPEED AND IGNITION TIMING CHECK  .
      1. 12 +/- 5° BTDC (in P or N position) 

    OK or NG

    1. OK (With CONSULT-II): GO TO  19 .
    2. OK (Without CONSULT-II): GO TO  20 .
    3. NG: GO TO 11.
    Fig 7: Checking Ignition Timing
    G02361297Courtesy of NISSAN MOTOR CO., U.S.A.
  11. PERFORM ACCELERATOR PEDAL RELEASED POSITION LEARNING 
    1. Stop engine.
    2. Perform "ACCELERATOR PEDAL RELEASED POSITION LEARNING  ".
      1. : GO TO 12.
  12. PERFORM THROTTLE VALVE CLOSED POSITION LEARNING 

    Perform "THROTTLE VALVE CLOSED POSITION LEARNING  ".

    1. : GO TO 13.
  13. PERFORM IDLE AIR VOLUME LEARNING 

    Perform "IDLE AIR VOLUME LEARNING  ".

    Is Idle Air Volume Learning carried out successfully? 

    Yes or No

    1. Yes: GO TO 14.
    2. No:
      1. Follow the instruction of Idle Air Volume Learning.
      2. GO TO 4.
  14. CHECK TARGET IDLE SPEED AGAIN 

    With CONSULT-II 

    1. Start engine and warm it up to normal operating temperature.
    2. Read idle speed in "DATA MONITOR" mode with CONSULT-II. Refer to IDLE SPEED  .
      1. 650 +/- 50 RPM (in P or N position) 

    Without CONSULT-II 

    1. Start engine and warm it up to normal operating temperature.
    2. Check idle speed. Refer to IDLE SPEED  .
      1. 650 +/- 50 RPM (in P or N position) 

    OK or NG

    1. OK: GO TO 15.
    2. NG: GO TO  17 .
    Fig 8: Identifying CONSULT-II Display Screen Data Monitor
    G02361298Courtesy of NISSAN MOTOR CO., U.S.A.
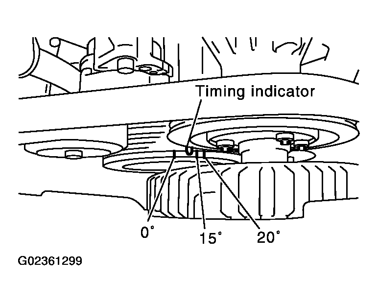
  15. CHECK IGNITION TIMING AGAIN 
    1. Run engine at idle.
    2. Check ignition timing with a timing light. Refer to IDLE SPEED AND IGNITION TIMING CHECK  .
      1. 12 +/- 5° BTDC (in P or N position) 

    OK or NG

    1. OK (With CONSULT-II): GO TO  19 .
    2. OK (Without CONSULT-II): GO TO  20 .
    3. NG: GO TO 16.
    Fig 9: Checking Ignition Timing
    G02361299Courtesy of NISSAN MOTOR CO., U.S.A.
  16. CHECK TIMING CHAIN INSTALLATION 

    Check timing chain installation. Refer to "TIMING CHAIN ".

    OK or NG

    1. OK: GO TO 17.
    2. NG:
      1. Repair the timing chain installation.
      2. GO TO  4 .
  17. DETECT MALFUNCTIONING PART 

    Check the following.

    OK or NG

    1. OK: GO TO 18.
    2. NG:
      1. Repair or replace.
      2. GO TO  4 .
  18. CHECK ECM FUNCTION 
    1. Substitute another known-good ECM to check ECM function. (ECM may be the cause of an incident, but this is a rare case.)
    2. Perform initialization of IVIS (NATS) system and registration of all IVIS (NATS) ignition key IDs. Refer to "ECM RE-COMMUNICATING FUNCTION ".
      1. : GO TO  4 .
  19. CHECK HEATED OXYGEN SENSOR 1 (BANK 1) SIGNAL 

    With CONSULT-II 

    1. Run engine at about 2,000 RPM for about 2 minutes under no load.
    2. See "HO2S1 MNTR (B1) " in "DATA MONITOR" mode.
    3. Running engine at 2,000 RPM under no load (The engine is warmed up to normal operating temperature.), check that the monitor fluctuates between LEAN and RICH more than 5 times during 10 seconds.
      1. 1 time: RICH --> LEAN --> RICH 
      2. 2 times: RICH --> LEAN --> RICH --> LEAN --> RICH 

    OK or NG

    1. OK: GO TO  21 .
    2. NG (Monitor does not fluctuate.): GO TO  23 .
    3. NG (Monitor fluctuates less than 5 times.): GO TO  31 .
    Fig 10: Identifying CONSULT-II Display Screen Data Monitor (1 Of 2)
    G02361300Courtesy of NISSAN MOTOR CO., U.S.A.
  20. CHECK HEATED OXYGEN SENSOR 1 (BANK 1) SIGNAL 

    Without CONSULT-II 

    1. Stop engine and set ECM to Self Diagnostic Test Mode II (Heated oxygen sensor 1 monitor). Refer to "HOW TO SWITCH DIAGNOSTIC TEST MODE  ".
    2. Start engine and run it at about 2,000 RPM for about 2 minutes under no load.
    3. Running engine at 2,000 RPM under no load (The engine is warmed up to normal operating temperature.), check that the MIL comes on more than 5 times during 10 seconds.

    OK or NG

    1. OK: GO TO  22 .
    2. NG (MIL does not come on): GO TO  23 .
    3. NG (MIL comes on less than 5 times): GO TO  31 .
  21. CHECK HEATED OXYGEN SENSOR 1 (BANK 2) SIGNAL 

    With CONSULT-II 

    1. See " " in "DATA MONITOR" mode.
    2. Running engine at 2,000 RPM under no load (The engine is warmed up to normal operating temperature.), check that the monitor fluctuates between LEAN and RICH more than 5 times during 10 seconds.
      1. 1 time: RICH --> LEAN --> RICH 
      2. 2 times: RICH --> LEAN --> RICH --> LEAN --> RICH 

    OK or NG

    1. OK: INSPECTION END 
    2. NG (Monitor does not fluctuate.): GO TO  24 .
    3. NG (Monitor fluctuates less than 5 times.): GO TO  31 .
    Fig 11: Identifying CONSULT-II Display Screen Data Monitor (2 Of 2)
    G02361301Courtesy of NISSAN MOTOR CO., U.S.A.
  22. CHECK HEATED OXYGEN SENSOR 1 (BANK 2) SIGNAL 

    Without CONSULT-II 

    1. Switch the monitored sensor from bank 1 to bank 2. Refer to "HOW TO SWITCH MONITORED SENSOR FROM BANK 1 TO BANK 2 OR VICE VERSA  ".
    2. Running engine at 2,000 RPM under no load (The engine is warmed up to normal operating temperature.), check that the MIL comes on more than 5 times during 10 seconds.

    OK or NG

    1. OK: INSPECTION END 
    2. NG (MIL does not come on): GO TO  24 .
    3. NG (MIL comes on less than 5 times): GO TO  31 .
  23. CHECK HEATED OXYGEN SENSOR 1 (BANK 1) HARNESS 
    1. Turn ignition switch OFF and disconnect battery ground cable.
    2. Disconnect ECM harness connector.
    3. Disconnect he oxygen sensor 1 (bank 1) harness connector.
    4. Check harness continuity between ECM terminal 16 and heated oxygen sensor 1 (bank 1) terminal 1. Refer to BANK 1  , "BANK 1  ".
      1. Continuity should exist. 
    5. Also check harness for short to ground and short to power.

    OK or NG

    1. OK: GO TO  25 .
    2. NG:
      1. Repair or replace harness between ECM and heated oxygen sensor 1 (bank 1).
      2. GO TO  4 .
  24. CHECK HEATED OXYGEN SENSOR 1 (BANK 2) HARNESS 
    1. Turn ignition switch OFF and disconnect battery ground cable.
    2. Disconnect ECM harness connector.
    3. Disconnect heated oxygen sensor 1 (bank 2) harness connector.
    4. Check harness continuity between ECM terminal 35 and heated oxygen sensor 1 (bank 2) terminal 1. Refer to BANK 2  , "BANK 2  ".
      1. Continuity should exist. 
    5. Also check harness for short to ground and short to power.

    OK or NG

    1. OK: GO TO 25.
    2. NG:
      1. Repair or replace harness between ECM and heated oxygen sensor 1 (bank 2).
      2. GO TO  4 .
  25. PERFORM ACCELERATOR PEDAL RELEASED POSITION LEARNING 
    1. Reconnect ECM harness connector and heated oxygen sensor 1 harness connector.
    2. Perform "ACCELERATOR PEDAL RELEASED POSITION LEARNING  ".
      1. : GO TO 26.
  26. PERFORM THROTTLE VALVE CLOSED POSITION LEARNING 

    Perform "THROTTLE VALVE CLOSED POSITION LEARNING  ".

    1. : GO TO 27.
  27. PERFORM IDLE AIR VOLUME LEARNING 

    Refer to "IDLE AIR VOLUME LEARNING  ".

    Is Idle Air Volume Learning carried out successfully? 

    Yes or No

    1. Yes (With CONSULT-II): GO TO 28.
    2. Yes (Without CONSULT-II): GO TO  29 .
    3. No:
      1. Follow the instruction of Idle Air Volume Learning.
      2. GO TO  4 .
  28. CHECK CO% 

    With CONSULT-II 

    1. Start engine and warm it up until engine coolant temperature indicator points the middle of gauge.
    2. Turn ignition switch OFF, wait at least 10 seconds and then turn ON.
    3. Select "ENG COOLANT TEMP" in "ACTIVE TEST" mode.
    4. Set "ENG COOLANT TEMP" to 5°C (41 °F) by touching "DOWN" and "Qd".
    5. Start engine and rev it (2,000 to 3,000 RPM) two or three times under no load, then run engine at idle speed.
    6. Check CO%.
      1. Idle CO: 0.7 - 9.9% and engine runs smoothly. 

    OK or NG

    1. OK: GO TO  31 .
    2. NG: GO TO  30 .
    Fig 12: Identifying CONSULT-II Display Screen Active Test
    G02361302Courtesy of NISSAN MOTOR CO., U.S.A.
  29. CHECK CO% 

    Without CONSULT-II 

    1. Start engine and warm it up until engine coolant temperature indicator points to the middle of gauge.
    2. Turn ignition switch OFF.
    3. Disconnect engine coolant temperature sensor harness connector.
    4. Connect a resistor (4.4 kohm) between terminals of engine coolant temperature sensor harness connector.
    5. Start engine and rev it (2,000 to 3,000 RPM) two or three times under no load, then run engine at idle speed.
    6. Check CO%.
      1. Idle CO: 0.7 - 9.9% and engine runs smoothly. 
    7. After checking CO%, turn ignition switch OFF, disconnect the resistor from the terminals of engine coolant temperature sensor harness connector, and then connect engine coolant temperature sensor harness connector to engine coolant temperature sensor.
      Fig 13: Connecting Resistor Between Terminals Of Engine Coolant Temperature Sensor Harness Connector
      G02361303Courtesy of NISSAN MOTOR CO., U.S.A.

    OK or NG

    1. OK: GO TO  31 .
    2. NG: GO TO 30.
  30. RECONNECT HEATED OXYGEN SENSOR 1 HARNESS CONNECTOR 
    1. Turn ignition switch OFF.
    2. Reconnect heated oxygen sensor 1 harness connector.
      1. : GO TO  34 .
  31. REPLACE HEATED OXYGEN SENSOR 1 
    1. Stop engine.
    2. Replace heated oxygen sensor 1 on the malfunctioning bank.

    With CONSULT-II: GO TO 32.

    Without CONSULT-II: GO TO  33 .

  32. CHECK HEATED OXYGEN SENSOR 1 (BANK 1) / (BANK 2) SIGNAL 

    With CONSULT-II 

    1. Start engine and warm it up until engine coolant temperature indicator points the middle of gauge.
    2. See " " in "DATA MONITOR" mode.
    3. Running engine at 2,000 RPM under no load (The engine is warmed up to normal operating temperature.), check that the monitor fluctuates between LEAN and RICH more than 5 times during 10 seconds.
      1. 1 time: RICH --> LEAN --> RICH 
      2. 2 times: RICH --> LEAN --> RICH --> LEAN --> RICH 

    OK or NG

    1. OK: GO TO  4 .
    2. NG: GO TO  34 .
    Fig 14: Identifying CONSULT-II Display Screen Data Monitor
    G02361304Courtesy of NISSAN MOTOR CO., U.S.A.
  33. CHECK HEATED OXYGEN SENSOR 1 (BANK 1) / (BANK 2) SIGNAL 

    Without CONSULT-II 

    1. Set ECM to Self Diagnostic Test Mode II (Heated oxygen sensor 1 monitor). Refer to "HOW TO SWITCH DIAGNOSTIC TEST MODE  ".
    2. Switch the monitored sensor to the malfunctioning bank. Refer to "HOW TO SWITCH MONITORED SENSOR FROM BANK 1 TO BANK 2 OR VICE VERSA  ".
    3. Running engine at 2,000 RPM under no load (The engine is warmed up to normal operating temperature.), check that the MIL comes on more than 5 times during 10 seconds.

    OK or NG

    1. OK: GO TO  4 .
    2. NG: GO TO 34.
  34. DETECT MALFUNCTIONING PART 

    Check the following.

    OK or NG

    1. OK: GO TO  36 .
    2. NG:
      1. Repair or replace.
      2. GO TO 35.
  35. ERASE UNNECESSARY DTC 

    After this inspection, unnecessary DTC might be displayed.

    Erase the stored memory in ECM and TCM. Refer to "HOW TO ERASE EMISSION-RELATED DIAGNOSTIC INFORMATION  " and "HOW TO ERASE DTC ".

    1. : GO TO  4 .
  36. CHECK ECM FUNCTION 
    1. Substitute another known-good ECM to check ECM function. (ECM may be the cause of an incident, but this is a rare case.)
    2. Perform initialization of IVIS (NATS) system and registration of all IVIS (NATS) ignition key IDs. Refer to "ECM RE-COMMUNICATING FUNCTION ".
      1. : GO TO  4 .