LEMON Manuals: Even more car manuals for everyone: 1960-2025
Home >> Infiniti >> 2005 >> G35 x >> Repair and Diagnosis (Single Page) >> Transmission >> Automatic Transmission - Sedan >> Shift Control System >> Control Rod Removal and Installation >> Control Rod Components (AWD Models)
April 5, 2026: LEMON Manuals is launched! Read the announcement.

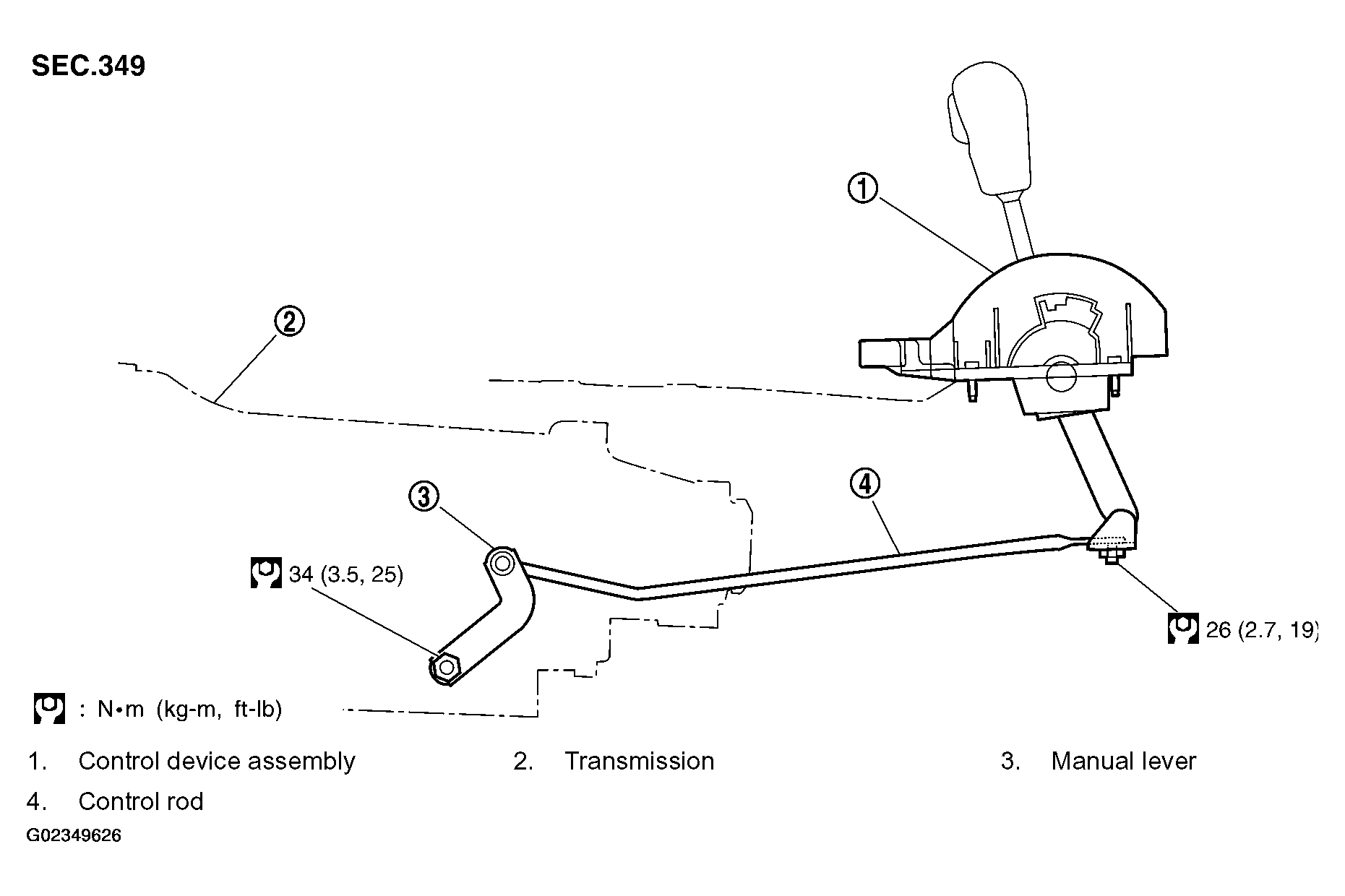
Control Rod Components (AWD Models)

Fig 1: Locating Control Rod Components (AWD Models)
G02349626Courtesy of NISSAN MOTOR CO., U.S.A.