LEMON Manuals: Even more car manuals for everyone: 1960-2025
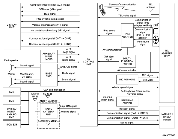
Home >> Infiniti >> 2008 >> EX35 Base, RWD >> Repair and Diagnosis (Single Page) >> Accessories & Equipment >> Entertainment Systems >> Audio, Visual & Navigation System - BOSE Audio Without Navigation >> BOSE Audio Without Navigation >> Function Diagnosis >> Multi Av System >> System Diagram >> Without Rear View Monitor
April 5, 2026: LEMON Manuals is launched! Read the announcement.

Without Rear View Monitor

Fig 1: Identifying Multi AV System Diagram (Without Rear View Monitor)
G05731714Courtesy of NISSAN MOTOR CO., U.S.A.
NOTE:
  • The name MULTIFUNCTION SWITCH indicates the integration of PRESET SWITCH and MULTIFUNCTION SWITCH virtually.
  • A radio antenna base integrated with radio antenna and satellite radio antenna is adopted.
    Fig 2: Identifying Radio & Satellite Radio Antenna - Communication Diagram
    G05731715Courtesy of NISSAN MOTOR CO., U.S.A.