LEMON Manuals: Even more car manuals for everyone: 1960-2025
Home >> Infiniti >> 2008 >> EX35 Base, RWD >> Repair and Diagnosis (Single Page) >> Accessories & Equipment >> Infotainment >> Audio, Visual & Navigation System - BOSE Audio With Navigation - Basic Inspection And Function Diagnosis >> BOSE Audio With Navigation >> Function Diagnosis >> Multi Av System >> System Diagram >> With Rear View Monitor
April 5, 2026: LEMON Manuals is launched! Read the announcement.

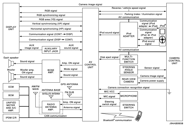
With Rear View Monitor

Fig 1: Identifying Multi AV System - System Diagram (With Rear View Monitor)
G05732028Courtesy of NISSAN MOTOR CO., U.S.A.
NOTE:
  • The name MULTIFUNCTION SWITCH indicates the integration of PRESET SWITCH and MULTIFUNCTION SWITCH virtually.
  • A radio antenna base integrated with radio antenna and satellite radio antenna is adopted.
    Fig 2: Identifying Integrated With Radio Antenna & Satellite Radio Antenna Signal
    G05732029Courtesy of NISSAN MOTOR CO., U.S.A.