LEMON Manuals: Even more car manuals for everyone: 1960-2025
Home >> Infiniti >> 2008 >> EX35 Base, RWD >> Repair and Diagnosis (Single Page) >> Body & Frame >> Seats >> Automatic Drive Positioner >> Function Diagnosis >> Automatic Drive Positioner System >> Memory Function >> MEMORY FUNCTION : System Diagram
April 5, 2026: LEMON Manuals is launched! Read the announcement.

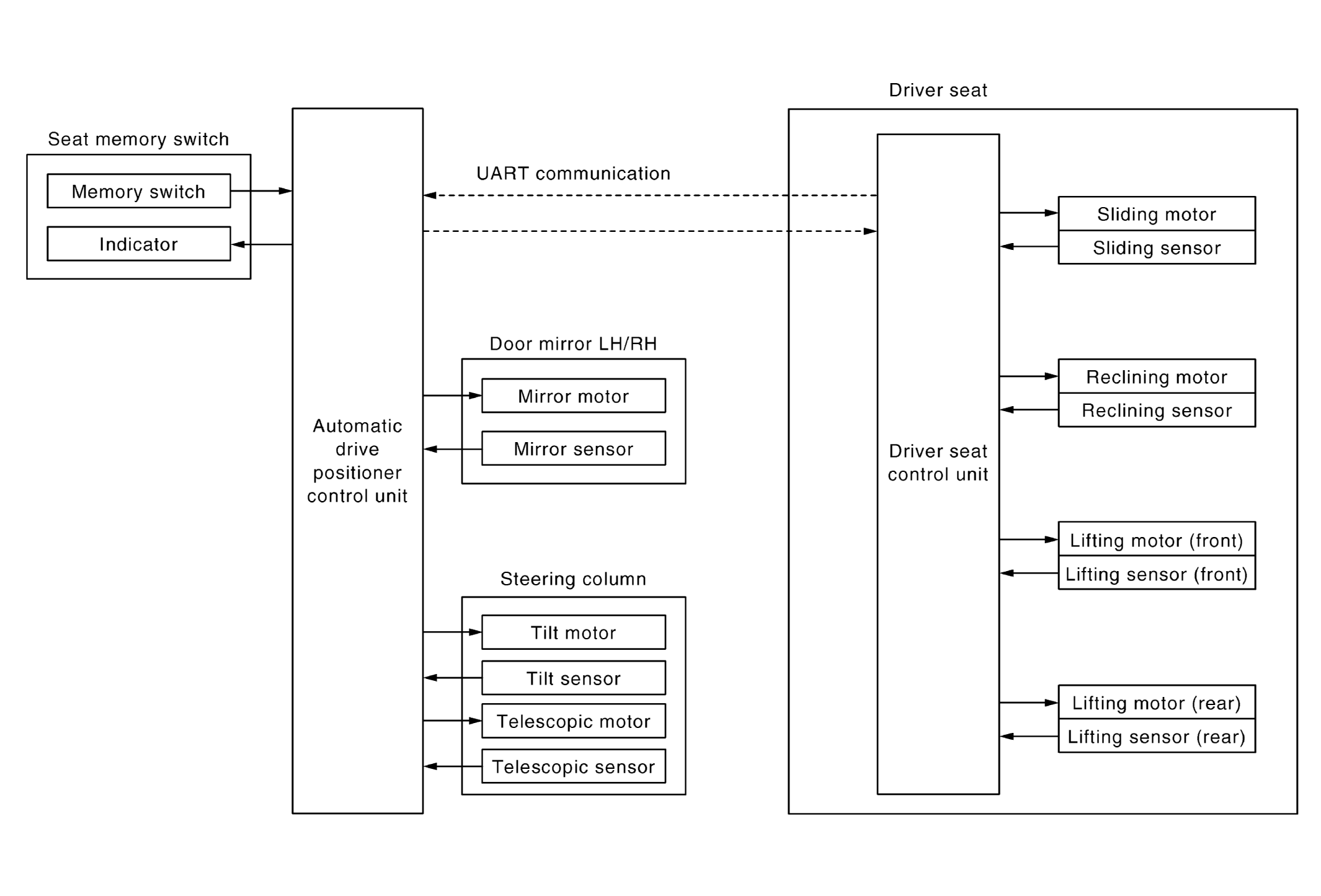
MEMORY FUNCTION : System Diagram

Fig 1: Memory Function - System Diagram
G05226262Courtesy of NISSAN MOTOR CO., U.S.A.