LEMON Manuals: Even more car manuals for everyone: 1960-2025
Home >> Infiniti >> 2008 >> EX35 Base, RWD >> Repair and Diagnosis >> Accessories & Equipment >> Infotainment >> Audio, Visual & Navigation System - BOSE Audio Without Navigation >> BOSE Audio Without Navigation >> Function Diagnosis >> Audio System >> System Diagram
April 5, 2026: LEMON Manuals is launched! Read the announcement.

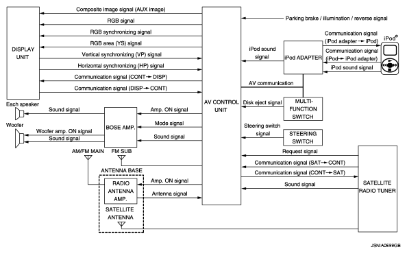
System Diagram

Fig 1: Identifying Audio System Diagram
G05731720Courtesy of NISSAN MOTOR CO., U.S.A.
NOTE: A radio antenna base integrated with radio antenna and satellite radio antenna is adopted.
Fig 2: Identifying Radio & Satellite Radio Antenna - Communication Diagram
G05731721Courtesy of NISSAN MOTOR CO., U.S.A.