LEMON Manuals: Even more car manuals for everyone: 1960-2025
Home >> Infiniti >> 2008 >> FX45 >> Repair and Diagnosis >> Electrical >> Gauges >> Driver Information System >> Combination Meters >> Electrical Components Inspection >> Fuel Level Sensor Unit >> Fuel Level Sensor Unit (Sub)
April 5, 2026: LEMON Manuals is launched! Read the announcement.

Fuel Level Sensor Unit (Sub)

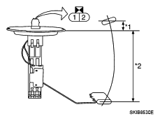
Check resistance between terminals 1 and 2.

Fig 1: Identifying Fuel Level Sensor Unit (Sub) Resistance
G05222313Courtesy of NISSAN MOTOR CO., U.S.A.
FUEL LEVEL SENSOR UNIT (SUB)

Terminal Float position [mm (in)] Resistance value [Ω]
1 2 *1 Full 6 (0.24) Approx. 3
*2 Empty 203 (7.99) Approx. 48
*1 and *2: When float rod is in contact with stopper.