LEMON Manuals: Even more car manuals for everyone: 1960-2025
Home >> Infiniti >> 2008 >> G35 Base >> Repair and Diagnosis >> Brakes >> Brakes Control Systems >> Brake Control System >> VDE / TCS / Abs >> Function Diagnosis >> TCS >> System Diagram
April 5, 2026: LEMON Manuals is launched! Read the announcement.

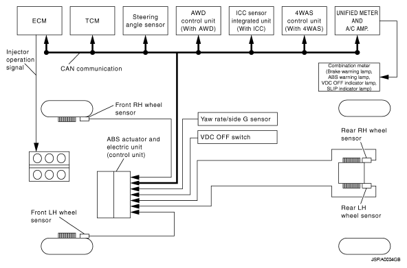
System Diagram

Fig 1: TCS - System Diagram
G05208021Courtesy of NISSAN MOTOR CO., U.S.A.