LEMON Manuals: Even more car manuals for everyone: 1960-2025
Home >> Infiniti >> 2008 >> G35 Base >> Repair and Diagnosis >> Electrical >> Charging Systems >> Function Diagnosis >> Charging System >> System Diagram
April 5, 2026: LEMON Manuals is launched! Read the announcement.

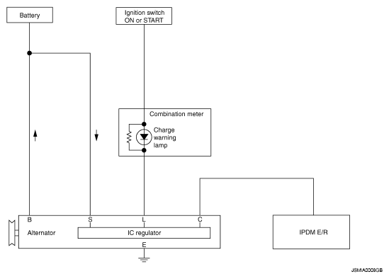
System Diagram

Fig 1: Charging System Diagram - Schematic
G05226757Courtesy of NISSAN MOTOR CO., U.S.A.