LEMON Manuals: Even more car manuals for everyone: 1960-2025
Home >> Infiniti >> 2008 >> G35 Base >> Repair and Diagnosis >> Restraints >> Restraints Control Systems >> Seat Belt Control System >> Function Diagnosis >> Pre-Crash Seat Belt System >> System Diagram
April 5, 2026: LEMON Manuals is launched! Read the announcement.

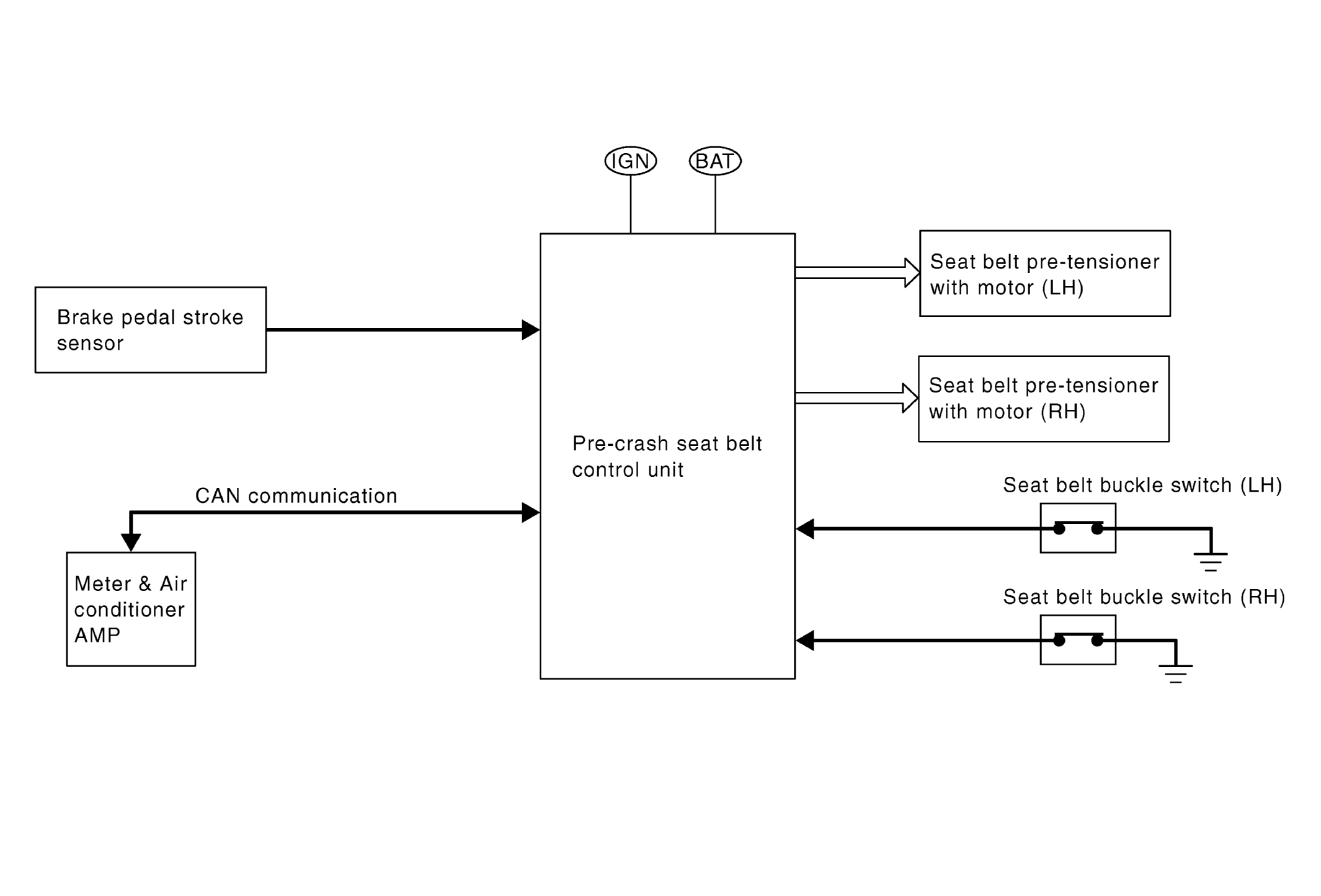
System Diagram

Fig 1: Pre-Crash Seat Belt System Diagram
G05735298Courtesy of NISSAN MOTOR CO., U.S.A.