LEMON Manuals: Even more car manuals for everyone: 1960-2025
Home >> Infiniti >> 2008 >> G35 Base >> Repair and Diagnosis >> Transmission >> Automatic Transmission >> Disassembly And Assembly >> Transmission Assembly >> Disassembly
April 5, 2026: LEMON Manuals is launched! Read the announcement.

Transmission Assembly: Disassembly

CAUTION: Do not disassemble parts behind Drum Support. Refer to , "CROSS-SECTIONAL VIEW ".
  1. Drain ATF through drain plug.
  2. Remove torque converter by holding it firmly and turning while pulling straight out.
    Fig 1: Removing Torque Converter
    G05218726Courtesy of NISSAN MOTOR CO., U.S.A.
  3. Remove tightening bolts ((Bold Arrow) ←) for converter housing and transmission case.
  4. Remove converter housing from transmission case.
    CAUTION: Be careful not to scratch converter housing.
    Fig 2: Identifying Converter Housing And Transmission Case Bolts
    G05218727Courtesy of NISSAN MOTOR CO., U.S.A.
  5. Remove O-ring from input clutch assembly.
    Fig 3: Identifying O-Ring
    G05218728Courtesy of NISSAN MOTOR CO., U.S.A.
  6. Remove tightening bolts for oil pump assembly and transmission case.
    Fig 4: Identifying Oil Pump Assembly Bolts
    G05218729Courtesy of NISSAN MOTOR CO., U.S.A.
  7. Attach the sliding hammers to oil pump assembly and extract it evenly from transmission case.
    CAUTION:
    • Fully tighten the sliding hammer screws.
    • Make sure that bearing race is installed to the oil pump assembly edge surface.
      Fig 5: Attaching Sliding Hammers To Oil Pump Assembly
      G05218730Courtesy of NISSAN MOTOR CO., U.S.A.
  8. Remove O-ring from oil pump assembly.
    Fig 6: Removing O-Ring From Oil Pump Assembly
    G05218731Courtesy of NISSAN MOTOR CO., U.S.A.
  9. Remove bearing race from oil pump assembly.
    Fig 7: Identifying Oil Pump Bearing Race
    G05218732Courtesy of NISSAN MOTOR CO., U.S.A.
  10. Remove needle bearing from front sun gear.
    Fig 8: Identifying Front Sun Gear Needle Bearing
    G05218733Courtesy of NISSAN MOTOR CO., U.S.A.
  11. Remove front sun gear assembly from front carrier assembly.
    NOTE: Remove front sun gear by rotating left/right.
    Fig 9: Removing Front Sun Gear Assembly From Front Carrier Assembly
    G05218734Courtesy of NISSAN MOTOR CO., U.S.A.
  12. Remove seal rings from input clutch assembly.
    Fig 10: Identifying Input Clutch Assembly Seal Rings
    G05218735Courtesy of NISSAN MOTOR CO., U.S.A.
  13. Remove front carrier assembly from rear carrier assembly. (With input clutch assembly and rear internal gear.)
    CAUTION: Be careful to remove it with needle bearing.
    Fig 11: Identifying Front Carrier Assembly
    G05218736Courtesy of NISSAN MOTOR CO., U.S.A.
  14. Loosen lock nut and remove band servo anchor end pin from transmission case.
    Fig 12: Identifying Lock Nut And Band Servo Anchor End Pin
    G05218737Courtesy of NISSAN MOTOR CO., U.S.A.
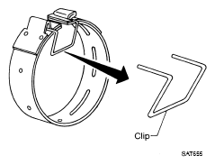
  15. Remove brake band from transmission case.
    Fig 13: Identifying Brake Band
    G05218738Courtesy of NISSAN MOTOR CO., U.S.A.
    • To prevent brake linings from cracking or peeling, do not stretch the flexible band unnecessarily. When removing the brake band, always secure it with a clip as shown in the figure at right  .

      Leave the clip in position after removing the brake band  .

    • Check brake band facing for damage, cracks, wear or burns  .
      Fig 14: Identifying Clip
      G05218739Courtesy of NISSAN MOTOR CO., U.S.A.
  16. Remove mid carrier assembly and rear carrier assembly as a unit.
    Fig 15: Identifying Mid Carrier Assembly
    G05218740Courtesy of NISSAN MOTOR CO., U.S.A.
  17. Remove mid carrier assembly from rear carrier assembly.
    Fig 16: Removing Mid Carrier Assembly From Rear Carrier Assembly
    G05218741Courtesy of NISSAN MOTOR CO., U.S.A.
  18. Remove needle bearing (front side) from mid carrier assembly.
    Fig 17: Removing Needle Bearing (Front Side) From Mid Carrier Assembly
    G05218742Courtesy of NISSAN MOTOR CO., U.S.A.
  19. Remove needle bearing (rear side) from mid carrier assembly.
    Fig 18: Removing Needle Bearing (Rear Side) From Mid Carrier Assembly
    G05218743Courtesy of NISSAN MOTOR CO., U.S.A.
  20. Remove bearing race from rear carrier assembly.
    Fig 19: Removing Bearing Race From Rear Carrier Assembly
    G05218744Courtesy of NISSAN MOTOR CO., U.S.A.
  21. Remove needle bearing from rear carrier assembly.
    Fig 20: Removing Needle Bearing From Rear Carrier Assembly
    G05218745Courtesy of NISSAN MOTOR CO., U.S.A.
  22. Remove mid sun gear assembly, rear sun gear assembly and high and low reverse clutch hub as a unit.
    CAUTION: Be careful to remove then with bearing race and needle bearing.
    Fig 21: Identifying Mid Sun Gear Assembly And Rear Sun Gear Assembly
    G05218746Courtesy of NISSAN MOTOR CO., U.S.A.
  23. Remove high and low reverse clutch assembly from direct clutch assembly.
    CAUTION: Make sure that needle bearing is installed to the high and low reverse clutch assembly edge surface.
    Fig 22: Identifying High And Low Reverse Clutch Assembly
    G05218747Courtesy of NISSAN MOTOR CO., U.S.A.
  24. Remove direct clutch assembly from reverse brake.
    Fig 23: Identifying Direct Clutch Assembly
    G05218748Courtesy of NISSAN MOTOR CO., U.S.A.
  25. Remove needle bearing from drum support.
    Fig 24: Identifying Needle Bearing And Drum Support
    G05218749Courtesy of NISSAN MOTOR CO., U.S.A.
  26. Remove snap ring (1) from A/T assembly harness connector (A).
    Fig 25: Removing Snap Ring From A/T Assembly Harness Connector
    G05218750Courtesy of NISSAN MOTOR CO., U.S.A.
  27. Push A/T assembly harness connector (A).
    CAUTION: Be careful not to damage connector.
    Fig 26: Pushing A/T Assembly Harness Connector
    G05218751Courtesy of NISSAN MOTOR CO., U.S.A.
  28. Remove clips (1).

    3 : Drain plug

    ← : Front

    (Bold Arrow) ← : Oil pan mounting bolt

  29. Remove oil pan (2) and oil pan gasket.
    Fig 27: Locating Oil Pan Mounting Bolts
    G05218752Courtesy of NISSAN MOTOR CO., U.S.A.
  30. Remove magnets (1) from oil pan.
    Fig 28: Identifying Magnets
    G05218753Courtesy of NISSAN MOTOR CO., U.S.A.
  31. Disconnect A/T fluid temperature sensor 2 connector (A).
    CAUTION: Be careful not to damage connector.
  32. Disengage terminal clips ((Bold Arrow) ←).
    Fig 29: Identifying A/T Fluid Temperature Sensor 2 Connector
    G05218754Courtesy of NISSAN MOTOR CO., U.S.A.
  33. Disconnect revolution sensor connector (A).
    CAUTION: Be careful not to damage connector.
  34. Disengage terminal clip ((Bold Arrow) ←).
    Fig 30: Identifying Revolution Sensor Connector
    G05218755Courtesy of NISSAN MOTOR CO., U.S.A.
  35. Remove bolts A, B and C from control valve with TCM.

    ← : Front

    BOLTS SYMBOL AND LENGTH SPECIFICATION

    Bolt symbol Length mm (in) Number of bolts
    A 42 (1.65) 5
    B 55 (2.17) 6
    C 40 (1.57) 1
    Fig 31: Identifying Control Valve Bolts
    G05218756Courtesy of NISSAN MOTOR CO., U.S.A.
  36. Remove control valve with TCM from transmission case.
    CAUTION: When removing, be careful with the manual valve notch and manual plate height. Remove it vertically.
    Fig 32: Removing Control Valve With TCM From Transmission Case
    G05218757Courtesy of NISSAN MOTOR CO., U.S.A.
  37. Remove A/T fluid temperature sensor 2 (1) with bracket (2) from control valve with TCM.

    (Bold Arrow) ← : Bolt

    Fig 33: Identifying A/T Fluid Temperature Sensor 2 And Bracket
    G05218758Courtesy of NISSAN MOTOR CO., U.S.A.
  38. Remove bracket (1) from A/T fluid temperature sensor 2 (2).
    Fig 34: Removing Bracket From A/T Fluid Temperature Sensor 2
    G05218759Courtesy of NISSAN MOTOR CO., U.S.A.
  39. Remove O-ring (1) from A/T assembly harness connector (A).
    Fig 35: Identifying O-Ring And A/T Assembly Harness Connector
    G05218760Courtesy of NISSAN MOTOR CO., U.S.A.
  40. Disconnect TCM connectors (A) and (B).
    CAUTION: Be careful not to damage connectors.
    Fig 36: Identifying TCM Connectors
    G05218761Courtesy of NISSAN MOTOR CO., U.S.A.
  41. Remove A/T assembly harness connector (A) from control valve with TCM using a flat-bladed screwdriver (B).
    Fig 37: Removing A/T Assembly Harness Connector From Control Valve
    G05218762Courtesy of NISSAN MOTOR CO., U.S.A.
  42. Disconnect TCM connector (A) and park/neutral position switch connector (B).
    CAUTION: Be careful not to damage connectors.
    Fig 38: Identifying TCM Connector And Park/Neutral Position Switch Connector
    G05218763Courtesy of NISSAN MOTOR CO., U.S.A.
  43. Remove rear extension assembly (2WD) or adapter case assembly (AWD) according to the following procedures.
    1. 2WD 
      1. Remove tightening bolts for rear extension assembly and transmission case.
        Fig 39: Identifying Rear Extension Assembly And Transmission Case Bolts
        G05218764Courtesy of NISSAN MOTOR CO., U.S.A.
      2. Tap rear extension assembly with a soft hammer.
        Fig 40: Tapping Rear Extension Assembly With Soft Hammer
        G05218765Courtesy of NISSAN MOTOR CO., U.S.A.
      3. Remove rear extension assembly from transmission case. (With needle bearing).
        Fig 41: Removing Rear Extension Assembly From Transmission Case
        G05218766Courtesy of NISSAN MOTOR CO., U.S.A.
      4. Remove bearing race from output shaft.
        Fig 42: Removing Bearing Race From Output Shaft
        G05218767Courtesy of NISSAN MOTOR CO., U.S.A.
      5. Remove output shaft from transmission case by rotating left/right.
        Fig 43: Removing Output Shaft From Transmission Case
        G05218768Courtesy of NISSAN MOTOR CO., U.S.A.
      6. Remove parking gear (1) from output shaft (2).
        Fig 44: Removing Parking Gear From Output Shaft
        G05218769Courtesy of NISSAN MOTOR CO., U.S.A.
      7. Remove seal rings (1) from output shaft.
        Fig 45: Identifying Output Shaft Seal Rings
        G05218770Courtesy of NISSAN MOTOR CO., U.S.A.
    2. AWD 
      1. Remove tightening bolts (1) for adapter case assembly and transmission case. [With bracket (2).]

        3 : Self-sealing bolt

        (Bold Arrow) ← : Bolt

        Fig 46: Identifying Adapter Case Assembly And Transmission Case Bolts
        G05218771Courtesy of NISSAN MOTOR CO., U.S.A.
      2. Tap adapter case assembly with a soft hammer.
        Fig 47: Tapping Adapter Case Assembly With Soft Hammer
        G05218772Courtesy of NISSAN MOTOR CO., U.S.A.
      3. Remove adapter case assembly from transmission case. (With needle bearing)
        Fig 48: Removing Adapter Case Assembly From Transmission Case
        G05218773Courtesy of NISSAN MOTOR CO., U.S.A.
      4. Remove gasket from transmission case.
        Fig 49: Removing Gasket From Transmission Case
        G05218774Courtesy of NISSAN MOTOR CO., U.S.A.
      5. Remove bearing race from output shaft.
        Fig 50: Removing Bearing Race From Output Shaft
        G05218775Courtesy of NISSAN MOTOR CO., U.S.A.
      6. Remove output shaft from transmission case by rotating left/right.
        Fig 51: Removing Output Shaft From Transmission Case
        G05218776Courtesy of NISSAN MOTOR CO., U.S.A.
      7. Remove parking gear (1) from output shaft (2).
        Fig 52: Removing Parking Gear From Output Shaft
        G05218777Courtesy of NISSAN MOTOR CO., U.S.A.
      8. Remove seal rings (1) from output shaft.
        Fig 53: Identifying Output Shaft Seal Rings
        G05218778Courtesy of NISSAN MOTOR CO., U.S.A.
  44. Remove needle bearing from transmission case.
    Fig 54: Identifying Needle Bearing
    G05218779Courtesy of NISSAN MOTOR CO., U.S.A.
  45. Remove revolution sensor from transmission case.
    CAUTION:
    • Do not subject it to impact by dropping or hitting it.
    • Do not disassemble.
    • Do not allow metal filings, etc. to get on the sensor's front edge magnetic area.
    • Do not place in an area affected by magnetism.
      Fig 55: Locating Revolution Sensor Bolt
      G05218780Courtesy of NISSAN MOTOR CO., U.S.A.
  46. Remove reverse brake snap ring (fixing plate) using 2 flat-bladed screwdrivers.
    NOTE: Press out snap ring from the transmission case oil pan side gap using a flat-bladed screwdriver, and remove it using a another screwdriver.
  47. Remove reverse brake retaining plate from transmission case.
    • Check facing for burns, cracks or damage. If necessary, replace the plate  .
      Fig 56: Removing Reverse Brake Snap Ring
      G05218781Courtesy of NISSAN MOTOR CO., U.S.A.
  48. Remove N-spring from transmission case.
    Fig 57: Identifying N-Spring, Drive Plate And Transmission Case
    G05218782Courtesy of NISSAN MOTOR CO., U.S.A.
  49. Remove reverse brake drive plates, driven plates, dish plates and retaining plate transmission case.
    • Check facing for burns, cracks or damage. If necessary, replace the plate  .
      Fig 58: Removing Reverse Brake Drive Plates, Driven Plates, Dish Plates And Retaining Plate
      G05218783Courtesy of NISSAN MOTOR CO., U.S.A.
  50. Remove snap ring (fixing spring retainer) using a flat-bladed screwdriver.
    Fig 59: Identifying Snap Ring
    G05218784Courtesy of NISSAN MOTOR CO., U.S.A.
  51. Remove spring retainer and return spring from transmission case.
    Fig 60: Identifying Spring Retainer
    G05218785Courtesy of NISSAN MOTOR CO., U.S.A.
  52. Remove seal rings from drum support.
    Fig 61: Identifying Seal Rings
    G05218786Courtesy of NISSAN MOTOR CO., U.S.A.
  53. Remove needle bearing from drum support edge surface.
    Fig 62: Identifying Needle Bearing
    G05218787Courtesy of NISSAN MOTOR CO., U.S.A.
  54. Remove reverse brake piston from transmission case with compressed air. Refer to , "OIL CHANNEL ".
    CAUTION: Care should be taken not to abruptly blow air. It makes pistons incline, as the result, it becomes hard to disassemble the pistons.
    Fig 63: Removing Reverse Brake Piston From Transmission Case
    G04876074Courtesy of NISSAN MOTOR CO., U.S.A.
  55. Remove D-rings from reverse brake piston.
    Fig 64: Identifying Reverse Brake Piston D-Rings
    G04876075Courtesy of NISSAN MOTOR CO., U.S.A.
  56. Use a pin punch [4 mm (0.16 in) dia. commercial service tool] to knock out retaining pin.
    Fig 65: Identifying Retaining Pin, Manual Plate And Manual Shaft
    G04876076Courtesy of NISSAN MOTOR CO., U.S.A.
  57. Remove manual shaft retaining pin with pair of nippers.
    Fig 66: Removing Manual Shaft Retaining Pin With Pair Of Nippers
    G04876077Courtesy of NISSAN MOTOR CO., U.S.A.
  58. Remove manual plate (with parking rod) from manual shaft.
    Fig 67: Removing Manual Plate (With Parking Rod) From Manual Shaft
    G04876078Courtesy of NISSAN MOTOR CO., U.S.A.
  59. Remove parking rod from manual plate.
    Fig 68: Removing Parking Rod From Manual Plate
    G04876153Courtesy of NISSAN MOTOR CO., U.S.A.
  60. Remove manual shaft from transmission case.
    Fig 69: Removing Manual Shaft From Transmission Case
    G04876080Courtesy of NISSAN MOTOR CO., U.S.A.
  61. Remove manual shaft oil seals using a flat-bladed screwdriver.
    CAUTION: Be careful not to scratch transmission case.
    Fig 70: Removing Manual Shaft Oil Seals
    G04876081Courtesy of NISSAN MOTOR CO., U.S.A.
  62. Remove detent spring and spacer from transmission case.
    Fig 71: Identifying Detent Spring And Spacer
    G04876082Courtesy of NISSAN MOTOR CO., U.S.A.
  63. Using pair of snap ring pliers, remove snap ring from transmission case.
    Fig 72: Removing Snap Ring From Transmission Case
    G04876083Courtesy of NISSAN MOTOR CO., U.S.A.
  64. Remove servo assembly (with return spring) from transmission case.
    Fig 73: Removing Servo Assembly (With Return Spring) From Transmission Case
    G04876084Courtesy of NISSAN MOTOR CO., U.S.A.
  65. Remove return spring from servo assembly.
    Fig 74: Removing Return Spring From Servo Assembly
    G04876085Courtesy of NISSAN MOTOR CO., U.S.A.
  66. Remove O-rings from servo assembly.
    Fig 75: Removing O-Rings From Servo Assembly
    G04876086Courtesy of NISSAN MOTOR CO., U.S.A.
  67. Remove needle bearing (1) from rear extension (2WD) or adapter case (AWD).
    Fig 76: Identifying Rear Extension Needle Bearing
    G04875973Courtesy of NISSAN MOTOR CO., U.S.A.
  68. Remove parking actuator support from rear extension (2WD) or adapter case (AWD).
    Fig 77: Removing Parking Actuator Support
    G04875963Courtesy of NISSAN MOTOR CO., U.S.A.
  69. Remove parking pawl (with return spring) and pawl shaft from rear extension (2WD) or adapter case (AWD).
    Fig 78: Removing Parking Pawl And Pawl Shaft
    G04875964Courtesy of NISSAN MOTOR CO., U.S.A.
  70. Remove return spring (1) from parking pawl (2).
    Fig 79: Identifying Parking Pawl Return Spring
    G04875965Courtesy of NISSAN MOTOR CO., U.S.A.
  71. Remove rear oil seal from rear extension (2WD) or adapter case (AWD).
    CAUTION: Be careful not to scratch rear extension (2WD) or adapter case (AWD).
    Fig 80: Removing Rear Oil Seal
    G05218345Courtesy of NISSAN MOTOR CO., U.S.A.