LEMON Manuals: Even more car manuals for everyone: 1960-2025
Home >> Infiniti >> 2008 >> G35 x >> Repair and Diagnosis (Single Page) >> Accessories & Equipment >> Infotainment >> Audio, Visual & Navigation System >> Base Audio With Navigation >> Function Diagnosis >> Audio System >> System Diagram
April 5, 2026: LEMON Manuals is launched! Read the announcement.

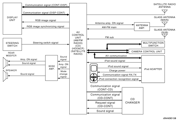
System Diagram

Fig 1: Audio System Diagram
G05724233Courtesy of NISSAN MOTOR CO., U.S.A.