LEMON Manuals: Even more car manuals for everyone: 1960-2025
Home >> Infiniti >> 2008 >> G37 Base >> Repair and Diagnosis >> Brakes >> Traction Control >> Brake Control System >> Function Diagnosis >> Abs >> System Diagram
April 5, 2026: LEMON Manuals is launched! Read the announcement.

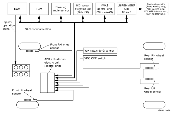
System Diagram

Fig 1: ABS - System Diagram
G05735101Courtesy of NISSAN MOTOR CO., U.S.A.