LEMON Manuals: Even more car manuals for everyone: 1960-2025
Home >> Infiniti >> 2008 >> G37 Base >> Repair and Diagnosis >> Engine Mechanical >> Engine Mechanical >> Disassembly And Assembly >> Cylinder Block >> Disassembly and Assembly >> Assembly
April 5, 2026: LEMON Manuals is launched! Read the announcement.

Disassembly and Assembly: Assembly

  1. Fully air-blow engine coolant and engine oil passages in cylinder block, cylinder bore and crankcase to remove any foreign material.
    CAUTION: Use goggles to protect your eyes.
  2. Install each plug to cylinder block as shown in the figure.
    Fig 1: Identifying Cylinder Block And Drain Plug
    G05733013Courtesy of NISSAN MOTOR CO., U.S.A.
    TIGHTEN TORQUE SPECIFICATION

    Part Washer Tightening torque
    1 No 19.6 N.m (2.0 kg-m, 14 ft-lb)
    3 Yes 78.0 N.m (8.0 kg-m, 58 ft-lb)
    4 Yes 12.3 N.m (1.3 kg-m, 9 ft-lb)
  3. Install oil jet.
    • Insert oil jet dowel pin (A) into cylinder block dowel pin hole, and tighten mounting bolts.
    Fig 2: Identifying Oil Jet Dowel Pin And Cylinder Block Dowel Pin Hole
    G05733014Courtesy of NISSAN MOTOR CO., U.S.A.
  4. Install main bearings and thrust bearings as follows:
    CAUTION: Be careful not to drop main bearing, and to scratch the surface.
    1. Remove dust, dirt, and engine oil on bearing mating surfaces of cylinder block and lower cylinder block.
    2. Install thrust bearings (1) to both sides of the No. 3 journal housing on cylinder block.
      Fig 3: Identifying Thrust Bearings
      G05733015Courtesy of NISSAN MOTOR CO., U.S.A.
      • Install thrust bearings with the oil groove (E) facing crankshaft arm (outside).
    3. Install main bearings paying attention to the direction.
    Fig 4: Identifying Thrust Bearings With Oil Groove
    G05733016Courtesy of NISSAN MOTOR CO., U.S.A.
    • Main bearing with oil hole (B) and groove (C) goes on cylinder block. The one without them goes on lower cylinder block.
    • Before installing main bearings, apply engine oil to the bearing surface (inside). Do not apply engine oil to the back surface, but thoroughly clean it.
    • When installing, align main bearing stopper protrusion to cutout of cylinder block and lower cylinder block.
    • Ensure the oil holes on cylinder block and those on the corresponding bearing are aligned.
  5. Install crankshaft to cylinder block.
    • While turning crankshaft by hand, check that it turns smoothly.
  6. Install lower cylinder block.
    NOTE: Lower cylinder block cannot be replaced as a single part, because it is machined together with cylinder block.
    • Apply a continuous bead of liquid gasket with the tube presser (commercial service tool) to lower cylinder block as shown in the figure.
    Fig 5: Identifying Lower Cylinder Block Gasket Area
    G05733017Courtesy of NISSAN MOTOR CO., U.S.A.

    Use Genuine RTV Silicone Sealant or equivalent. Refer to  "RECOMMENDED CHEMICAL PRODUCTS AND SEALANTS ".

  7. Inspect the outer diameter of lower cylinder block bolt. Refer to "INSPECTION ".
  8. Install lower cylinder block bolts in numerical order as shown in the figure as follows:
    1. Apply new engine oil to threads and seat surfaces of lower cylinder block bolts.
    2. Tighten bolts (No. 17 to 26) in numerical order as shown in the figure.
      Fig 6: Identifying Cylinder Block Bolt Tighten Sequence
      G05733018Courtesy of NISSAN MOTOR CO., U.S.A.

      : 25.0 N.m (2.6 kg-m, 18 ft-lb) 

    3. Repeat step b.
    4. Tighten bolts (No. 1 to 16) in numerical order as shown in the figure.
      NOTE: Use TORX socket for bolts No.1 to 16.

      : 35.3 N.m (3.6 kg-m, 26 ft-lb) 

    5. Turn bolts (No. 1 to 16) 90 degrees clockwise (angle tightening).
    CAUTION: Use the angle wrench [SST: KV10112100 (BT8653-A)] (A) to check tightening angle. Never make judgment by visual inspection.
    Fig 7: Tightening Cylinder Block Bolts
    G05207399Courtesy of NISSAN MOTOR CO., U.S.A.
    • After installing lower cylinder block bolts, check that crankshaft can be rotated smoothly by hand.
    • Check the crankshaft end play. Refer to "INSPECTION ".
  9. Install piston to connecting rod as follows:
    1. Using snap ring pliers, install new snap ring to the groove of piston rear side.
      • Insert it fully into groove to install.
    2. Install piston to connecting rod.
      • Using an industrial use dryer or similar tool, heat piston until piston pin can be pushed in by hand without excess force [approximately 60 to 70°C (140 to 158°F)]. From the front to the rear, insert piston pin into piston and connecting rod.
      • Assemble so that the front mark on the piston head and the cylinder number on connecting rod are positioned as shown in the figure.
      Fig 8: Identifying Cylinder Number On Connecting Rod
      G05733020Courtesy of NISSAN MOTOR CO., U.S.A.
    3. Install new snap ring to the groove of the piston front side.
      • Insert it fully into groove to install.
      • After installing, check that connecting rod moves smoothly.
  10. Using a piston ring expander (commercial service tool) (A), install piston rings.
    CAUTION:
    • When installing piston rings, be careful not to damage piston.
    • Be careful not to damage piston rings by expending them excessively.
    Fig 9: Installing Piston Rings
    G05207387Courtesy of NISSAN MOTOR CO., U.S.A.
    • If there is stamped mark on ring, mount it with marked side up.

      Stamped mark: 

      Top ring (A) : 1 N 

      Second ring (B) : 2 N 

      Fig 10: Identifying Stamped Mark On Ring
      G05733022Courtesy of NISSAN MOTOR CO., U.S.A.
    • Position each ring with the gap as shown in the figure referring to the piston front mark (D).
    Fig 11: Identifying Piston Front Mark
    G05733023Courtesy of NISSAN MOTOR CO., U.S.A.
    • Check the piston ring side clearance. Refer to "INSPECTION ".
  11. Install connecting rod bearings to connecting rod and connecting rod bearing cap.
    CAUTION: Be careful not to drop connecting rod bearing, and to scratch the surface.
    • Before installing connecting rod bearings, apply engine oil to the bearing surface (inside). Do not apply engine oil to the back surface, but thoroughly clean it.
    • When installing, align connecting rod bearing stopper protrusion (B) with cutout (C) of connecting rods and connecting rod bearing caps to install.
    • Ensure the oil hole (A) on connecting rod and that on the corresponding bearing are aligned.
    Fig 12: Aligning Connecting Rod Bearing Stopper Protrusion
    G05207404Courtesy of NISSAN MOTOR CO., U.S.A.
  12. Install piston and connecting rod assembly to crankshaft.
    • Position crankshaft pin corresponding to connecting rod to be installed onto the bottom dead center.
    • Apply engine oil sufficiently to the cylinder bore, piston and crankshaft pin journal.
    • Match the cylinder position with the cylinder number on connecting rod to install.
    • Be sure that front mark on piston crown is facing the front of the engine.
    • Using a piston ring compressor [SST: EM03470000 (J8037)] (A) or suitable tool, install piston with the front mark on the piston crown facing the front of the engine.
    CAUTION: Be careful not to damage the cylinder wall and crankshaft pin, resulting from an interference of the connecting rod big end.
    Fig 13: Installing Piston And Connecting Rod Assembly
    G05207405Courtesy of NISSAN MOTOR CO., U.S.A.
  13. Install connecting rod bearing cap.
    • Match the stamped cylinder number marks on connecting rod with those on connecting rod bearing cap to install.
      Fig 14: Identifying Marks On Connecting Rod With Connecting Rod Bearing Cap
      G05733026Courtesy of NISSAN MOTOR CO., U.S.A.
    • Be sure that front mark (H) on connecting rod bearing cap is facing the front of the engine.
  14. Tighten connecting rod bolt as follows:
    1. Inspect the outer diameter of connecting rod bolt. Refer to "INSPECTION ".
    2. Apply engine oil to the threads and seats of connecting rod bolts.
    3. Tighten connecting rod bolts.

      : 28.4 N.m (2.9 kg-m, 21 ft-lb) 

    4. Completely loosen connecting rod bolts.

      : 0 N.m (0 kg-m, 0 ft-lb) 

    5. Tighten connecting rod bolts.

      : 24.5 N.m (2.5 kg-m, 18 ft-lb) 

    6. Then turn connecting rod bolts 90 degrees clockwise (angle tightening).
    CAUTION: Always use the angle wrench [SST: KV10112100 (BT8653-A)] (A). Never make judgment by visual inspection.
    • After tightening connecting rod bolts, check that crankshaft rotates smoothly.
    • Check the connecting rod side clearance. Refer to "INSPECTION ".
    Fig 15: Tightening Connecting Rod Bolts
    G05207407Courtesy of NISSAN MOTOR CO., U.S.A.
  15. Install baffle plate.
  16. Install new rear oil seal. Refer to "REAR OIL SEAL : REMOVAL AND INSTALLATION ".
    • Apply new engine oil to both oil seal lip and dust seal lip.
  17. Install pilot converter (A/T models) or pilot bushing (M/T models).
    • With a drift of the following outer diameter, press-fit as far as it will go.

      Pilot bushing : Approx. 17 mm (0.67 in) 

      Pilot converter : Approx. 33 mm (1.30 in) 

      Fig 16: Installing Pilot Converter Or Pilot Bushing
      G04878478Courtesy of NISSAN MOTOR CO., U.S.A.
    • Press-fit pilot converter with its chamfer facing crankshaft as shown in the figure. (A/T models)
      Fig 17: Pressing Pilot Converter
      G05733029Courtesy of NISSAN MOTOR CO., U.S.A.
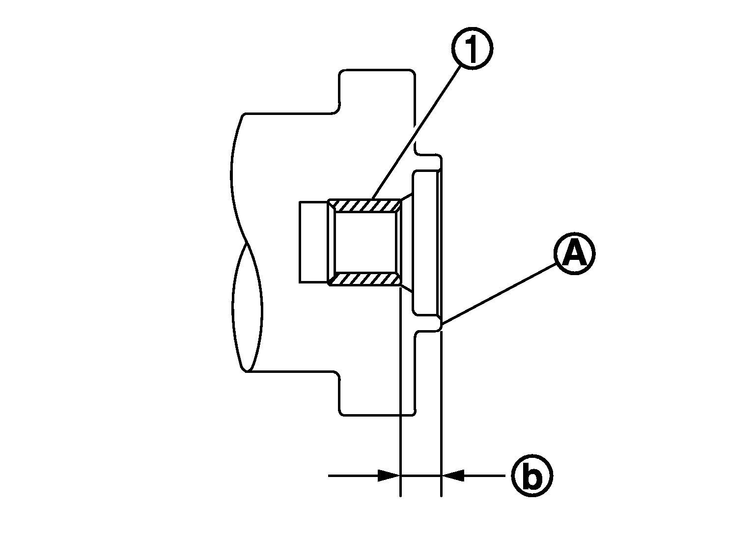
    • Press-fit pilot bushing (1) as the dimension shown in the figure. (M/T models)

      A : Crankshaft (rear end surface) 

      b : 10.20 - 10.85 mm (0.402 - 0.427 in) 

      [Target: 10.20 mm (0.402 in)] 

    Fig 18: Pressing Pilot Bushing
    G05207410Courtesy of NISSAN MOTOR CO., U.S.A.
  18. Install knock sensors.
    Fig 19: Installing Knock Sensors
    G05733031Courtesy of NISSAN MOTOR CO., U.S.A.
    • Install knock sensor so that connector faces the rear of the engine.
    • After installing knock sensor, connect harness connector, and lay it out to rear of the engine.
    CAUTION:
    • Never tighten mounting bolts while holding connector.
    • If any impact by dropping is applied to knock sensor, replace it with new one.
    NOTE:
    • Check that there is no foreign material on the cylinder block mating surface and the back surface of knock sensor.
    • Check that knock sensor does not interfere with other parts.
  19. Note the following, assemble in the reverse order of disassembly after this step.

    Flywheel  (M/T models)

    • Ensure the dowel pin (1) is installed in the crankshaft.
    Fig 20: Identifying Rear Oil Seal, Flywheel And Crankshaft
    G05733032Courtesy of NISSAN MOTOR CO., U.S.A.
  20. When installing flywheel (3) to crankshaft (2), be sure to correctly align crankshaft side dowel pin and flywheel side dowel pin hole (A).
  21. There is a matching mark (B) on the clutch cover side of flywheel (4). Refer it during installation.
Fig 21: Identifying Matching Mark On Flywheel
G05733033Courtesy of NISSAN MOTOR CO., U.S.A.

Drive plate  (A/T models)